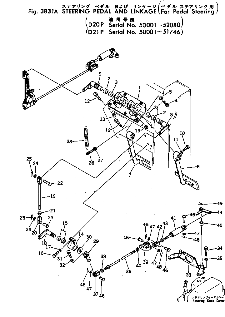
Запчасти Komatsu D20P-5A РУЛЕВ. УПРАВЛЕНИЕ ПЕДАЛЬ И МЕХАНИЗМ (ДЛЯ ПЕДАЛЬ РУЛЕВ. УПРАВЛЕНИЕ)(№-8) ОПЦИОННЫЕ КОМПОНЕНТЫ

Схема запчастей Komatsu D20P-5A - РУЛЕВ. УПРАВЛЕНИЕ ПЕДАЛЬ И МЕХАНИЗМ (ДЛЯ ПЕДАЛЬ РУЛЕВ. УПРАВЛЕНИЕ)(№-8) ОПЦИОННЫЕ КОМПОНЕНТЫ
FIT
1:1
100%

Артикул

Название

Примечание

Количество

|$0

103-43-00010

BRACKET ASS'Y

SN: 50001-@

1шт.

1

0

BRACKET

SN: 50001-@

1шт.

2

09350-03020

BUSHING

SN: 50001-@

2шт.

3

09350-02520

BUSHING

SN: 50001-@

2шт.

4

01010-31030

BOLT

SN: 45003-@

2шт.

5

01602-01030

WASHER,SPRING

SN: 45003-@

2шт.

6

103-43-21121

PEDAL,L.H.

SN: 50001-@

1шт.

7

103-43-21131

PEDAL,R.H.

SN: 50001-@

1шт.

8

103-43-21141

LEVER,L.H.

SN: 50001-@

1шт.

9

103-43-21151

LEVER,R.H.

SN: 50001-@

1шт.

10

01010-31030

BOLT

SN: 50001-@

2шт.

11

01602-01030

WASHER,SPRING

SN: 50001-@

2шт.

12

113-43-21340

BUMPER

SN: 45003-@

2шт.

13

01580-01008

NUT

SN: 45003-@

2шт.

|$14

103-43-00020

BRACKET ASS'Y

SN: 50001-@

2шт.

14

0

BRACKET

SN: 50001-@

1шт.

15

09350-02520

BUSHING

SN: 50001-@

2шт.

16

01010-31020

BOLT

SN: 50001-@

6шт.

17

01602-01030

WASHER,SPRING

SN: 50001-@

6шт.

18

103-43-21190

LEVER

SN: 45003-@

2шт.

19

04244-41030

ROD

SN: 50001-@

2шт.

20

04210-21040

YOKE

SN: 50001-@

2шт.

21

01582-01008

NUT

SN: 50001-@

2шт.

22

103-43-21170

PIN

SN: 50001-@

2шт.

23

04205-01030

PIN

SN: 50001-@

2шт.

24

01641-21016

WASHER

SN: 50001-@

4шт.

25

04050-03015

PIN,COTTER

SN: 50001-@

4шт.

26

103-43-21260

BOLT

SN: 50001-@

2шт.

27

01580-01008

NUT

SN: 50001-@

2шт.

28

113-890-6170

SPRING

SN: 50001-@

2шт.

29

103-43-21210

LEVER

SN: 50001-@

2шт.

30

01640-22032

WASHER

SN: 50001-@

2шт.

31

01010-30830

BOLT

SN: 50001-@

2шт.

32

01602-00825

WASHER,SPRING

SN: 50001-@

2шт.

33

103-43-21251

BRACKET

SN: 45003-52080

1шт.

34

01010-31025

BOLT

SN: 45003-52080

4шт.

35

01602-01030

WASHER,SPRING

SN: 45003-@

4шт.

36

04248-31062

ROD

SN: 50001-@

2шт.

37

04210-21040

YOKE

SN: 50001-@

2шт.

38

01582-01008

NUT

SN: 50001-@

2шт.

39

103-43-21223

YOKE

SN: 50001-@

2шт.

40

01508-11006

NUT, L.H. THREAD,L.H. THREAD

SN: 50001-@

2шт.

41

113-43-21230

SPRING,LOOSE

SN: 45003-52080

2шт.

42

04210-21040

YOKE

SN: 45003-@

2шт.

43

01582-01008

NUT

SN: 45003-@

2шт.

|$45

103-43-00040

LEVER ASS'Y

SN: 45003-52080

2шт.

44

0

LEVER

SN: 45003-52080

1шт.

45

09350-01415

BUSHING

SN: 45003-52080

1шт.

46

04205-01030

PIN

SN: 45003-52080

8шт.

47

01641-21016

WASHER

SN: 45003-52080

8шт.

48

04050-03015

PIN,COTTER

SN: 45003-52080

8шт.

49

04050-04030

PIN,COTTER

SN: 45003-52080

2шт.

Выбрано товаров: 52