Запчасти Komatsu D20P-6 ГУСЕНИЦЫ (СО СЦЕПНЫМ ПАЛЬЦЕМ) (ОДИНОЧН. ГРУНТОЗАЦЕП) ГУСЕНИЦЫ

Схема запчастей Komatsu D20P-6 - ГУСЕНИЦЫ (СО СЦЕПНЫМ ПАЛЬЦЕМ) (ОДИНОЧН. ГРУНТОЗАЦЕП) ГУСЕНИЦЫ
FIT
1:1
100%

Артикул

Название

Примечание

Количество

|$$1

510MM WIDE

-1шт.

|$1

10G-32-01302

TRACK SHOE ASS'Y

SN: 72297-UP

1шт.

|$2

0

TRACK SHOE ASS'Y

SN: 60001-72296

1шт.

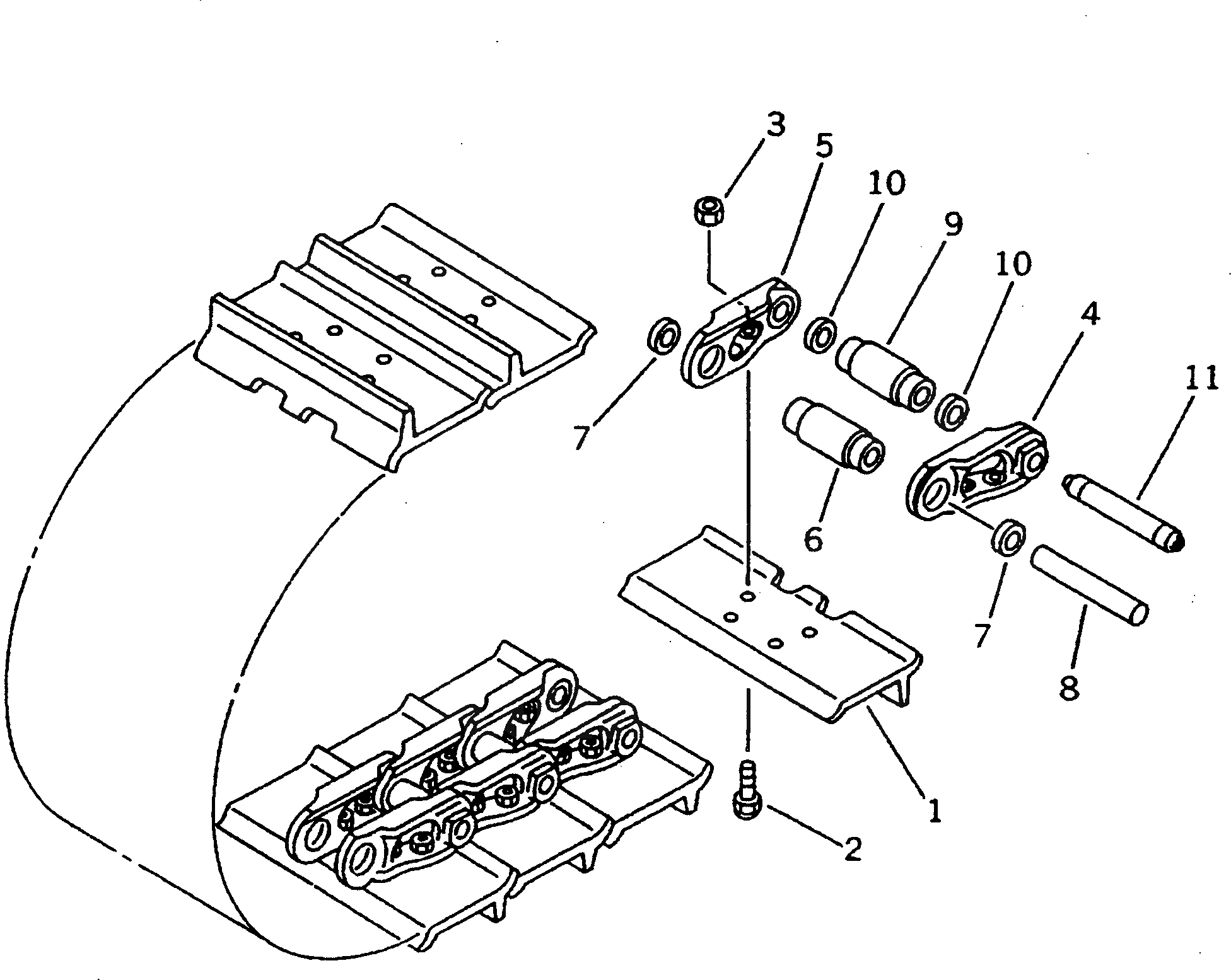
1

10G-32-14110

SHOE,TRACK

SN: 60001-UP

74шт.

2

201-32-11211

BOLT, SHOE (KIT)

SN: 72297-UP

296шт.

2

201-32-11210

BOLT, SHOE (KIT)

SN: 60001-72296

296шт.

3

201-32-11220

NUT, SHOE (KIT)

SN: 72297-UP

296шт.

3

01803-01218

NUT, SHOE (KIT)

SN: 60001-72296

296шт.

|$8

102-32-00032

TRACK LINK ASS'Y

SN: 60001-UP

1шт.

4

101-32-11121

LINK,TRACK, L.H.

SN: 60001-UP

74шт.

5

101-32-11131

LINK,TRACK, R.H.

SN: 60001-UP

74шт.

6

101-32-11144

BUSHING,REGULAR

SN: 60001-UP

72шт.

7

101-32-11271

SEAL,DUST, REGULAR, W-TYPE

SN: 60001-UP

144шт.

8

201-32-11151

PIN,REGULAR

SN: 60001-UP

72шт.

9

101-32-11173

BUSHING,MASTER

SN: 60001-UP

2шт.

10

101-32-11281

SEAL,DUST, MASTER, W-TYPE

SN: 60001-UP

4шт.

11

201-32-11191

PIN,MASTER

SN: 60001-UP

2шт.

|$$18

SERVICE KIT

-1шт.

1

201-32-05001

SHOE BOLT AND NUT K.

SN: 72297-UP

1шт.

1

0

SHOE BOLT AND NUT K.

SN: 60001-72296

1шт.

1

201-32-11211

BOLT, SHOE

SN: 72297-UP

50шт.

1

201-32-11210

BOLT, SHOE

SN: 60001-72296

50шт.

2

201-32-11220

NUT, SHOE

SN: 72297-UP

50шт.

2

01803-01218

NUT, SHOE

SN: 60001-72296

50шт.

|$$25

OVERSIZE PARTS

-1шт.

|$$26

SELECT AS REQUIRED NOT NECESSARY TO USE ALL OF THE OVERSIZE PARTS.

-1шт.

|$$27

0.10MM OVERSIZE

-1шт.

6

101-98-09113

BUSHING,REGULAR

SN: 60001-UP

-2шт.

8

201-98-09011

PIN,REGULAR

SN: 60001-UP

-2шт.

9

101-98-09142

BUSHING,MASTER

SN: 60001-UP

-2шт.

11

201-98-09041

PIN,MASTER

SN: 60001-UP

-2шт.

|$$32

0.18MM OVERSIZE

-1шт.

6

101-98-09133

BUSHING,REGULAR

SN: 60001-UP

-2шт.

8

201-98-09031

PIN,REGULAR

SN: 60001-UP

-2шт.

9

101-98-09162

BUSHING,MASTER

SN: 60001-UP

-2шт.

11

201-98-09061

PIN,MASTER

SN: 60001-UP

-2шт.

Выбрано товаров: 36