Запчасти Komatsu D20P-6 ПОГРУЗ. РАМА И ПОЛ КАБИНЫ (КАБИНА ROPS) ЧАСТИ КОРПУСА

Схема запчастей Komatsu D20P-6 - ПОГРУЗ. РАМА И ПОЛ КАБИНЫ (КАБИНА ROPS) ЧАСТИ КОРПУСА
FIT
1:1
100%

Артикул

Название

Примечание

Количество

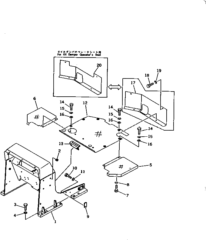
1

10G-54-29111

FRAME,LOADER

SN: 63637-UP

1шт.

1

10G-54-29110

FRAME,LOADER

SN: 60001-63636

1шт.

2

07049-01418

PLUG

SN: 60001-UP

8шт.

3

01010-51655

BOLT

SN: 60001-UP

12шт.

4

01643-31645

WASHER

SN: 60001-UP

12шт.

5

103-54-33120

FENDER,L.H.

SN: 60001-UP

1шт.

6

103-54-33130

FENDER,R.H.

SN: 60001-UP

1шт.

7

01010-51025

BOLT

SN: 60001-UP

4шт.

8

01602-21030

WASHER,SPRING

SN: 60001-UP

4шт.

9

103-54-23160

PLATE

SN: 60001-UP

2шт.

10

01010-51030

BOLT

SN: 60001-UP

2шт.

11

01643-31032

WASHER

SN: 60001-UP

2шт.

12

102-54-59110

PLATE,FLOOR

SN: 60001-UP

1шт.

13

103-54-33210

BRACKET

SN: 60001-UP

1шт.

14

01010-51025

BOLT

SN: 60001-UP

6шт.

15

01602-21030

WASHER,SPRING

SN: 60001-UP

6шт.

16

01643-31032

WASHER

SN: 60001-UP

6шт.

17

103-54-34130

COVER

SN: 60001-UP

1шт.

18

01010-51025

BOLT

SN: 60001-UP

2шт.

19

01602-21030

WASHER,SPRING

SN: 60001-UP

2шт.

20

103-54-34210

COVER,(FOR OIL DAMPER SEAT)

SN: 60001-UP

1шт.

Выбрано товаров: 21