Запчасти Komatsu D20P-6 ГИДРОЦИЛИНДР ПОДЪЕМА УПРАВЛ-Е РАБОЧИМ ОБОРУДОВАНИЕМ

Схема запчастей Komatsu D20P-6 - ГИДРОЦИЛИНДР ПОДЪЕМА УПРАВЛ-Е РАБОЧИМ ОБОРУДОВАНИЕМ
FIT
1:1
100%

Артикул

Название

Примечание

Количество

G-1

0

CYLINDER GROUP,L.H.

SN: 60001-UP

1шт.

G-1

0

CYLINDER GROUP,R.H.

SN: 60001-UP

1шт.

|$$3

====================

-1шт.

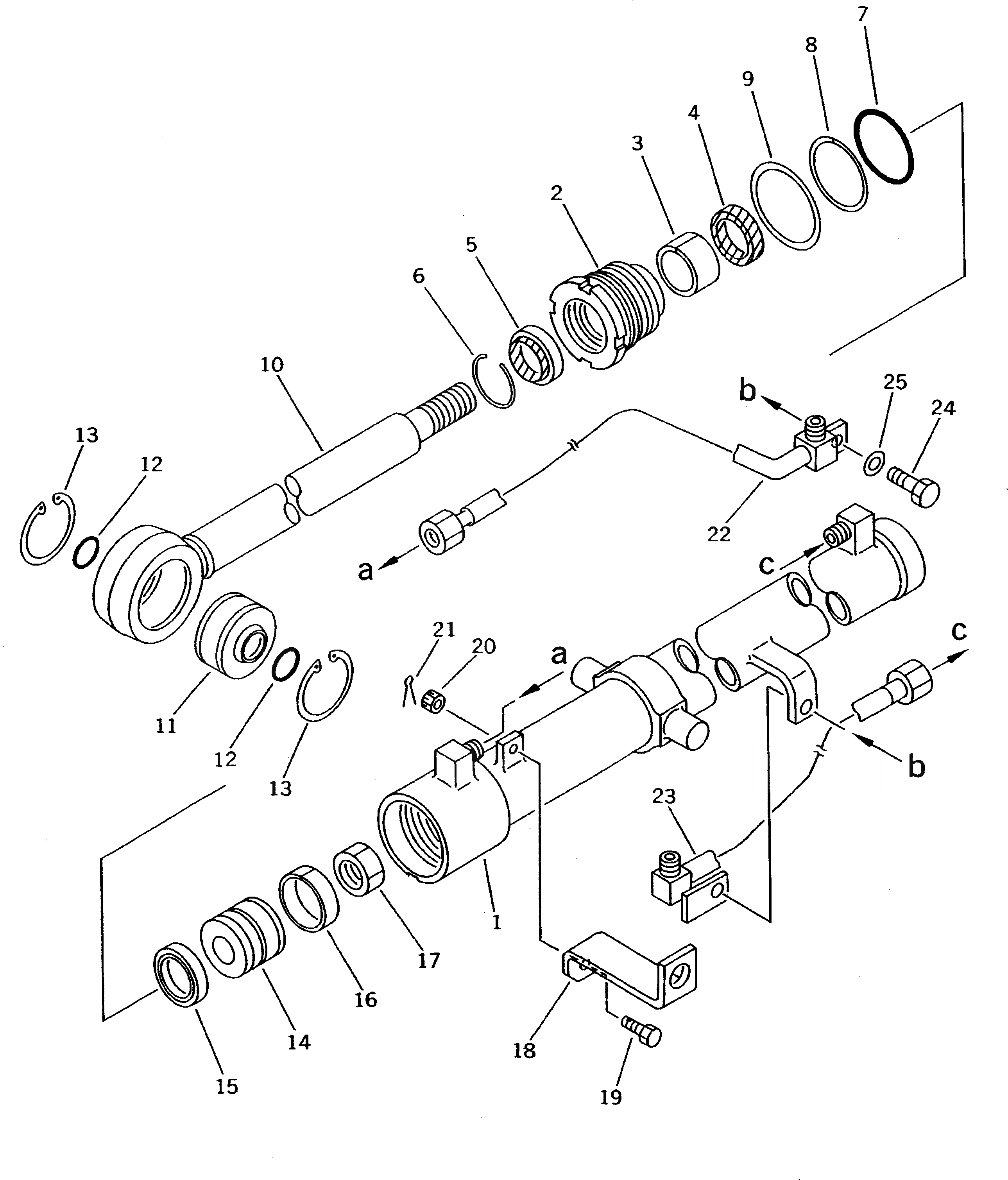
|1

10G-63-02010

CYLINDER ASS'Y,L.H.

SN: 60001-UP

1шт.

|1

10G-63-02020

CYLINDER ASS'Y,R.H.

SN: 60001-UP

1шт.

1

10G-63-13541

CYLINDER,L.H.

SN: 60001-UP

1шт.

|1

10G-63-13641

CYLINDER,R.H.

SN: 60001-UP

1шт.

2

707-29-50190

HEAD,CYLINDER

SN: 60001-UP

1шт.

3

07177-03525

BUSHING

SN: 60001-UP

1шт.

4

707-51-35210

PACKING,ROD

SN: 60001-UP

1шт.

5

175-63-75190

SEAL,DUST

SN: 60001-UP

1шт.

6

07179-00054

RING,SNAP

SN: 60001-UP

1шт.

7

07000-12060

O-RING

SN: 60001-UP

1шт.

8

07001-02060

RING,BACK-UP

SN: 60001-UP

1шт.

9

707-45-50010

WASHER,LOCK

SN: 60001-UP

1шт.

10

10G-63-13520

ROD,PISTON

SN: 60001-UP

1шт.

11

07137-02504

BUSHING

SN: 60001-UP

1шт.

12

07000-03025

O-RING

SN: 60001-UP

2шт.

13

04065-06020

RING,SNAP

SN: 60001-UP

2шт.

14

707-36-50540

PISTON

SN: 60001-UP

1шт.

15

07161-10050

RING,PISTON

SN: 60001-UP

1шт.

16

07155-00515

RING,WEAR

SN: 60001-UP

1шт.

17

07165-12426

NUT

SN: 60001-UP

1шт.

18

10G-63-13530

PLATE

SN: 60001-UP

1шт.

19

01012-50825

BOLT

SN: 60001-UP

1шт.

20

01590-30809

NUT

SN: 63764-UP

1шт.

|20

0

NUT

SN: 60001-63763

1шт.

21

04050-12015

PIN,COTTER

SN: 60001-UP

1шт.

22

10G-63-13571

TUBE,L.H.

SN: 60001-UP

1шт.

|22

10G-63-13671

TUBE,R.H.

SN: 60001-UP

1шт.

23

10G-63-13580

TUBE,L.H.

SN: 60001-UP

1шт.

|23

10G-63-13680

TUBE,R.H.

SN: 60001-UP

1шт.

24

01010-51025

BOLT

SN: 60001-UP

1шт.

25

01643-31032

WASHER

SN: 60001-UP

1шт.

|$$35

====================

-1шт.

Выбрано товаров: 35