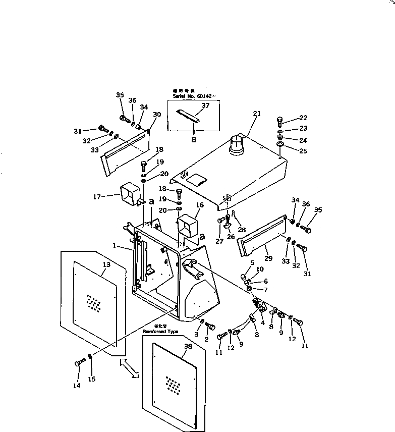
Запчасти Komatsu D20P-6 ЗАЩИТА РАДИАТОРА AND КАПОТ ЧАСТИ КОРПУСА

Схема запчастей Komatsu D20P-6 - ЗАЩИТА РАДИАТОРА AND КАПОТ ЧАСТИ КОРПУСА
FIT
1:1
100%

Артикул

Название

Примечание

Количество

1

10G-54-21110

GUARD,RADIATOR

SN: 60001-UP

1шт.

|1

10G-54-29150

GUARD,RADIATOR (FOR LARGE CAPACITY)

SN: 60001-UP

1шт.

|1

09450-00013

BRACKET,ENGINE HOOD CATCH (WELDED)

SN: 60001-UP

2шт.

2

01010-51845

BOLT

SN: 60001-UP

12шт.

3

01643-31845

WASHER

SN: 60001-UP

12шт.

4

10G-54-21211

SUPPORT

SN: 60001-UP

2шт.

5

10G-54-21230

HOUSING

SN: 60001-UP

8шт.

6

10G-54-21240

BUSHING

SN: 60001-UP

8шт.

7

07145-00025

SEAL,DUST

SN: 60001-UP

8шт.

8

10G-54-21220

CAP

SN: 60001-UP

8шт.

9

07020-00000

FITTING,GREASE

SN: 60001-UP

8шт.

10

144-70-15251

PIN

SN: 60001-UP

8шт.

11

01010-51250

BOLT

SN: 60001-UP

16шт.

12

01602-21236

WASHER,SPRING

SN: 60001-UP

16шт.

13

103-54-31221

GRILLE

SN: 65861-UP

1шт.

|13

103-54-31220

GRILLE

SN: 60001-65860

1шт.

14

01010-51430

BOLT

SN: 60001-UP

4шт.

15

01643-31445

WASHER

SN: 65861-UP

4шт.

|15

01602-21442

WASHER,SPRING

SN: 60001-65860

4шт.

16

104-54-31120

COVER,L.H.

SN: 60001-UP

1шт.

17

104-54-31130

COVER,R.H.

SN: 60001-UP

1шт.

18

01010-51025

BOLT

SN: 60001-UP

4шт.

19

01602-21030

WASHER,SPRING

SN: 60001-UP

4шт.

20

01643-31032

WASHER

SN: 60001-UP

4шт.

21

103-54-31240

HOOD

SN: 60001-UP

1шт.

|21

09450-00001

PLATE,ENGINE HOOD CATCH (WELDED)

SN: 60001-UP

2шт.

22

01010-51025

BOLT

SN: 60001-UP

3шт.

23

01602-21030

WASHER,SPRING

SN: 60001-UP

3шт.

24

113-54-31340

COLLAR

SN: 60001-UP

3шт.

25

113-54-31350

SEAT

SN: 60001-UP

3шт.

26

09450-00000

CATCH

SN: 60001-UP

2шт.

27

09450-00002

PIN

SN: 60001-UP

2шт.

28

04050-11610

PIN,COTTER

SN: 60001-UP

2шт.

29

10G-54-21270

COVER,L.H.

SN: 60001-UP

1шт.

30

10G-54-21280

COVER,R.H.

SN: 60001-UP

1шт.

31

01010-51025

BOLT

SN: 60001-UP

4шт.

32

01602-21030

WASHER,SPRING

SN: 60001-UP

4шт.

33

01643-31032

WASHER

SN: 60001-UP

4шт.

34

10G-54-21290

COLLAR

SN: 60001-UP

2шт.

35

01010-51035

BOLT

SN: 60001-UP

2шт.

36

01602-21030

WASHER,SPRING

SN: 60001-UP

2шт.

37

201-54-22971

SEAT

SN: 60142-UP

2шт.

38

103-54-31231

GRILLE,(REINFORCED TYPE)

SN: 65861-UP

1шт.

|38

103-54-31230

GRILLE,(REINFORCED TYPE)

SN: 60001-65860

1шт.

Выбрано товаров: 44