Запчасти Komatsu D20P-6A ЗАДН. КРЫШКА И ГИДР. БАК.(№-99) ЧАСТИ КОРПУСА

Схема запчастей Komatsu D20P-6A - ЗАДН. КРЫШКА И ГИДР. БАК.(№-99) ЧАСТИ КОРПУСА
FIT
1:1
100%

Артикул

Название

Примечание

Количество

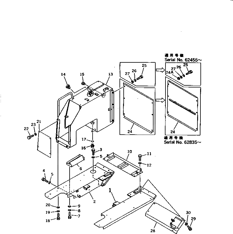
1

103-54-34410

FENDER,L.H.

SN: 60001-63996

1шт.

2

103-54-34420

FENDER,R.H.

SN: 60001-63996

1шт.

3

01010-51435

BOLT

SN: 60001-@

8шт.

4

01010-51440

BOLT

SN: 60001-@

4шт.

5

01602-21442

WASHER,SPRING

SN: 60001-@

12шт.

6

103-54-34440

BOX

SN: 60001-@

1шт.

7

01010-50820

BOLT

SN: 60001-@

3шт.

8

01602-20825

WASHER,SPRING

SN: 60001-@

3шт.

9

01643-30823

WASHER

SN: 60001-@

3шт.

10

103-54-34430

PLATE

SN: 60001-@

1шт.

10

103-54-39510

PLATE,(FOR ADDITIONAL FUEL STRAINER)

SN: 60001-@

1шт.

11

01010-51020

BOLT

SN: 60001-@

4шт.

12

01602-21030

WASHER,SPRING

SN: 60001-@

4шт.

|$13

103-54-00030

HYDRAULIC TANK ASS'Y

SN: 60001-63996

1шт.

13

103-54-34311

CASE

SN: 60001-63996

1шт.

13

01434-10830

BOLT, WING,INSPECTION COVER

SN: 60001-@

1шт.

13

01580-10806

NUT,INSPECTION COVER

SN: 60001-@

1шт.

13

01570-00808

NUT,INSPECTION COVER (WELDED)

SN: 60001-@

1шт.

14

10E-03-11130

CAP

SN: 60001-@

1шт.

15

20N-60-11141

GAUGE,OIL

SN: 60001-@

1шт.

16

07044-12412

PLUG

SN: 60001-@

1шт.

17

07002-02434

O-RING

SN: 60001-@

1шт.

18

01010-51230

BOLT

SN: 60001-63996

4шт.

19

01602-21236

WASHER,SPRING

SN: 60001-@

4шт.

20

01643-31232

WASHER

SN: 60001-@

4шт.

21

103-54-34320

PLATE

SN: 60001-@

1шт.

22

01010-51020

BOLT

SN: 60001-@

4шт.

23

01643-31032

WASHER

SN: 60001-@

4шт.

24

103-54-34141

COVER

SN: 62835-63996

1шт.

24

103-54-34140

COVER

SN: 60001-62834

1шт.

24A

103-21-31260

BOSS

SN: 62455-63996

6шт.

25

01010-51045

BOLT

SN: 62455-63996

6шт.

25

01010-51025

BOLT

SN: 60001-62454

6шт.

26

01602-21030

WASHER,SPRING

SN: 60001-63996

6шт.

27

01643-31032

WASHER

SN: 60001-63996

6шт.

28

103-54-34150

COVER

SN: 60001-63996

1шт.

29

01010-51425

BOLT

SN: 60001-63996

4шт.

30

01643-31445

WASHER

SN: 60001-@

4шт.

Выбрано товаров: 38