Запчасти Komatsu D20P-6A ЗАДН. КРЫШКА И ГИДР. БАК. (КАБИНА ROPS) ЧАСТИ КОРПУСА

Схема запчастей Komatsu D20P-6A - ЗАДН. КРЫШКА И ГИДР. БАК. (КАБИНА ROPS) ЧАСТИ КОРПУСА
FIT
1:1
100%

Артикул

Название

Примечание

Количество

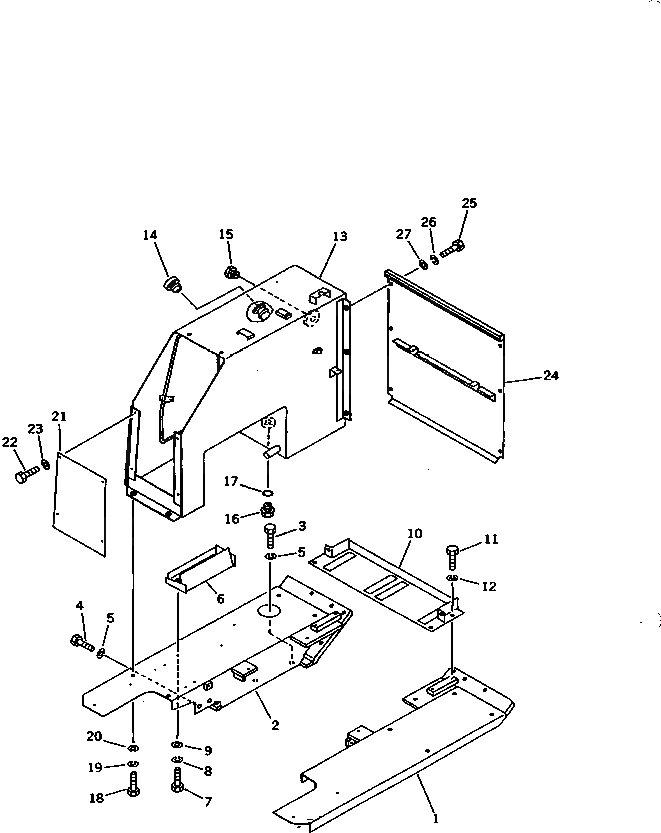
1

103-54-34411

FENDER,L.H.

SN: 63637-UP

1шт.

1

103-54-34410

FENDER,L.H.

SN: 60001-63636

1шт.

2

103-54-34421

FENDER,R.H.

SN: 63637-UP

1шт.

2

103-54-34420

FENDER,R.H.

SN: 60001-63636

1шт.

3

01010-51435

BOLT

SN: 60001-UP

8шт.

4

01010-51440

BOLT

SN: 60001-UP

4шт.

5

01602-21442

WASHER,SPRING

SN: 60001-UP

12шт.

6

103-54-34440

BOX

SN: 60001-UP

1шт.

7

01010-50820

BOLT

SN: 60001-UP

3шт.

8

01602-20825

WASHER,SPRING

SN: 60001-UP

3шт.

9

01643-30823

WASHER

SN: 60001-UP

3шт.

10

103-54-34430

PLATE

SN: 60001-UP

1шт.

11

01010-51020

BOLT

SN: 60001-UP

4шт.

12

01602-21030

WASHER,SPRING

SN: 60001-UP

4шт.

13

103-54-39342

CASE

SN: 65861-UP

1шт.

13

103-54-39341

CASE

SN: 62282-65860

1шт.

13

103-54-39340

CASE

SN: 60001-62281

1шт.

14

10E-03-11130

CAP

SN: 60001-UP

1шт.

15

20N-60-11141

GAUGE,OIL

SN: 60001-UP

1шт.

16

07044-12412

PLUG

SN: 60001-UP

1шт.

17

07002-02434

O-RING

SN: 60001-UP

1шт.

18

01010-51230

BOLT

SN: 60001-UP

4шт.

19

01602-21236

WASHER,SPRING

SN: 60001-UP

4шт.

20

01643-31232

WASHER

SN: 60001-UP

4шт.

21

103-54-34320

PLATE

SN: 60001-UP

1шт.

22

01010-51020

BOLT

SN: 60001-UP

4шт.

23

01643-31032

WASHER

SN: 60001-UP

4шт.

24

103-54-39453

COVER

SN: 65861-UP

1шт.

24

103-54-39452

COVER

SN: 63920-65860

1шт.

24

103-54-39451

COVER

SN: 60001-63919

1шт.

25

01010-51025

BOLT

SN: 60001-UP

6шт.

26

01602-21030

WASHER,SPRING

SN: 60001-UP

6шт.

27

01643-31032

WASHER

SN: 60001-UP

6шт.

Выбрано товаров: 33