Запчасти Komatsu D20P-7A ANGLE НАКЛОН. ОТВАЛ РАБОЧЕЕ ОБОРУДОВАНИЕ

Схема запчастей Komatsu D20P-7A - ANGLE НАКЛОН. ОТВАЛ РАБОЧЕЕ ОБОРУДОВАНИЕ
FIT
1:1
100%

Артикул

Название

Примечание

Количество

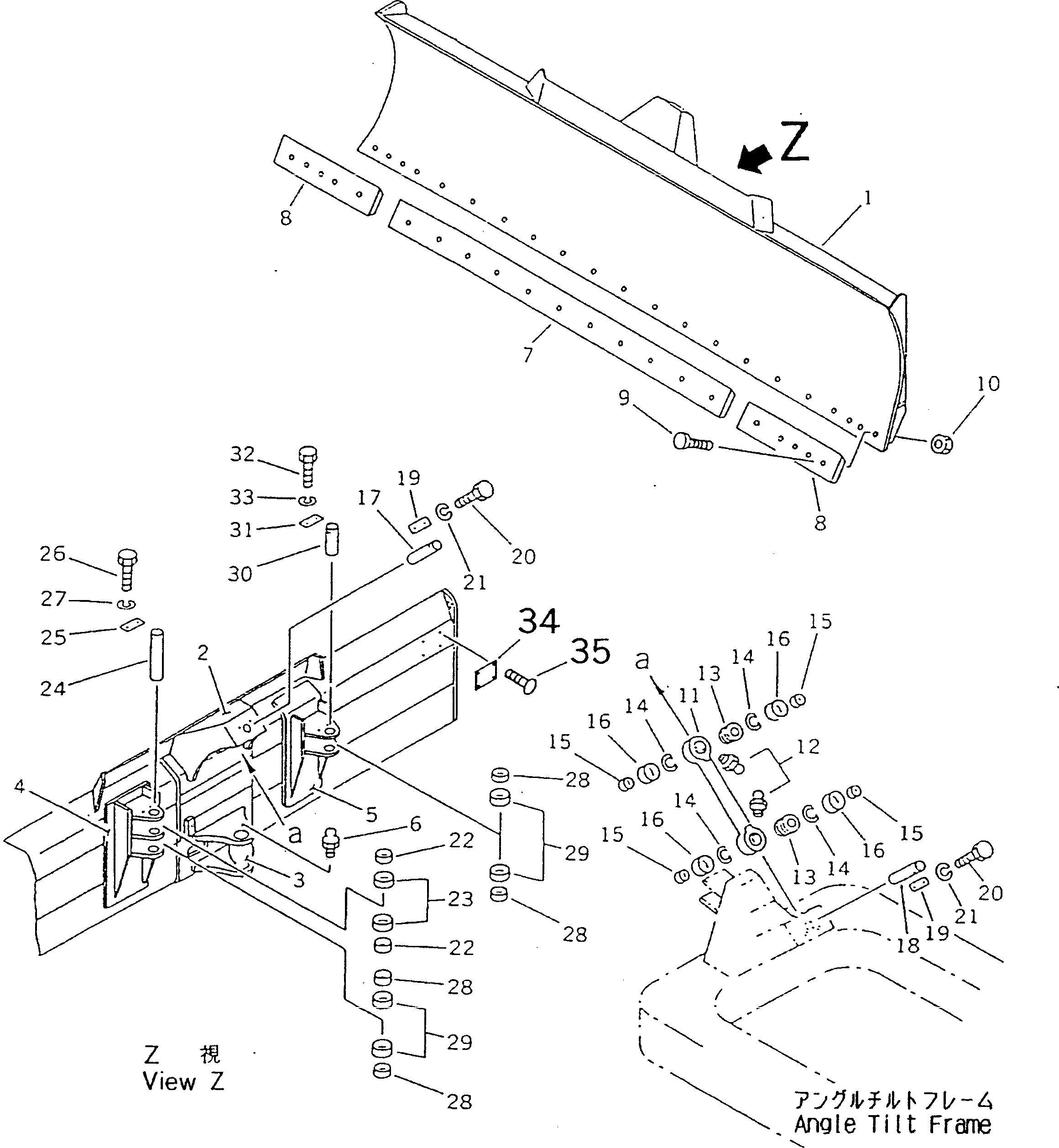
1

10G-72-21201

BLADE

SN: 75001-UP

1шт.

2

104-72-32151

BRACKET (WELDED)

SN: 75001-UP

1шт.

3

104-72-32120

BRACKET (WELDED)

SN: 75001-UP

1шт.

4

104-72-32130

BRACKET (WELDED)

SN: 75001-UP

1шт.

5

104-72-32140

BRACKET (WELDED)

SN: 75001-UP

1шт.

6

07020-00900

FITTING,GREASE

SN: 75001-UP

1шт.

7

10G-72-21260

EDGE,CUTTING

SN: 75001-UP

1шт.

8

10G-72-21270

BIT,END

SN: 75001-UP

2шт.

9

02090-10840

BOLT

SN: 75001-UP

21шт.

10

02290-10813

NUT

SN: 75001-UP

21шт.

11

104-72-41110

ROD

SN: 78604-UP

1шт.

11

104-72-32471

ROD

SN: 75001-78603

1шт.

12

07020-00000

FITTING,GREASE

SN: 75001-UP

2шт.

13

104-72-21920

BEARING

SN: 75001-UP

2шт.

14

04067-00055

RING,SNAP

SN: 75001-UP

4шт.

15

104-72-21960

COLLAR

SN: 75001-UP

4шт.

16

104-72-21990

BUSHING

SN: 75001-UP

4шт.

17

104-72-32570

PIN

SN: 75001-UP

1шт.

18

104-72-32580

PIN

SN: 75001-UP

1шт.

19

04082-00110

LOCK

SN: 75001-UP

2шт.

20

01010-51020

BOLT

SN: 75001-UP

4шт.

21

01602-21030

WASHER,SPRING

SN: 75001-UP

4шт.

22

104-72-31960

COLLAR

SN: 75001-UP

2шт.

23

104-72-31990

BUSHING

SN: 75001-UP

2шт.

24

104-72-32510

PIN

SN: 75001-UP

1шт.

25

04082-00110

LOCK

SN: 75001-UP

1шт.

26

01010-51020

BOLT

SN: 75001-UP

2шт.

27

01602-21030

WASHER,SPRING

SN: 75001-UP

2шт.

28

104-72-21960

COLLAR

SN: 75001-UP

4шт.

29

104-72-21990

BUSHING

SN: 75001-UP

4шт.

30

104-72-32570

PIN

SN: 75001-UP

1шт.

31

04082-00110

LOCK

SN: 75001-UP

1шт.

32

01010-51020

BOLT

SN: 75001-UP

2шт.

33

01602-21030

WASHER,SPRING

SN: 75001-UP

2шт.

34

09601-00835

PLATE, NAME,(LIMITED SUPPLY)

SN: 75001-UP

1шт.

35

04418-13060

SCREW

SN: 75001-UP

4шт.

Выбрано товаров: 36