Запчасти Komatsu D20P-7A СЦЕПКА (ДЛЯ ТЯГОВ. ЛЕБЕДКИ) РАБОЧЕЕ ОБОРУДОВАНИЕ

Схема запчастей Komatsu D20P-7A - СЦЕПКА (ДЛЯ ТЯГОВ. ЛЕБЕДКИ) РАБОЧЕЕ ОБОРУДОВАНИЕ
FIT
1:1
100%

Артикул

Название

Примечание

Количество

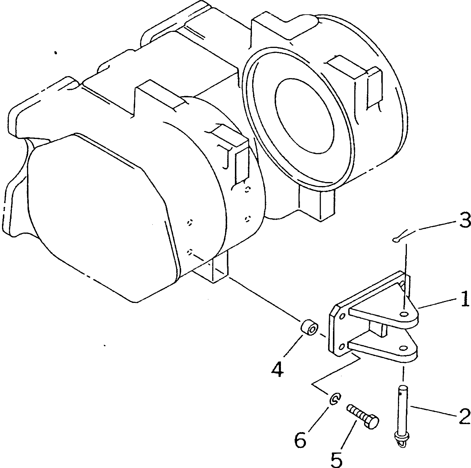
1

101-69-31111

HITCH

SN: 75001-UP

1шт.

2

101-69-31160

PIN

SN: 75001-UP

1шт.

3

04050-16040

PIN,COTTER

SN: 75001-UP

1шт.

4

101-Z61-1820

SPACER

SN: 75001-UP

4шт.

5

01010-51460

BOLT

SN: 75001-UP

4шт.

6

01602-21442

WASHER,SPRING

SN: 75001-UP

4шт.

Выбрано товаров: 6