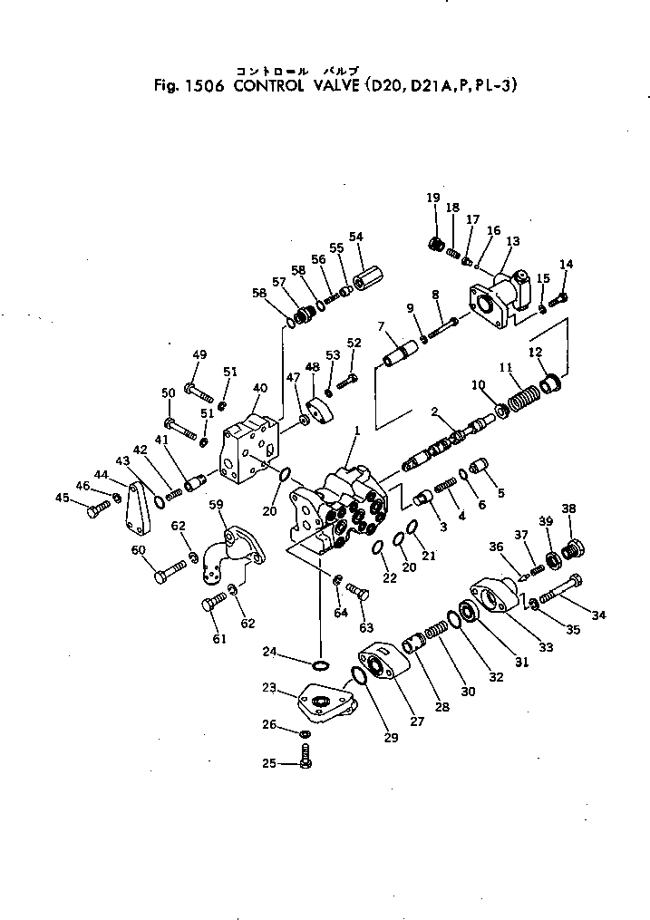
Запчасти Komatsu D20PL-3 УПРАВЛЯЮЩ. КЛАПАН РАБОЧЕЕ ОБОРУДОВАНИЕ И ITS СИСТЕМА УПРАВЛЕНИЯ

Схема запчастей Komatsu D20PL-3 - УПРАВЛЯЮЩ. КЛАПАН РАБОЧЕЕ ОБОРУДОВАНИЕ И ITS СИСТЕМА УПРАВЛЕНИЯ
FIT
1:1
100%

Артикул

Название

Примечание

Количество

|$0

701-11-11000

VALVE ASS'Y

SN: 20007-UP

1шт.

|$1

701-11-31000

VALVE BODY ASS'Y

SN: 20007-UP

1шт.

|$2

701-11-00010

BODY SUB ASS'Y

SN: 20007-UP

1шт.

1

0

BODY

SN: 20007-UP

1шт.

2

0

SPOOL

SN: 20007-UP

1шт.

3

701-13-31120

VALVE,CHECK

SN: 20007-UP

1шт.

4

701-13-31130

SPRING

SN: 20007-UP

1шт.

5

701-13-31150

SEAT

SN: 20007-UP

1шт.

6

07000-12016

O-RING

SN: 20007-UP

1шт.

7

701-11-31120

DETENT

SN: 20007-UP

1шт.

8

01010-30875

BOLT

SN: 20007-UP

1шт.

9

01602-00825

WASHER,SPRING

SN: 20007-UP

1шт.

10

701-13-31180

COLLAR

SN: 20007-UP

1шт.

11

701-13-31190

SPRING

SN: 20007-UP

1шт.

12

701-13-31280

COLLAR

SN: 20007-UP

1шт.

13

701-13-31290

CASE

SN: 20007-UP

1шт.

14

01010-31030

BOLT

SN: 20007-UP

3шт.

15

01602-01030

WASHER,SPRING

SN: 20007-UP

3шт.

16

04260-00635

BALL

SN: 20007-UP

3шт.

17

701-13-31230

GUIDE

SN: 20007-UP

3шт.

18

701-13-31240

SPRING

SN: 20007-UP

3шт.

19

701-33-31350

PLUG

SN: 28877-UP

3шт.

19

0

PLUG

SN: 20007-28876

3шт.

20

07000-13025

O-RING (KIT)

SN: 20007-UP

4шт.

21

07000-12015

O-RING (KIT)

SN: 20007-UP

8шт.

22

07000-13028

O-RING (KIT)

SN: 20007-UP

1шт.

23

701-13-31310

FLANGE

SN: 20007-UP

1шт.

24

07000-13028

O-RING (KIT)

SN: 20007-UP

1шт.

25

01010-31035

BOLT

SN: 20007-UP

3шт.

26

01602-01030

WASHER,SPRING

SN: 20007-UP

3шт.

|$30

701-10-51000

VALVE ASS'Y,RELIEF

SN: 20007-UP

1шт.

|$31

701-10-00010

HOUSING ASS'Y

SN: 20007-UP

1шт.

27

0

HOUSING

SN: 20007-UP

1шт.

28

0

VALVE,MAIN

SN: 20007-UP

1шт.

29

07000-23030

O-RING

SN: .-UP

1шт.

29

0

O-RING (KIT)

SN: 20007-.

1шт.

30

701-10-51130

SPRING

SN: 20007-UP

1шт.

31

0

SEAT,VALVE

SN: 20007-UP

1шт.

|$$39

(701-10-51140,701-30-51160)

-1шт.

32

07000-23030

O-RING

SN: .-UP

1шт.

32

0

O-RING (KIT)

SN: 20007-.

1шт.

33

701-10-51150

BODY

SN: 20007-UP

1шт.

34

01010-31295

BOLT

SN: 20007-UP

2шт.

35

01602-01236

WASHER,SPRING

SN: 20007-UP

2шт.

36

0

POPPET,PILOT

SN: 20007-UP

1шт.

|$$46

(701-30-51160,701-10-51140)

-1шт.

37

701-30-51171

SPRING

SN: 20007-UP

1шт.

38

701-10-51160

PLUG

SN: 20007-UP

1шт.

39

701-30-51190

NUT

SN: 20007-UP

1шт.

|$49

701-10-62001

VALVE ASS'Y,SUCTION

SN: 20007-UP

1шт.

40

0

HOUSING

SN: 20007-UP

1шт.

41

701-13-31120

VALVE

SN: 20007-UP

1шт.

42

701-13-31130

SPRING

SN: 20007-UP

1шт.

43

07000-13025

O-RING (KIT)

SN: 20007-UP

1шт.

44

701-10-62120

PLATE

SN: 20007-UP

1шт.

45

01010-31035

BOLT

SN: 20007-UP

3шт.

46

01602-01030

WASHER,SPRING

SN: 20007-UP

3шт.

47

701-10-62140

ORIFICE

SN: 20007-UP

1шт.

48

701-10-62141

PLATE

SN: 20007-UP

1шт.

49

01010-31055

BOLT

SN: 20007-UP

2шт.

50

01010-31065

BOLT

SN: 20007-UP

2шт.

51

01602-01030

WASHER,SPRING

SN: 20007-UP

4шт.

52

01010-30815

BOLT

SN: 20007-UP

2шт.

53

01602-00825

WASHER,SPRING

SN: 20007-UP

2шт.

54

701-10-63110

BODY

SN: 20007-UP

1шт.

55

701-10-63120

VALVE

SN: 20007-UP

1шт.

56

701-10-63130

SPRING

SN: 20007-UP

1шт.

57

701-10-63140

PLUG

SN: 20007-UP

1шт.

58

07000-13017

O-RING (KIT)

SN: 20007-UP

2шт.

59

102-60-11431

BAFFLE

SN: 20007-UP

1шт.

60

01010-51275

BOLT

SN: 20007-UP

1шт.

61

01010-51240

BOLT

SN: 20007-UP

1шт.

62

01602-21236

WASHER,SPRING

SN: 20007-UP

2шт.

63

01010-51025

BOLT

SN: 20007-UP

2шт.

64

01602-21030

WASHER,SPRING

SN: 20007-UP

2шт.

Выбрано товаров: 75