Запчасти Komatsu D20PL-3 ГИДР. БАК. AND РЫЧАГ УПРАВЛ-Я РАБОЧЕЕ ОБОРУДОВАНИЕ И ITS СИСТЕМА УПРАВЛЕНИЯ

Схема запчастей Komatsu D20PL-3 - ГИДР. БАК. AND РЫЧАГ УПРАВЛ-Я РАБОЧЕЕ ОБОРУДОВАНИЕ И ITS СИСТЕМА УПРАВЛЕНИЯ
FIT
1:1
100%

Артикул

Название

Примечание

Количество

|1

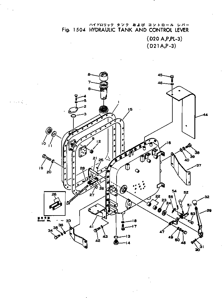
101-60-33002

HYDRAULIC TANK ASS'Y

SN: .-UP

1шт.

|1

0

HYDRAULIC TANK ASS'Y

SN: 28877-.

1шт.

|1

0

HYDRAULIC TANK ASS'Y

SN: 20007-28876

1шт.

|$$4

(101-60-33001{101-54-31421)}

-1шт.

|1

102-60-00193

TANK ASS'Y

SN: 20007-UP

1шт.

1

101-60-13115

TANK,HYDRAULIC

SN: 20007-UP

1шт.

|1

102-60-13560

FILLER (WELDED)

SN: 28877-UP

1шт.

|1

170-64-13220

FILLER (WELDED)

SN: 20007-28876

1шт.

2

101-60-13470

FLANGE

SN: 20007-UP

1шт.

3

07000-03032

O-RING

SN: 20007-UP

1шт.

4

01010-31025

BOLT

SN: 20007-UP

2шт.

5

01602-01030

WASHER,SPRING

SN: 20007-UP

2шт.

6

07056-10045

STRAINER

SN: .-UP

1шт.

|6

0

STRAINER

SN: 20007-.

1шт.

7

04065-04518

RING,SNAP

SN: 20007-UP

1шт.

8

07051-00000

CAP

SN: 20007-UP

1шт.

9

07715-21074

CASE

SN: .-UP

1шт.

|9

0

CASE

SN: 20007-.

1шт.

10

07715-11257

RING

SN: .-UP

1шт.

|10

0

RING

SN: 20007-.

1шт.

11

07715-00651

COVER

SN: .-UP

1шт.

|11

0

COVER

SN: 20007-.

1шт.

12

01598-01011

NUT

SN: 28877-UP

4шт.

|12

0

NUT

SN: 20007-28876

4шт.

13

07002-02434

O-RING (KIT)

SN: .-UP

1шт.

|13

0

O-RING (KIT)

SN: 20007-.

4шт.

14

07044-02412

PLUG,DRAIN

SN: 20007-UP

1шт.

15

130-60-42181

GASKET (KIT)

SN: .-UP

1шт.

|15

0

GASKET (KIT)

SN: 20007-.

1шт.

|16

101-60-00276

TANK ASS'Y

SN: 28877-UP

1шт.

|16

0

TANK ASS'Y

SN: 20007-28876

1шт.

|$$32

(101-60-00276{101-54-31421)}

-1шт.

16

101-60-33112

TANK

SN: 28877-UP

1шт.

|16

101-60-33110

TANK

SN: 20007-28876

1шт.

17

01010-31430

BOLT

SN: 28877-UP

3шт.

|17

01010-31225

BOLT

SN: 20007-28876

2шт.

18

01602-01442

WASHER,SPRING

SN: 28877-UP

3шт.

|18

01602-01236

WASHER,SPRING

SN: 20007-28876

2шт.

19

01010-31022

BOLT

SN: 20007-UP

36шт.

20

01602-01030

WASHER,SPRING

SN: 20007-UP

36шт.

21

101-60-13145

LEVER

SN: 20007-UP

1шт.

22

06120-02016

BEARING

SN: 20007-UP

2шт.

23

130-09-11450

SEAL,OIL (KIT)

SN: 20007-UP

1шт.

24

102-60-13161

SPACER

SN: 20007-UP

1шт.

25

04010-00519

KEY

SN: 20007-UP

1шт.

26

101-60-13480

JOINT

SN: .-UP

2шт.

|26

0

JOINT

SN: 20007-.

1шт.

|$$48

(101-60-13480(2))

-1шт.

27

04205-00825

PIN

SN: .-UP

2шт.

|27

0

PIN

SN: 20007-.

2шт.

28

04050-02012

PIN,COTTER

SN: 20007-UP

2шт.

29

101-60-33120

LEVER

SN: 20007-UP

1шт.

30

01010-30825

BOLT

SN: 20007-UP

1шт.

31

01602-00825

WASHER,SPRING

SN: 20007-UP

1шт.

32

09304-01250

KNOB

SN: 20007-UP

1шт.

33

101-60-13312

PLATE

SN: 20007-UP

1шт.

34

01010-31030

BOLT

SN: 20007-UP

4шт.

35

01602-01030

WASHER,SPRING

SN: 20007-UP

4шт.

36

01642-01016

WASHER

SN: 20007-UP

4шт.

37

101-60-13293

BRACKET

SN: 20007-UP

1шт.

38

01010-31025

BOLT

SN: 20007-UP

4шт.

39

01602-01030

WASHER,SPRING

SN: 20007-UP

4шт.

40

01642-01016

WASHER

SN: 20007-UP

4шт.

41

102-60-14210

BRACKET

SN: 20007-UP

1шт.

42

01010-31030

BOLT

SN: 20007-UP

4шт.

43

01602-01030

WASHER,SPRING

SN: 20007-UP

4шт.

44

101-60-13361

COVER

SN: 20007-UP

1шт.

45

01010-31020

BOLT

SN: 20007-UP

4шт.

46

01602-01030

WASHER,SPRING

SN: 20007-UP

4шт.

47

101-60-33211

BRACKET

SN: 20007-UP

1шт.

48

01010-30818

BOLT

SN: 20007-UP

2шт.

49

01640-00816

WASHER

SN: 20007-UP

2шт.

50

01602-00825

WASHER,SPRING

SN: 20007-UP

2шт.

51

101-60-33221

LEVER

SN: 20007-UP

1шт.

52

135-43-21230

KNOB

SN: 20007-UP

1шт.

53

04205-01030

PIN

SN: 20007-UP

1шт.

54

04050-03015

PIN,COTTER

SN: 20007-UP

1шт.

55

120-10-13350

SPRING

SN: 20007-UP

1шт.

Выбрано товаров: 78