Запчасти Komatsu D20PL-5 ЗАЩИТА РАДИАТОРА AND КАПОТ(№-) ЧАСТИ КОРПУСА

Схема запчастей Komatsu D20PL-5 - ЗАЩИТА РАДИАТОРА AND КАПОТ(№-) ЧАСТИ КОРПУСА
FIT
1:1
100%

Артикул

Название

Примечание

Количество

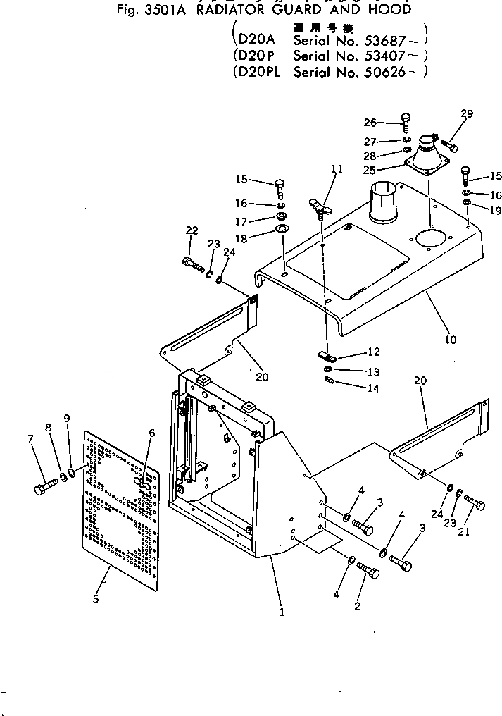
1

103-54-21114

GUARD,RADIATOR

SN: 50429-UP

1шт.

1

103-54-29321

GUARD,RADIATOR (STRENGTHENED)

SN: 50429-UP

1шт.

2

01010-31630

BOLT

SN: 45001-UP

4шт.

3

01010-31650

BOLT

SN: 50652-UP

8шт.

3

01010-31655

BOLT

SN: 45001-50651

8шт.

4

01643-31645

WASHER

SN: 45001-UP

12шт.

5

103-54-21320

GRILL

SN: .-UP

1шт.

5

103-54-21330

GRILL,(STRENGTHENED)

SN: .-UP

1шт.

6

10E-54-21120

MARK

SN: 45001-UP

1шт.

7

01010-31435

BOLT

SN: 45001-UP

4шт.

8

01602-01442

WASHER,SPRING

SN: 45001-UP

4шт.

9

01643-31445

WASHER

SN: 45001-UP

4шт.

10

103-54-21143

HOOD

SN: 50626-UP

1шт.

11

135-54-31290

HANDLE

SN: 50626-UP

1шт.

12

135-54-31310

STOPPER

SN: 50626-UP

1шт.

13

01643-31032

WASHER

SN: 50626-UP

1шт.

14

04025-00316

PIN,SPRING

SN: 50626-UP

1шт.

15

01010-31025

BOLT

SN: 45001-UP

5шт.

16

01602-01030

WASHER,SPRING

SN: 45001-UP

5шт.

17

113-54-31340

COLLAR

SN: 50626-UP

2шт.

18

113-54-31350

SEAT

SN: 50626-UP

2шт.

19

01643-31032

WASHER

SN: 45001-UP

3шт.

20

103-54-21270

COVER,L.H.

SN: 45001-UP

1шт.

20

103-54-21280

COVER,R.H.

SN: 45001-UP

1шт.

21

01010-31025

BOLT

SN: 45001-UP

6шт.

22

01010-31035

BOLT

SN: 45001-UP

2шт.

23

01602-01030

WASHER,SPRING

SN: 45001-UP

8шт.

24

01643-31032

WASHER

SN: 45001-UP

8шт.

25

103-54-21210

BRACKET

SN: 50626-UP

1шт.

26

01010-51025

BOLT

SN: 50626-UP

4шт.

27

01602-21030

WASHER,SPRING

SN: 50626-UP

4шт.

28

01643-31032

WASHER

SN: 50626-UP

4шт.

29

01010-50820

BOLT

SN: 50626-UP

1шт.

Выбрано товаров: 33