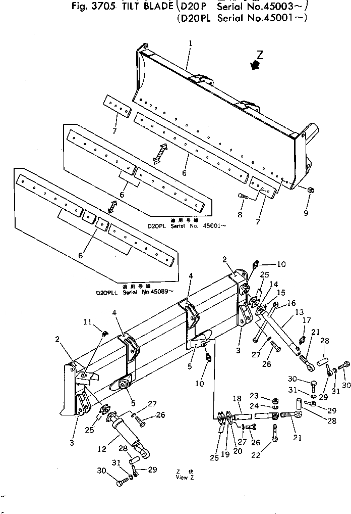
Запчасти Komatsu D20PL-5 НАКЛОН. ОТВАЛ РАБОЧЕЕ ОБОРУДОВАНИЕ

Схема запчастей Komatsu D20PL-5 - НАКЛОН. ОТВАЛ РАБОЧЕЕ ОБОРУДОВАНИЕ
FIT
1:1
100%

Артикул

Название

Примечание

Количество

1

10G-71-11101

BLADE

SN: 45000-45000

1шт.

1

10G-A70-8213

BLADE

SN: 51548-UP

-1шт.

1

0

BLADE

SN: 45001-51547

1шт.

|$$4

(10G-A70-8213,12F-B74-3171(2))

-1шт.

2

10G-71-11170

BRACKET,L.H.

SN: 45001-UP

1шт.

2

10G-71-11180

BRACKET,R.H.

SN: 45001-UP

1шт.

3

10G-71-11120

BRACKET,L.H.

SN: 45001-UP

1шт.

3

10G-71-11160

BRACKET,R.H.

SN: 45001-UP

1шт.

4

10G-71-11130

BRACKET

SN: 45000-45000

2шт.

4

10G-A70-8231

BRACKET

SN: 45001-UP

2шт.

5

10G-71-11140

BRACKET

SN: 45001-UP

2шт.

6

104-72-21140

EDGE,CUTTING

SN: 45000-45000

1шт.

6

12F-B74-3171

EDGE,CUTTING

SN: 50819-UP

2шт.

6

10G-A70-8251

EDGE,CUTTING

SN: 45089-50818

2шт.

6

0

EDGE,CUTTING

SN: 45001-45088

2шт.

7

12F-929-2170

BIT,END

SN: 45001-UP

2шт.

8

02090-10840

BOLT

SN: 45000-45000

18шт.

8

02090-10840

BOLT

SN: 45001-UP

20шт.

9

02290-10813

NUT

SN: 45000-45000

18шт.

9

02290-10813

NUT

SN: 45001-UP

20шт.

10

07020-00000

FITTING

SN: 45001-UP

3шт.

11

07020-00675

FITTING

SN: 45001-UP

1шт.

12

101-63-52100

CYLINDER ASS'Y

SN: 45001-UP

1шт.

13

10G-71-11700

BRACE

SN: 45001-UP

1шт.

14

101-817-2140

JOINT

SN: 45001-UP

1шт.

15

10G-71-11710

CAP

SN: 45001-UP

1шт.

16

101-71-12250

LEVER

SN: 45001-UP

1шт.

17

07020-00000

FITTING

SN: 45001-UP

1шт.

18

10G-71-11800

BRACE

SN: 45000-45000

2шт.

18

10G-A70-8290

BRACE

SN: 51548-UP

2шт.

18

0

BRACE

SN: 45001-51547

2шт.

19

101-817-2140

JOINT

SN: 45001-UP

1шт.

20

10G-71-11710

CAP

SN: 45001-UP

1шт.

21

10G-71-11730

SCREW

SN: 45001-UP

3шт.

22

01050-31265

BOLT

SN: 45001-UP

2шт.

23

01582-01210

NUT

SN: 45001-UP

2шт.

24

01602-01236

WASHER

SN: 45001-UP

2шт.

25

101-817-0110

SHIM KIT

SN: 45001-UP

4шт.

25

101-817-2150

SHIM, 0.5MM

SN: 45001-UP

2шт.

25

101-817-2160

SHIM, 1.0MM

SN: 45001-UP

2шт.

26

01010-31240

BOLT

SN: 45001-UP

16шт.

27

01602-01236

WASHER

SN: 45001-UP

16шт.

28

10G-71-11820

PIN

SN: 45001-UP

4шт.

29

114-72-21970

PIN

SN: 45001-UP

4шт.

30

01010-31025

BOLT

SN: 45001-UP

4шт.

31

01602-01030

WASHER

SN: 45001-UP

4шт.

|$$47

D20PLL PARTS ONLY

-1шт.

1

10F-A74-8101

BLADE

SN: 45392-UP

1шт.

1

10F-A74-8100

BLADE

SN: 45001-45391

1шт.

2

10F-A74-8131

BRACKET

SN: 45392-UP

2шт.

2

10G-A74-8130

BRACKET,L.H.

SN: 45001-45391

1шт.

2

10G-A74-8140

BRACKET,R.H.

SN: 45001-45391

1шт.

3

10G-71-11120

BRACKET,L.H.

SN: 45392-UP

1шт.

3

10G-71-11160

BRACKET,R.H.

SN: 45392-UP

1шт.

3

10G-A74-8120

BRACKET

SN: 45001-45391

2шт.

4

10F-A74-8161

BRACKET

SN: 45001-UP

2шт.

5

10G-71-11140

BRACKET

SN: 45001-UP

2шт.

6

10F-A74-8170

EDGE

SN: 45001-UP

3шт.

8

02090-10840

BOLT

SN: 45001-UP

26шт.

9

02290-10813

NUT

SN: 45001-UP

26шт.

Выбрано товаров: 60