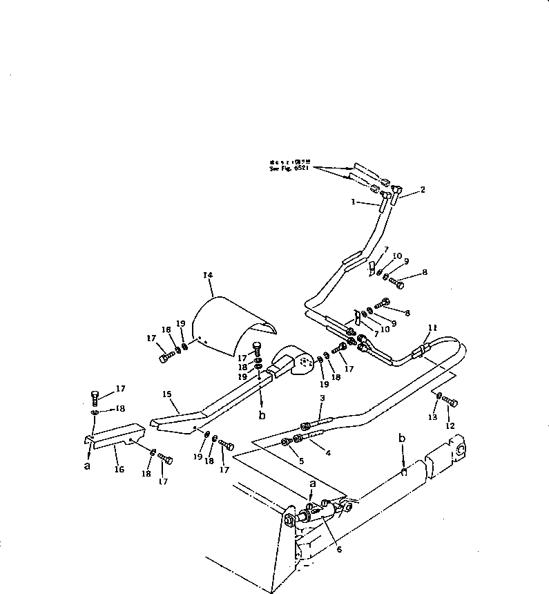
Запчасти Komatsu D20PL-6 ГИДРОЛИНИЯ (ЦИЛИНДР ПЕРЕКОСА ЛИНИЯ) (DOZER ) РАБОЧЕЕ ОБОРУДОВАНИЕ

Схема запчастей Komatsu D20PL-6 - ГИДРОЛИНИЯ (ЦИЛИНДР ПЕРЕКОСА ЛИНИЯ) (DOZER ) РАБОЧЕЕ ОБОРУДОВАНИЕ
FIT
1:1
100%

Артикул

Название

Примечание

Количество

1

10G-62-23320

TUBE

SN: 60001-UP

1шт.

2

10G-62-23310

TUBE

SN: 60001-UP

1шт.

3

10G-62-23331

HOSE

SN: 60919-UP

1шт.

3

0

HOSE

SN: 60201-60918

1шт.

3

0

HOSE

SN: 60001-60200

1шт.

|$$6

(10G-62-23330,10G-62-23170,

-1шт.

|$$7

130-06-14230)

-1шт.

4

10G-62-23171

HOSE

SN: 60919-UP

1шт.

4

0

HOSE

SN: 60201-60918

1шт.

4

0

HOSE

SN: 60001-60200

1шт.

|$$11

(10G-62-23170,10G-62-23330,

-1шт.

|$$12

130-06-14230)

-1шт.

5

10G-62-23150

NIPPLE

SN: 60001-UP

1шт.

6

101-63-02050

CYLINDER ASS'Y,TILT

SN: 60001-UP

1шт.

7

114-62-23150

CLIP

SN: 60001-UP

2шт.

8

01010-51035

BOLT

SN: 60001-UP

2шт.

9

01602-21030

WASHER,SPRING

SN: 60001-UP

2шт.

10

01643-31032

WASHER

SN: 60001-UP

2шт.

11

130-06-14230

CLIP

SN: 60201-UP

1шт.

11

141-06-11220

CLIP

SN: 60001-60200

1шт.

12

01010-51016

BOLT

SN: 60001-UP

1шт.

13

01602-21030

WASHER,SPRING

SN: 60001-UP

1шт.

14

10G-62-24310

COVER

SN: 60001-UP

1шт.

15

10G-62-24120

COVER

SN: 60001-UP

1шт.

16

10G-62-24130

COVER

SN: 60001-UP

1шт.

17

01010-51020

BOLT

SN: 60001-UP

12шт.

18

01602-21030

WASHER,SPRING

SN: 60001-UP

12шт.

19

01643-31032

WASHER

SN: 60001-UP

9шт.

Выбрано товаров: 28