Запчасти Komatsu D20PL-6 ПРУЖИНА (УПЛОТНЕНИЕED ТИП) ГУСЕНИЦЫ

Схема запчастей Komatsu D20PL-6 - ПРУЖИНА (УПЛОТНЕНИЕED ТИП) ГУСЕНИЦЫ
FIT
1:1
100%

Артикул

Название

Примечание

Количество

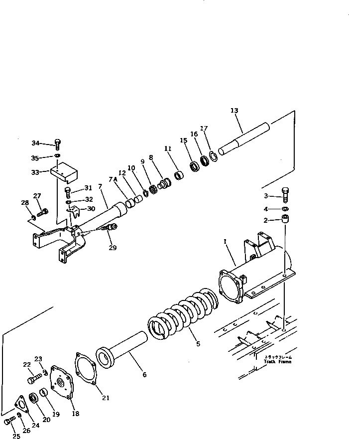
1

104-Y16-3190

BRACKET,L.H.

SN: 60001-UP

1шт.

1

104-Y16-3210

BRACKET,R.H.

SN: 60001-UP

1шт.

2

104-30-21230

BOSS

SN: 60001-UP

12шт.

3

01010-51650

BOLT

SN: 60001-UP

12шт.

4

01643-31645

WASHER

SN: 60001-UP

12шт.

5

101-30-21192

SPRING

SN: 61157-UP

2шт.

5

103-30-34130

SPRING

SN: 60001-61156

2шт.

6

104-30-24210

HOLDER

SN: 60001-UP

2шт.

|$8

104-30-00010

CYLINDER ASS'Y,L.H.

SN: 60001-UP

1шт.

|$9

104-30-00020

CYLINDER ASS'Y,R.H.

SN: 60001-UP

1шт.

7

104-30-24110

CYLINDER,L.H.

SN: 60001-UP

1шт.

7

104-30-24120

CYLINDER,R.H.

SN: 60001-UP

1шт.

7A

07177-04025

BUSHING

SN: 60001-UP

1шт.

8

104-30-24150

PISTON

SN: 60001-UP

2шт.

9

09370-00040

U-PACKING

SN: 60001-UP

2шт.

10

04064-02512

RING,SNAP

SN: 60001-UP

2шт.

11

07155-00410

RING

SN: 60001-UP

2шт.

12

104-30-24220

BAR

SN: 60001-UP

2шт.

13

104-30-24160

ROD

SN: 61157-UP

2шт.

13

10F-30-24260

ROD

SN: 60001-61156

2шт.

15

103-30-24240

SEAL,DUST

SN: 60001-UP

2шт.

16

103-30-24250

SPACER

SN: 60001-UP

2шт.

17

04065-05220

RING,SNAP

SN: 60001-UP

2шт.

|$23

104-30-00050

PLATE ASS'Y

SN: 60001-UP

2шт.

18

104-30-24170

PLATE

SN: 60001-UP

1шт.

19

07177-04012

BUSHING

SN: 60001-UP

1шт.

20

103-30-24240

SEAL,DUST

SN: 60001-UP

2шт.

21

104-30-24180

GASKET

SN: 60001-UP

2шт.

22

01010-51435

BOLT

SN: 60001-UP

8шт.

23

01602-21442

WASHER,SPRING

SN: 60001-UP

8шт.

24

104-30-24190

PLATE,SNAP

SN: 60001-UP

2шт.

25

01010-50816

BOLT

SN: 60001-UP

6шт.

26

01602-20825

WASHER,SPRING

SN: 60001-UP

6шт.

27

01010-51230

BOLT

SN: 60001-UP

8шт.

28

01602-21236

WASHER,SPRING

SN: 60001-UP

8шт.

29

07959-20001

VALVE

SN: 69677-UP

2шт.

29

0

VALVE

SN: 60001-69676

2шт.

30

104-30-24130

PLATE

SN: 60001-UP

2шт.

31

01010-50816

BOLT

SN: 60001-UP

4шт.

32

01602-20825

WASHER,SPRING

SN: 60001-UP

4шт.

33

104-30-24140

COVER

SN: 60001-UP

2шт.

34

01010-51020

BOLT

SN: 60001-UP

4шт.

35

01602-21030

WASHER,SPRING

SN: 60001-UP

4шт.

Выбрано товаров: 43