Запчасти Komatsu D20PL-7 НАКЛОН. ОТВАЛ (ДЛЯ OUTРАМА) РАБОЧЕЕ ОБОРУДОВАНИЕ

Схема запчастей Komatsu D20PL-7 - НАКЛОН. ОТВАЛ (ДЛЯ OUT  РАМА) РАБОЧЕЕ ОБОРУДОВАНИЕ
FIT
1:1
100%

Артикул

Название

Примечание

Количество

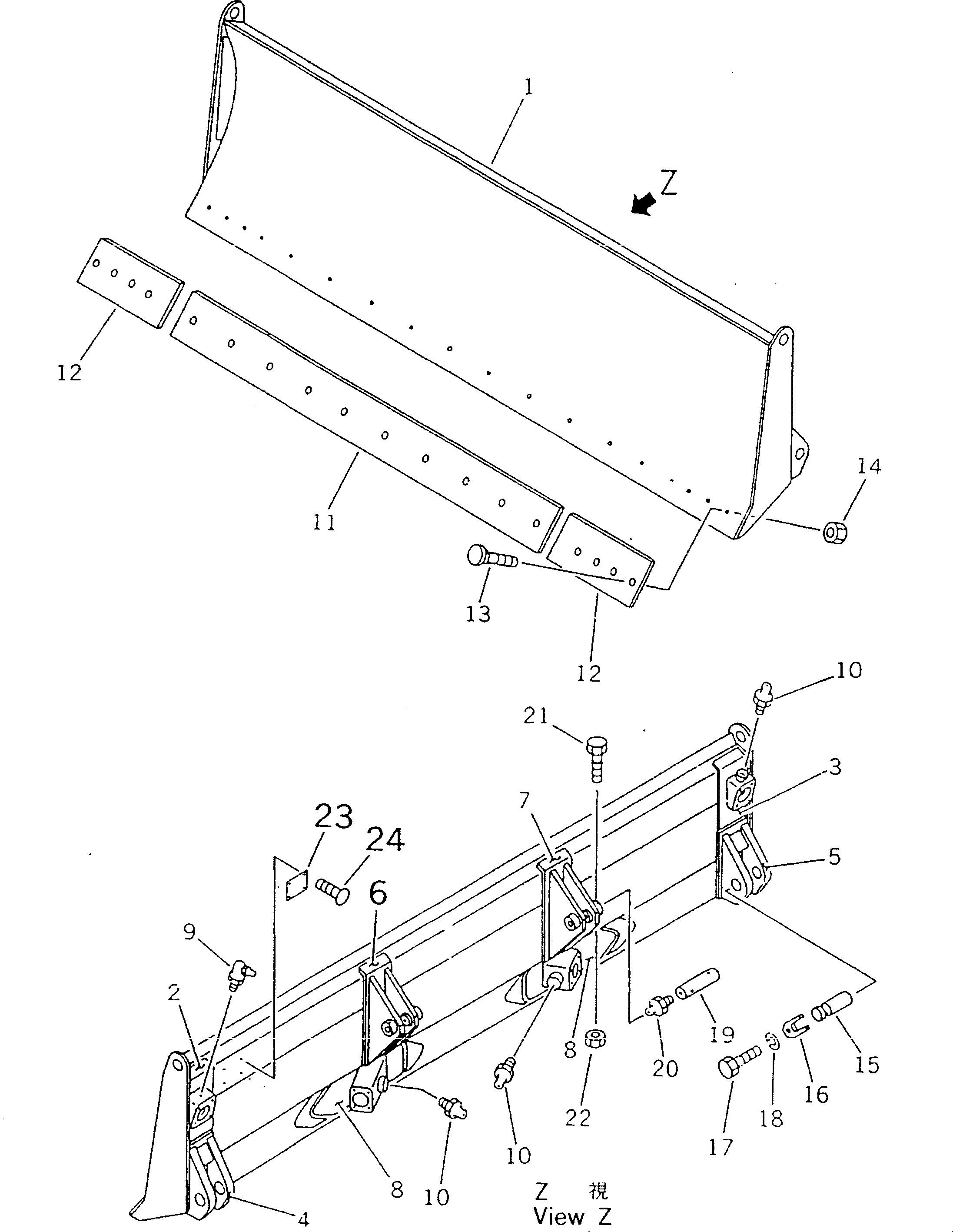
1

10G-71-22100

BLADE

SN: 62001-UP

1шт.

2

10G-71-22170

BRACKET,L.H. (WELDED)

SN: 62001-UP

1шт.

3

10G-71-22180

BRACKET,R.H. (WELDED)

SN: 62001-UP

1шт.

4

10G-71-22120

BRACKET,L.H. (WELDED)

SN: 62001-UP

1шт.

5

10G-71-22160

BRACKET,R.H. (WELDED)

SN: 62001-UP

1шт.

6

10G-71-22131

BRACKET,L.H. (WELDED)

SN: 62001-UP

1шт.

7

10G-71-22231

BRACKET,R.H. (WELDED)

SN: 62001-UP

1шт.

8

10G-71-11140

BRACKET (WELDED)

SN: 62001-UP

2шт.

9

07020-00675

FITTING,GREASE

SN: 62001-UP

1шт.

10

07020-00000

FITTING,GREASE

SN: 62001-UP

3шт.

11

104-72-21140

EDGE,CUTTING

SN: 62001-UP

1шт.

12

12F-929-2170

BIT,END

SN: 62001-UP

2шт.

13

02090-10840

BOLT

SN: 62001-UP

18шт.

14

02290-10813

NUT

SN: 62001-UP

18шт.

15

104-72-21820

PIN

SN: 62001-UP

2шт.

16

104-72-21880

LOCK

SN: 62001-UP

2шт.

17

01010-51025

BOLT

SN: 62001-UP

2шт.

18

01602-21030

WASHER,SPRING

SN: 62001-UP

2шт.

19

10G-71-22350

SHAFT

SN: 62001-UP

2шт.

20

07020-00000

FITTING,GREASE

SN: 62001-UP

2шт.

21

01010-50855

BOLT

SN: 62001-UP

2шт.

22

01598-00809

NUT

SN: 62001-UP

2шт.

23

09601-00835

PLATE¤ NAME

SN: 62001-UP

1шт.

24

04418-13060

SCREW

SN: 62001-UP

4шт.

Выбрано товаров: 24