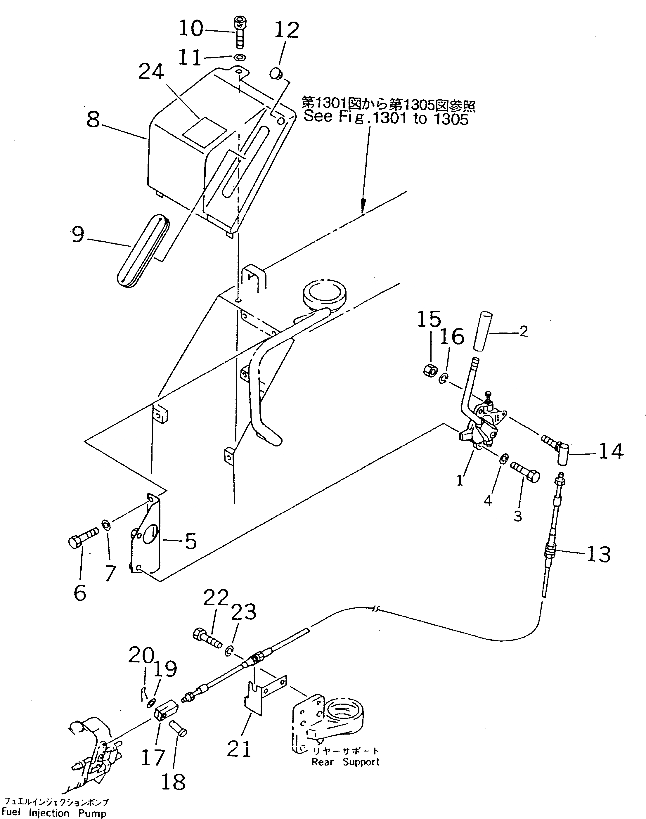
Запчасти Komatsu D20PL-7 РЫЧАГ УПРАВЛ-Я ПОДАЧЕЙ ТОПЛИВА (ДЛЯ TWO РЫЧАГИ РУЛЕВ. УПРАВЛЕНИЕ) СИСТЕМА УПРАВЛЕНИЯ

Схема запчастей Komatsu D20PL-7 - РЫЧАГ УПРАВЛ-Я ПОДАЧЕЙ ТОПЛИВА (ДЛЯ TWO РЫЧАГИ РУЛЕВ. УПРАВЛЕНИЕ) СИСТЕМА УПРАВЛЕНИЯ
FIT
1:1
100%

Артикул

Название

Примечание

Количество

1

104-43-41250

LEVER ASS'Y

SN: 62454-UP

1шт.

|1

114-43-48220

LEVER ASS'Y

SN: 62001-62453

1шт.

2

203-43-44360

KNOB

SN: 62001-UP

1шт.

3

07372-21030

BOLT

SN: 62001-UP

2шт.

4

01602-21030

WASHER,SPRING

SN: 62001-UP

2шт.

5

104-43-38960

BRACKET

SN: 62001-UP

1шт.

6

01010-51025

BOLT

SN: 62001-UP

2шт.

7

01643-31032

WASHER

SN: 62001-UP

2шт.

8

101-43-58920

BRACKET

SN: 62001-UP

1шт.

9

114-43-48241

GROMMET

SN: 62001-UP

1шт.

10

01252-30825

BOLT

SN: 62001-UP

2шт.

11

01643-30823

WASHER

SN: 62001-UP

2шт.

12

114-54-43260

PLUG

SN: 62001-UP

1шт.

13

21X-43-12121

CABLE

SN: 62454-UP

1шт.

|13

103-43-35270

CABLE

SN: 62001-62453

1шт.

14

103-43-25160

END,ROD

SN: 62001-UP

1шт.

15

01580-10504

NUT

SN: 62001-UP

1шт.

16

01601-20513

WASHER,SPRING

SN: 62001-UP

1шт.

17

04211-20500

YOKE

SN: 62001-UP

1шт.

18

04205-10516

PIN

SN: 62001-UP

1шт.

19

01641-20508

WASHER

SN: 62001-UP

1шт.

20

04050-11208

PIN,COTTER

SN: 62001-UP

1шт.

21

104-43-41161

BRACKET

SN: 62454-UP

1шт.

|21

103-43-35180

BRACKET

SN: 62001-62453

1шт.

22

01010-51020

BOLT

SN: 62001-UP

2шт.

23

01602-21030

WASHER

SN: 62001-UP

2шт.

24

101-14-11191

PLATE¤ OPERATING,TRANSMISSION

SN: 62001-UP

1шт.

Выбрано товаров: 27