Запчасти Komatsu D20PL-7 РЫЧАГ УПРАВЛ-Я ТРАНСМИССИЕЙ (ДЛЯ MONO РЫЧАГ РУЛЕВ. УПРАВЛЕНИЕ) СИСТЕМА УПРАВЛЕНИЯ

Схема запчастей Komatsu D20PL-7 - РЫЧАГ УПРАВЛ-Я ТРАНСМИССИЕЙ (ДЛЯ MONO РЫЧАГ РУЛЕВ. УПРАВЛЕНИЕ) СИСТЕМА УПРАВЛЕНИЯ
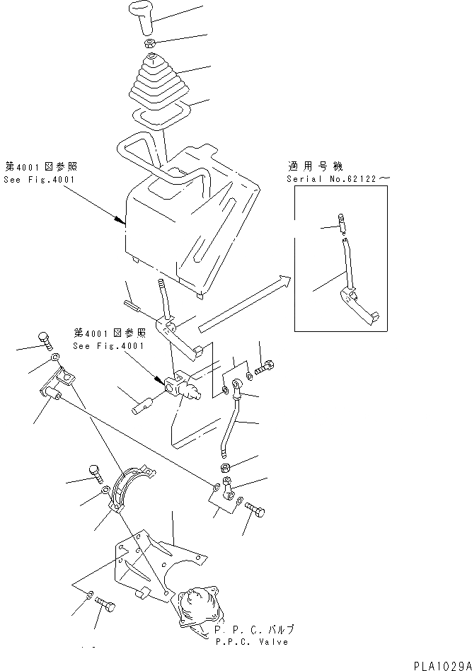
1
1
1A
2
3
4
4A
5
6
7
8
9
10
11
11
12
12
13
14
15
16
17
18
19
20
21
FIT
1:1
100%

Артикул

Название

Примечание

Количество

1

104-43-38241

LEVER

SN: 62122-UP

1шт.

1

114-43-48643

LEVER

SN: 62001-62121

1шт.

1A

104-43-38251

EXTENSION

SN: 62454-UP

1шт.

1A

104-43-38250

EXTENSION

SN: 62001-62453

1шт.

2

14X-43-14170

KNOB

SN: 62122-UP

1шт.

2

0

KNOB

SN: 62001-62121

1шт.

3

20T-43-71190

NUT

SN: 62001-UP

1шт.

4

20T-43-71160

BOOT

SN: 62001-UP

1шт.

4A

20T-43-71360

PLATE

SN: 62001-UP

1шт.

5

363-43-27161

PIN

SN: 62001-UP

1шт.

6

04025-00324

PIN,SPRING

SN: 62001-UP

1шт.

7

104-43-38170

ROD

SN: 62001-UP

1шт.

8

04250-80847

END,ROD (WELDED)

SN: 62001-UP

1шт.

9

04250-80847

END,ROD

SN: 62001-UP

1шт.

10

01580-10806

NUT

SN: 62001-UP

1шт.

11

01010-50830

BOLT

SN: 62001-UP

2шт.

12

04254-10823

SPACER

SN: 62001-UP

4шт.

13

104-43-38180

LEVER

SN: 62001-UP

1шт.

14

104-43-38211

BRACKET

SN: 62178-UP

1шт.

14

0

BRACKET

SN: 62001-62177

1шт.

15

01010-51020

BOLT

SN: 62001-UP

4шт.

16

01643-31032

WASHER

SN: 62001-UP

4шт.

17

104-43-38191

GUIDE

SN: 62058-UP

1шт.

17

0

GUIDE

SN: 62001-62057

1шт.

18

01010-50825

BOLT

SN: 62001-UP

3шт.

19

01643-30823

WASHER

SN: 62001-UP

3шт.

20

01050-51420

BOLT

SN: 62001-UP

1шт.

21

01643-31445

WASHER

SN: 62001-UP

1шт.

Выбрано товаров: 28