Запчасти Komatsu D20PLL-6 ЭЛЕКТРИКА (КАБИНА ROPS) КОМПОНЕНТЫ ДВИГАТЕЛЯ И ЭЛЕКТРИКА

Схема запчастей Komatsu D20PLL-6 - ЭЛЕКТРИКА (КАБИНА ROPS) КОМПОНЕНТЫ ДВИГАТЕЛЯ И ЭЛЕКТРИКА
FIT
1:1
100%

Артикул

Название

Примечание

Количество

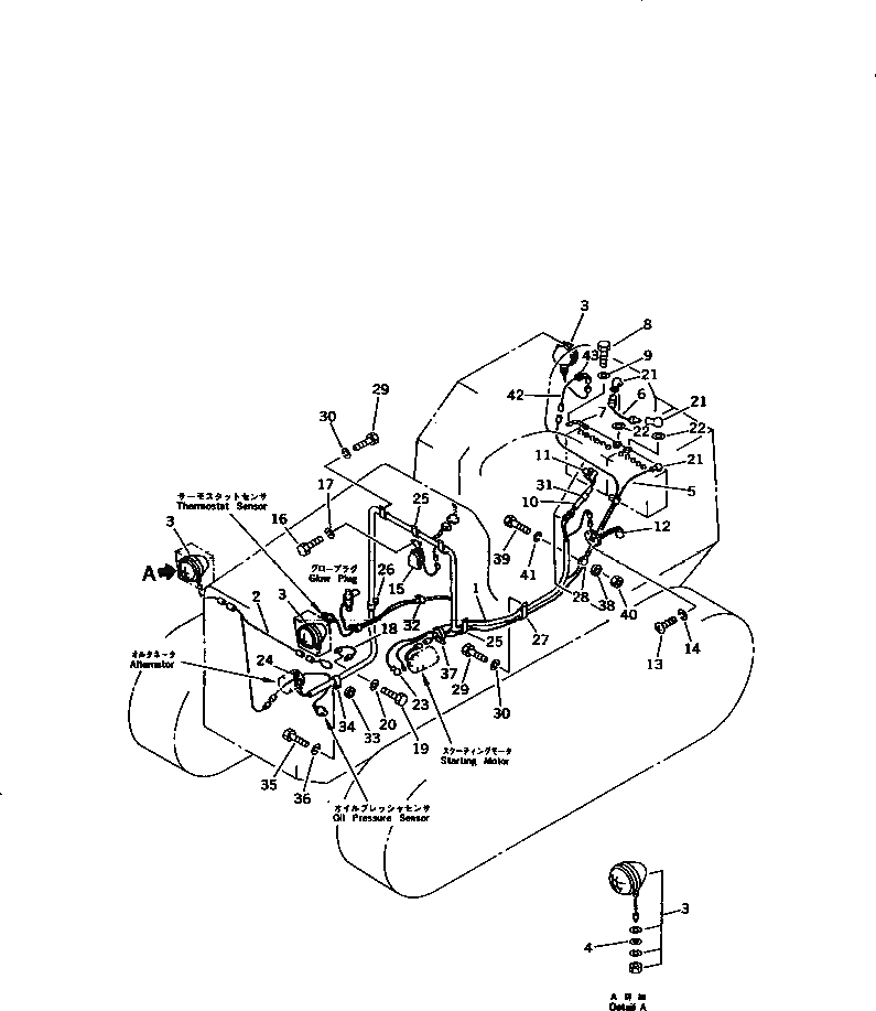
1

104-06-33121

WIRE ASS'Y

SN: 60469-UP

1шт.

1

104-06-33120

WIRE ASS'Y

SN: 60001-60468

1шт.

2

104-06-33110

WIRE ASS'Y

SN: 60001-UP

1шт.

3

08125-02400

LAMP ASS'Y

SN: 60001-UP

3шт.

3

08107-02460

BULB, 60W

SN: 60001-UP

1шт.

3

08125-00006

LENS

SN: 60001-UP

1шт.

4

01643-31232

WASHER

SN: 60001-UP

3шт.

5

103-06-33140

WIRE

SN: 60001-UP

1шт.

6

103-06-31170

WIRE

SN: 60001-UP

1шт.

7

100-06-13150

WIRE

SN: 60001-UP

1шт.

8

01010-51020

BOLT

SN: 60001-UP

1шт.

9

01602-21030

WASHER,SPRING

SN: 60001-UP

1шт.

10

103-06-33130

WIRE ASS'Y

SN: 60001-UP

1шт.

11

08064-10000

SWITCH,HORN

SN: 60001-UP

1шт.

12

103-06-33150

SENSOR,FUEL LEVEL

SN: 60001-UP

1шт.

13

01220-40410

SCREW

SN: 60001-UP

5шт.

14

01601-20410

WASHER,SPRING

SN: 60001-UP

5шт.

15

08160-22400

HORN

SN: 60001-UP

1шт.

16

01010-50816

BOLT

SN: 60001-UP

2шт.

17

01602-20825

WASHER,SPRING

SN: 60001-UP

2шт.

18

103-06-33190

WIRE

SN: 60001-UP

1шт.

19

01010-51016

BOLT

SN: 60001-UP

2шт.

20

01602-21030

WASHER,SPRING

SN: 60001-UP

2шт.

21

08038-04030

CAP

SN: 60001-UP

3шт.

22

01640-20816

WASHER

SN: 60001-UP

4шт.

23

08038-06031

CAP

SN: 60001-UP

1шт.

24

08038-00519

CAP

SN: 60001-UP

1шт.

25

08036-01814

CLIP

SN: 60001-UP

4шт.

26

08036-01214

CLIP

SN: 60001-UP

1шт.

27

140-06-18440

CLIP

SN: 60001-UP

1шт.

28

08036-01414

CLIP

SN: 60001-UP

2шт.

29

01010-51016

BOLT

SN: 60001-UP

7шт.

30

01602-21030

WASHER,SPRING

SN: 60001-UP

7шт.

31

203-06-21150

CLIP

SN: 60001-UP

1шт.

32

08036-10614

CLIP

SN: 60001-UP

3шт.

33

103-21-21260

BOSS

SN: 60001-UP

1шт.

34

08036-00814

CLIP

SN: 60001-UP

1шт.

35

01010-50820

BOLT

SN: 60001-UP

1шт.

36

01602-20825

WASHER,SPRING

SN: 60001-UP

1шт.

37

08034-00414

BAND

SN: 60001-UP

3шт.

38

103-21-21260

BOSS

SN: 60001-UP

1шт.

39

01010-51030

BOLT

SN: 60001-UP

1шт.

40

01580-11008

NUT

SN: 60001-UP

1шт.

41

01602-21030

WASHER,SPRING

SN: 60001-UP

1шт.

42

113-06-43211

WIRE

SN: 60533-UP

1шт.

42

113-06-43210

WIRE

SN: 60001-60532

1шт.

43

20G-54-19950

CAP

SN: 60533-UP

1шт.

43

08037-10310

GROMMET

SN: 60001-60532

1шт.

Выбрано товаров: 48