Запчасти Komatsu D20PLL-6 РУЛЕВ. УПРАВЛЕНИЕ КОРПУС COVER ОСНОВН. МУФТА¤ ДЕМПФЕР ¤ТРАНСМИССИЯ¤ РУЛЕВ. УПРАВЛЕНИЕ И КОНЕЧНАЯ ПЕРЕДАЧА

Схема запчастей Komatsu D20PLL-6 - РУЛЕВ. УПРАВЛЕНИЕ КОРПУС COVER ОСНОВН. МУФТА¤ ДЕМПФЕР ¤ТРАНСМИССИЯ¤ РУЛЕВ. УПРАВЛЕНИЕ И КОНЕЧНАЯ ПЕРЕДАЧА
FIT
1:1
100%

Артикул

Название

Примечание

Количество

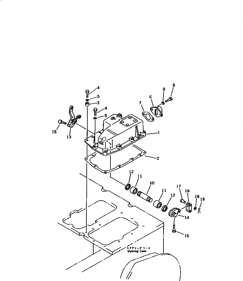
1

103-33-32112

COVER,L.H. (FOR D20PL)

SN: 60086-UP

1шт.

1

103-33-32111

COVER,L.H. (FOR D20PL)

SN: 60001-60085

1шт.

1

103-33-32112

COVER,L.H. (FOR D21PL)

SN: 60106-UP

1шт.

1

103-33-32111

COVER,L.H. (FOR D21PL)

SN: 60001-60105

1шт.

1

103-33-32122

COVER,R.H. (FOR D20PL)

SN: 60086-UP

1шт.

1

103-33-32121

COVER,R.H. (FOR D20PL)

SN: 60001-60085

1шт.

1

103-33-32122

COVER,R.H. (FOR D21PL)

SN: 60106-UP

1шт.

1

103-33-32121

COVER,R.H. (FOR D21PL)

SN: 60001-60105

1шт.

2

103-33-32131

GASKET

SN: 60001-UP

2шт.

3

103-21-31260

BOSS

SN: 60001-UP

6шт.

4

01010-51050

BOLT

SN: 60001-UP

18шт.

5

01643-51032

WASHER

SN: 60001-UP

18шт.

6

113-33-32290

CAP

SN: 60001-UP

2шт.

7

113-33-22170

GASKET

SN: 60001-UP

2шт.

8

01010-51025

BOLT

SN: 60001-UP

4шт.

9

01602-21030

WASHER,SPRING

SN: 60001-UP

4шт.

10

103-33-32210

SHAFT

SN: 60001-UP

2шт.

11

06120-02216

BEARING

SN: 60001-UP

4шт.

12

06122-02204

SEAL,BEARING

SN: 60001-UP

4шт.

13

103-33-22322

LEVER,L.H.

SN: 60001-UP

1шт.

13

103-33-22332

LEVER,R.H.

SN: 60001-UP

1шт.

14

103-33-32250

LEVER

SN: 60001-UP

2шт.

15

01010-51030

BOLT

SN: 60001-UP

4шт.

16

103-33-32240

YOKE

SN: 60001-UP

2шт.

17

04205-11032

PIN

SN: 60001-UP

4шт.

18

01641-21016

WASHER

SN: 60001-UP

4шт.

19

04050-13015

PIN,COTTER

SN: 60001-UP

4шт.

Выбрано товаров: 27