Запчасти Komatsu D20PLL-7 РАБОЧЕЕ ОБОРУДОВАНИЕ НАСОС УПРАВЛ-Е РАБОЧИМ ОБОРУДОВАНИЕМ

Схема запчастей Komatsu D20PLL-7 - РАБОЧЕЕ ОБОРУДОВАНИЕ НАСОС УПРАВЛ-Е РАБОЧИМ ОБОРУДОВАНИЕМ
FIT
1:1
100%

Артикул

Название

Примечание

Количество

|$0

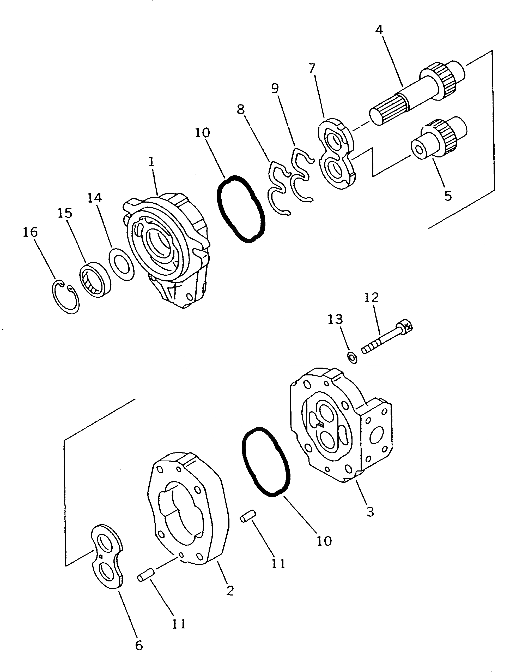
705-61-26010

PUMP ASS'Y (LAL20)

SN: 62001-62453

1шт.

1

0

BRACKET ASS'Y

SN: 62001-62453

1шт.

1

0

BUSHING

SN: 62001-62453

2шт.

2

0

CASE

SN: 62001-62453

1шт.

3

0

COVER ASS'Y

SN: 62001-62453

1шт.

3

0

BUSHING

SN: 62001-62453

2шт.

4

0

GEAR,DRIVE

SN: 62001-62453

1шт.

5

0

GEAR,DRIVEN

SN: 62001-62453

1шт.

6

705-67-01620

PLATE,SIDE

SN: 62001-62453

1шт.

7

705-67-01610

PLATE,SIDE

SN: 62001-62453

1шт.

8

705-67-01440

RING

SN: 62001-62453

1шт.

9

705-17-01470

SEAL,SEAL

SN: 62001-62453

1шт.

10

705-17-01381

O-RING

SN: 62001-62453

2шт.

11

04020-00820

PIN,DOWEL

SN: 62001-62453

4шт.

12

01252-31070

BOLT

SN: 62001-62453

4шт.

13

01643-51032

WASHER

SN: 62001-62453

4шт.

14

705-17-01870

PLATE

SN: 62001-62453

1шт.

15

704-17-01810

SEAL,OIL

SN: 62001-62453

1шт.

16

04065-03515

RING,SNAP

SN: 62001-62453

1шт.

Выбрано товаров: 0