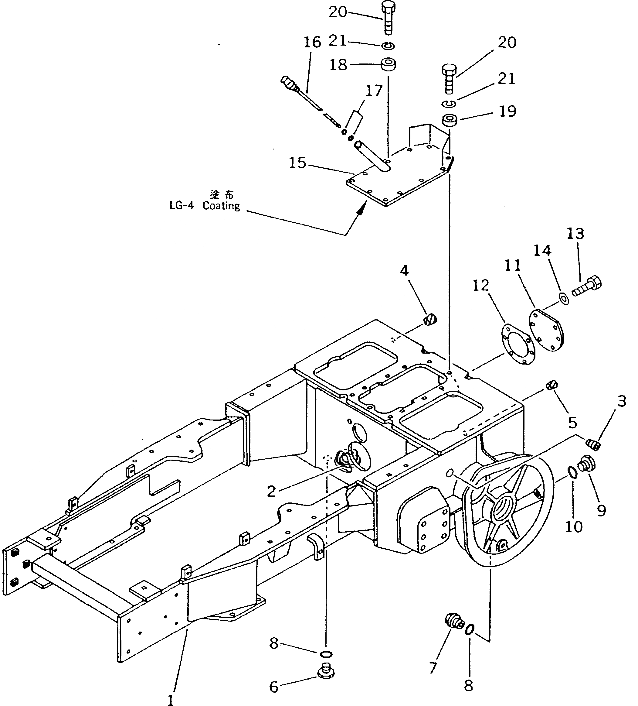
Запчасти Komatsu D20PLL-7 КОРПУС БЛОКА УПРАВЛЕНИЯ ПОВОРОТОМ И ОСНОВНАЯ РАМА (ДЛЯ MONO РЫЧАГ РУЛЕВ. УПРАВЛЕНИЕ) ОСНОВН. МУФТА¤ ДЕМПФЕР¤ ТРАНСМИССИЯ¤ РУЛЕВ. УПРАВЛЕНИЕ И КОНЕЧНАЯ ПЕРЕДАЧА

Схема запчастей Komatsu D20PLL-7 - КОРПУС БЛОКА УПРАВЛЕНИЯ ПОВОРОТОМ И ОСНОВНАЯ РАМА (ДЛЯ MONO РЫЧАГ РУЛЕВ. УПРАВЛЕНИЕ) ОСНОВН. МУФТА¤ ДЕМПФЕР¤ ТРАНСМИССИЯ¤ РУЛЕВ. УПРАВЛЕНИЕ И КОНЕЧНАЯ ПЕРЕДАЧА
FIT
1:1
100%

Артикул

Название

Примечание

Количество

1

10G-21-41100

FRAME

SN: 62454-UP

1шт.

1

10G-21-21103

FRAME

SN: 62244-62453

1шт.

1

10G-21-21102

FRAME

SN: 62178-62243

1шт.

1

0

FRAME

SN: 62001-62177

1шт.

2

103-21-21181

BOSS (WELDED)

SN: 62001-UP

2шт.

3

07043-01019

PLUG

SN: 62001-UP

2шт.

4

104-21-31140

PLUG

SN: 62001-UP

16шт.

5

07049-01012

PLUG

SN: 62001-UP

4шт.

6

07040-12414

PLUG

SN: 62001-UP

2шт.

7

07044-12412

PLUG

SN: 62001-UP

3шт.

8

07002-02434

O-RING

SN: 62001-UP

5шт.

9

07040-13016

PLUG

SN: 62001-UP

2шт.

10

07002-03034

O-RING

SN: 62001-UP

2шт.

11

101-21-11170

PLATE

SN: 62001-UP

1шт.

12

101-21-11161

GASKET

SN: 62131-UP

1шт.

12

0

GASKET

SN: 62001-62130

1шт.

13

01010-51020

BOLT

SN: 62001-UP

6шт.

14

01643-31032

WASHER

SN: 62001-UP

6шт.

15

103-21-31211

COVER

SN: 62001-UP

1шт.

16

103-21-21231

GAUGE

SN: 62001-UP

1шт.

17

07002-02434

O-RING

SN: 62001-UP

2шт.

18

103-21-31260

BOSS

SN: 62001-UP

7шт.

19

581-95-19870

BOSS

SN: 62001-UP

4шт.

20

01010-51045

BOLT

SN: 62001-UP

11шт.

21

01602-21030

WASHER,SPRING

SN: 62001-UP

11шт.

Выбрано товаров: 0