Запчасти Komatsu D20PLL-7 ТОРМОЗ. ОСНОВН. МУФТА¤ ДЕМПФЕР¤ ТРАНСМИССИЯ¤ РУЛЕВ. УПРАВЛЕНИЕ И КОНЕЧНАЯ ПЕРЕДАЧА

Схема запчастей Komatsu D20PLL-7 - ТОРМОЗ. ОСНОВН. МУФТА¤ ДЕМПФЕР¤ ТРАНСМИССИЯ¤ РУЛЕВ. УПРАВЛЕНИЕ И КОНЕЧНАЯ ПЕРЕДАЧА
FIT
1:1
100%

Артикул

Название

Примечание

Количество

|1

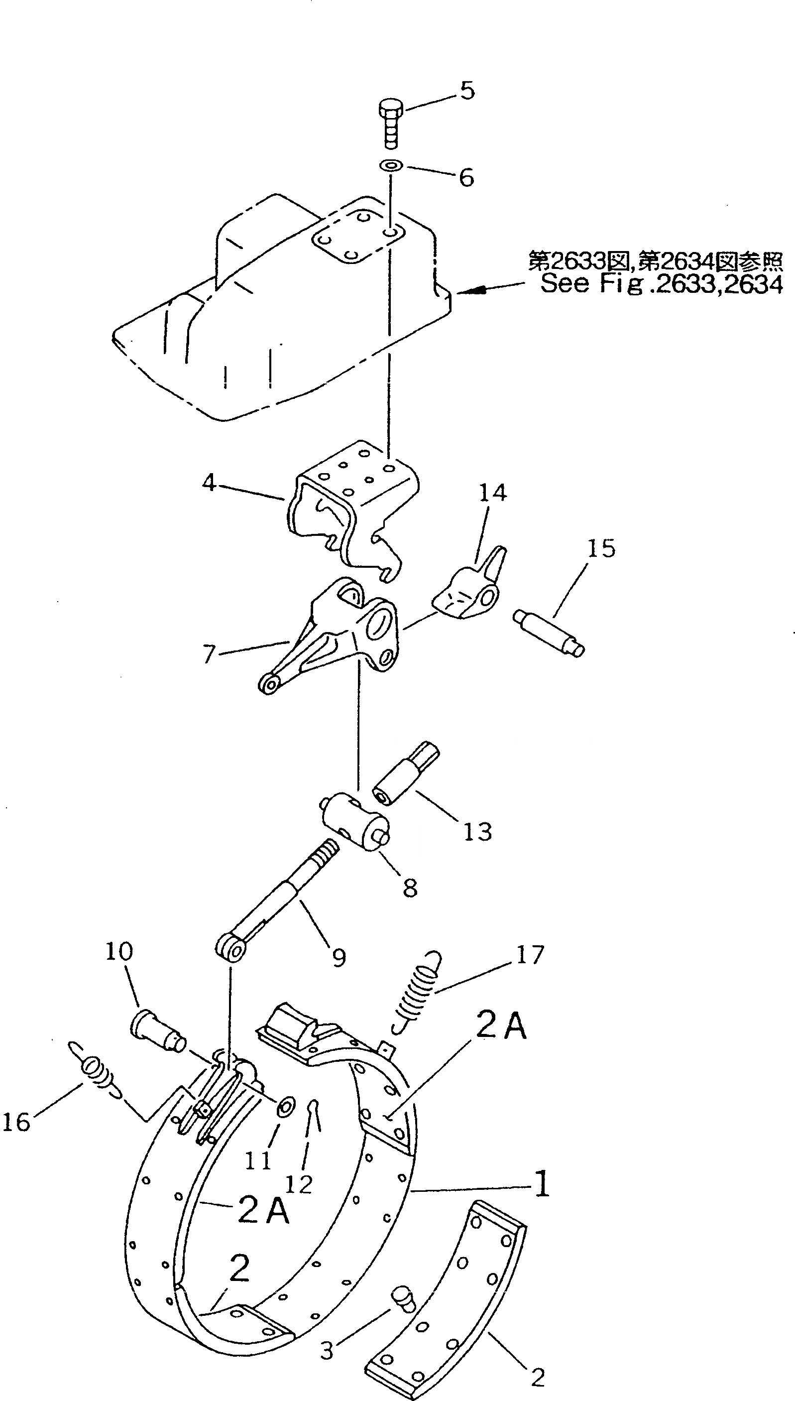
103-33-31321

BAND ASS'Y,BRAKE

SN: 62122-UP

2шт.

|1

0

BAND ASS'Y,BRAKE

SN: 62001-62121

2шт.

1

103-33-31230

BAND

SN: 62001-UP

1шт.

2

103-33-31330

LINING

SN: 62122-UP

2шт.

|2

0

LINING

SN: 62001-62121

2шт.

2A

103-33-31340

LINING

SN: 62122-UP

2шт.

|2A

0

LINING

SN: 62001-62121

2шт.

3

103-33-31160

RIVET

SN: 62001-UP

32шт.

4

103-33-22191

ANCHOR

SN: 62001-UP

2шт.

5

01010-51445

BOLT

SN: 62001-UP

8шт.

6

01643-31445

WASHER

SN: 62001-UP

8шт.

7

103-33-22211

LEVER

SN: 62001-UP

2шт.

8

103-33-22220

PIN

SN: 62001-UP

2шт.

9

103-33-32270

SHAFT

SN: 62001-UP

2шт.

10

103-33-32360

PIN

SN: 62001-UP

2шт.

11

01641-21423

WASHER

SN: 62001-UP

2шт.

12

04050-14025

PIN,COTTER

SN: 62001-UP

2шт.

13

113-33-22280

NUT

SN: 62001-UP

2шт.

14

103-33-22292

END

SN: 62001-UP

2шт.

15

103-33-22230

SHAFT

SN: 62001-UP

2шт.

16

103-33-31310

SPRING

SN: 62001-UP

2шт.

17

135-43-14520

SPRING

SN: 62001-UP

2шт.

Выбрано товаров: 22