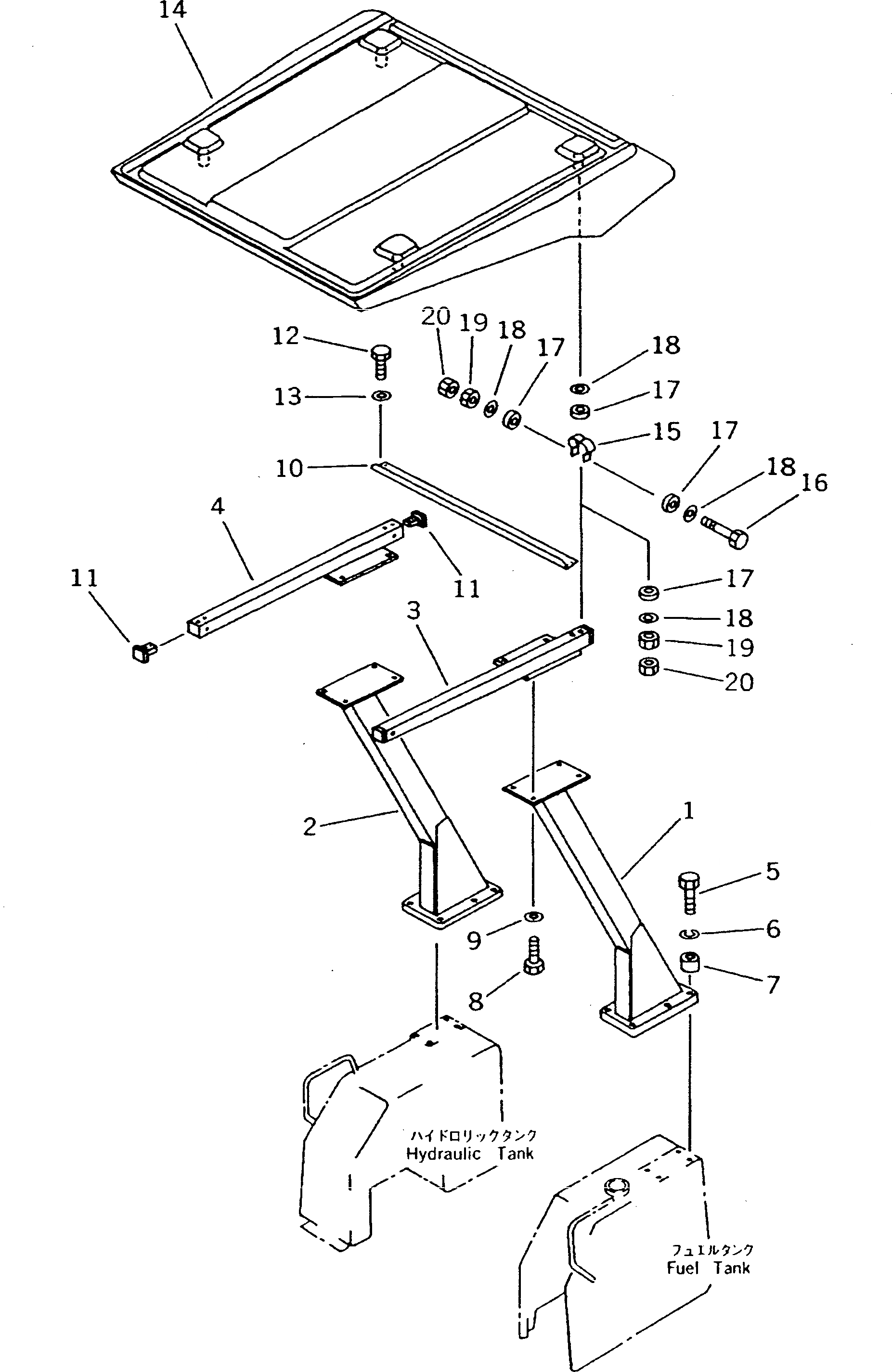
Запчасти Komatsu D20PLL-7 НАВЕС ЧАСТИ КОРПУСА

Схема запчастей Komatsu D20PLL-7 - НАВЕС ЧАСТИ КОРПУСА
FIT
1:1
100%

Артикул

Название

Примечание

Количество

1

113-X06-1520

POLE,L.H.

SN: 62001-62453

1шт.

2

113-X06-1530

POLE,R.H.

SN: 62001-62453

1шт.

3

113-X06-1540

SUPPORT,L.H.

SN: 62001-62453

1шт.

4

113-X06-1550

SUPPORT,R.H.

SN: 62001-62453

1шт.

5

01010-51045

BOLT

SN: 62001-UP

12шт.

6

01602-21030

WASHER,SPRING

SN: 62001-UP

12шт.

7

103-Y06-1140

BOSS

SN: 62001-UP

12шт.

8

01010-51020

BOLT

SN: 62001-UP

8шт.

9

01643-31032

WASHER

SN: 62001-UP

8шт.

10

113-X06-1560

BAR

SN: 62001-UP

2шт.

11

113-X06-1570

BRACKET

SN: 62001-UP

4шт.

12

01010-51225

BOLT

SN: 62001-UP

8шт.

13

01643-31232

WASHER

SN: 62001-UP

8шт.

14

113-X06-1610

ROOF

SN: 62001-UP

1шт.

15

417-54-18260

BELT,BAND

SN: 62001-UP

4шт.

16

417-54-18280

BOLT

SN: 62001-UP

4шт.

17

417-54-18270

CUSHION

SN: 62001-UP

16шт.

18

417-54-18240

WASHER

SN: 62001-UP

16шт.

19

417-54-18310

NUT

SN: 62001-UP

8шт.

20

417-54-18290

NUT

SN: 62001-UP

8шт.

Выбрано товаров: 20