Запчасти Komatsu D20PLL-7 ROPS КОРПУС ЧАСТИ КОРПУСА

Схема запчастей Komatsu D20PLL-7 - ROPS КОРПУС ЧАСТИ КОРПУСА
FIT
1:1
100%

Артикул

Название

Примечание

Количество

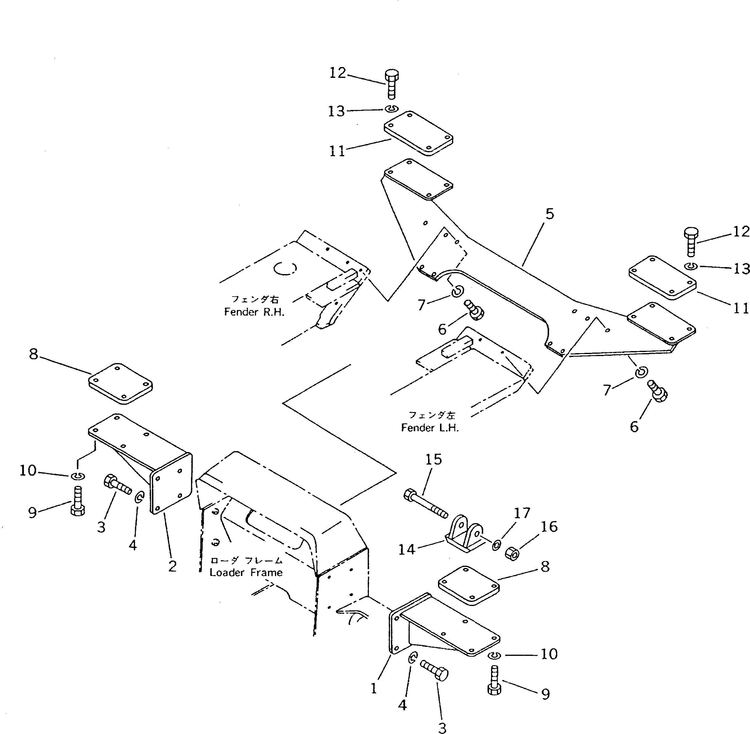
1

104-Y78-2130

BRACKET,FRONT¤ L.H.

SN: 62001-UP

1шт.

2

104-Y78-2140

BRACKET,FRONT¤ R.H.

SN: 62001-UP

1шт.

3

01010-51440

BOLT

SN: 62001-UP

8шт.

4

01643-31445

WASHER

SN: 62001-UP

8шт.

5

103-Y78-2210

BRACKET,REAR

SN: 62001-UP

1шт.

6

01010-51440

BOLT

SN: 62001-UP

10шт.

7

01643-31445

WASHER

SN: 62001-UP

10шт.

8

103-Z78-1140

SEAT,FRONT

SN: 62001-UP

2шт.

9

01010-51440

BOLT

SN: 62001-UP

8шт.

10

01643-31445

WASHER

SN: 62001-UP

8шт.

11

103-Z78-1150

SEAT,REAR

SN: 62001-UP

2шт.

12

01010-51445

BOLT

SN: 62001-UP

8шт.

13

01643-31445

WASHER

SN: 62001-UP

8шт.

14

113-Y78-1190

BRACKET,(FOR ROPS CAB)

SN: 62001-UP

4шт.

15

141-978-2150

BOLT,(FOR ROPS CAB)

SN: 62001-UP

4шт.

16

175-978-3210

NUT,(FOR ROPS CAB)

SN: 62001-UP

4шт.

17

01643-32780

WASHER,(FOR ROPS CAB)

SN: 62001-UP

4шт.

Выбрано товаров: 17