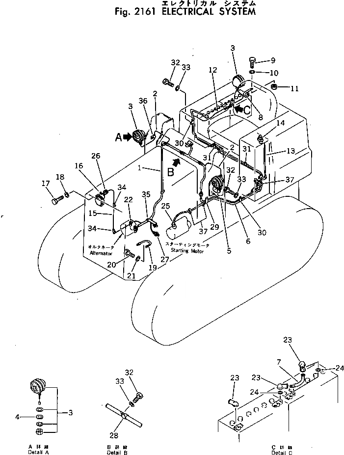
Запчасти Komatsu D20Q-5 ЭЛЕКТРИКА КОМПОНЕНТЫ ДВИГАТЕЛЯ И ЭЛЕКТРИКА

Схема запчастей Komatsu D20Q-5 - ЭЛЕКТРИКА КОМПОНЕНТЫ ДВИГАТЕЛЯ И ЭЛЕКТРИКА
FIT
1:1
100%

Артикул

Название

Примечание

Количество

1

103-06-23112

WIRE ASS'Y

SN: 50495-UP

1шт.

1

103-06-23111

WIRE ASS'Y

SN: .-50494

1шт.

1

0

WIRE ASS'Y

SN: 45368-.

1шт.

2

103-06-23160

WIRE ASS'Y

SN: 45368-UP

2шт.

3

113-06-23160

LAMP

SN: 45368-UP

3шт.

4

01643-31232

WASHER

SN: 45368-UP

3шт.

5

103-06-23121

WIRE ASS'Y

SN: 50495-UP

1шт.

5

103-06-23120

WIRE ASS'Y

SN: 45368-50494

1шт.

6

103-06-23141

WIRE

SN: 48860-UP

1шт.

6

0

WIRE

SN: 45368-48859

1шт.

7

103-06-21170

WIRE

SN: 45368-UP

1шт.

8

100-06-13150

WIRE

SN: 45368-UP

1шт.

9

01010-31020

BOLT

SN: 45368-UP

1шт.

10

01602-01030

WASHER,SPRING

SN: 45368-UP

1шт.

11

01580-01008

NUT

SN: 45368-UP

1шт.

12

103-06-23150

WIRE

SN: 45368-UP

1шт.

13

113-06-23131

WIRE

SN: 47897-UP

1шт.

13

113-06-23130

WIRE

SN: 45368-47896

1шт.

14

08064-10000

SWITCH,HORN

SN: 45368-UP

1шт.

15

103-06-23130

WIRE

SN: 45368-UP

1шт.

16

08160-42400

HORN

SN: 45368-UP

1шт.

17

01010-30812

BOLT

SN: 45368-UP

2шт.

18

01602-00825

WASHER,SPRING

SN: 45368-UP

2шт.

19

103-06-23190

WIRE

SN: 45368-UP

1шт.

20

01010-31016

BOLT

SN: 45368-UP

2шт.

21

01602-01030

WASHER,SPRING

SN: 45368-UP

2шт.

22

08038-00518

CAP

SN: 45368-UP

2шт.

23

08038-04030

CAP

SN: 45368-UP

3шт.

24

01640-21016

WASHER

SN: 45368-UP

2шт.

25

08038-06031

CAP

SN: 45368-UP

1шт.

26

08037-01008

GROMMET

SN: 45368-UP

1шт.

27

08073-00505

SWITCH,PRESSURE

SN: 45368-UP

1шт.

28

08036-11210

CLIP

SN: 45368-UP

5шт.

29

08036-01814

CLIP

SN: 45368-UP

1шт.

30

140-06-18440

CLIP

SN: 45368-UP

2шт.

31

08036-01414

CLIP

SN: 45368-UP

3шт.

32

01010-31016

BOLT

SN: 45368-UP

11шт.

33

01602-01030

WASHER,SPRING

SN: 45368-UP

11шт.

34

08036-10614

CLIP

SN: 45368-UP

2шт.

35

113-06-23230

CLIP

SN: 45368-UP

1шт.

36

130-802-5110

CLIP

SN: 45368-UP

2шт.

37

08034-00414

BAND

SN: 45368-UP

3шт.

Выбрано товаров: 42