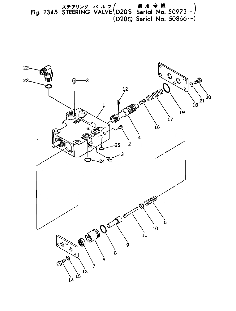
Запчасти Komatsu D20Q-5 КЛАПАН РУЛЕВОГО УПРАВЛЕНИЯ(№8-) СИСТЕМАУПРАВЛЕНИЯ ПОВОРОТОМ И КОНЕЧНАЯ ПЕРЕДАЧА

Схема запчастей Komatsu D20Q-5 - КЛАПАН РУЛЕВОГО УПРАВЛЕНИЯ(№8-) СИСТЕМАУПРАВЛЕНИЯ ПОВОРОТОМ И КОНЕЧНАЯ ПЕРЕДАЧА
FIT
1:1
100%

Артикул

Название

Примечание

Количество

|$0

103-40-00011

VALVE ASS'Y

SN: 51031-UP

1шт.

|$1

0

VALVE ASS'Y

SN: 50866-51030

1шт.

|$2

120-40-00021

BODY ASS'Y

SN: 50866-UP

1шт.

1

0

BODY

SN: 50866-UP

1шт.

2

07043-00108

PLUG

SN: 50866-UP

1шт.

3

07042-20108

PLUG

SN: 50866-UP

5шт.

4

120-40-32110

SPOOL

SN: 51031-UP

2шт.

4

0

SPOOL

SN: 50866-51030

2шт.

5

103-40-21211

SPRING

SN: 51031-UP

2шт.

5

103-40-21210

SPRING

SN: 50866-51030

2шт.

6

120-40-31431

COLLAR

SN: 50866-UP

2шт.

7

113-15-29110

SEAL,OIL

SN: 50866-UP

2шт.

8

07000-03025

O-RING

SN: 50866-UP

2шт.

9

120-40-32120

STEM

SN: 51031-UP

2шт.

9

0

STEM

SN: 50866-51030

2шт.

10

120-40-32130

COLLAR

SN: 51031-UP

2шт.

10

0

GUIDE

SN: 50866-51030

2шт.

11

120-40-31483

SHAFT

SN: 50866-UP

2шт.

12

04025-00316

PIN,SPRING

SN: 50866-UP

2шт.

13

120-40-31361

PLATE

SN: 50866-UP

1шт.

14

01010-30820

BOLT

SN: 50866-UP

3шт.

15

01602-00825

WASHER,SPRING

SN: 50866-UP

3шт.

16

702-11-11190

PISTON

SN: 50866-UP

2шт.

17

120-40-32140

SPRING

SN: 51031-UP

2шт.

17

120-40-31521

SPRING

SN: 50866-51030

2шт.

18

120-40-31451

PLATE

SN: 50866-UP

1шт.

19

07000-03030

O-RING

SN: 50866-UP

2шт.

20

01010-30820

BOLT

SN: 50866-UP

5шт.

21

01602-00825

WASHER,SPRING

SN: 50866-UP

5шт.

22

07235-10315

ELBOW

SN: 50866-UP

2шт.

23

07002-02034

O-RING

SN: 50866-UP

2шт.

24

07000-02020

O-RING

SN: 50866-UP

2шт.

25

07000-02012

O-RING

SN: 50866-UP

3шт.

Выбрано товаров: 33