Запчасти Komatsu D20Q-6 ЭЛЕКТРИКА КОМПОНЕНТЫ ДВИГАТЕЛЯ И ЭЛЕКТРИКА

Схема запчастей Komatsu D20Q-6 - ЭЛЕКТРИКА КОМПОНЕНТЫ ДВИГАТЕЛЯ И ЭЛЕКТРИКА
FIT
1:1
100%

Артикул

Название

Примечание

Количество

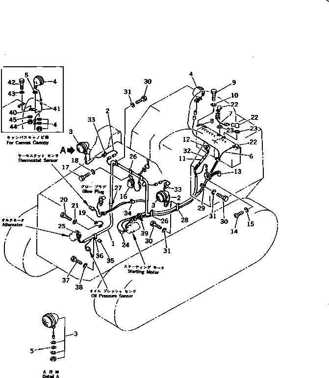
1

103-06-33111

WIRE ASS'Y

SN: 60233-UP

1шт.

|1

103-06-33110

WIRE ASS'Y

SN: 60001-60232

1шт.

2

103-06-23160

WIRE ASS'Y

SN: 60001-UP

2шт.

3

113-06-23160

LAMP

SN: 60001-UP

2шт.

4

08125-02400

LAMP ASS'Y

SN: 60001-UP

1шт.

|4

08107-02460

BULB¤ 60W

SN: 60001-UP

1шт.

|4

08125-00006

LENS

SN: 60001-UP

1шт.

5

01643-31232

WASHER

SN: 60001-UP

3шт.

6

103-06-33140

WIRE

SN: 60001-UP

1шт.

7

103-06-31170

WIRE

SN: 60001-UP

1шт.

8

100-06-13150

WIRE

SN: 60001-UP

1шт.

9

01010-51020

BOLT

SN: 60001-UP

1шт.

10

01602-21030

WASHER,SPRING

SN: 60001-UP

1шт.

11

103-06-33130

WIRE ASS'Y

SN: 60001-UP

1шт.

12

08064-10000

SWITCH,HORN

SN: 60001-UP

1шт.

13

103-06-33150

SENSOR,FUEL LEVEL

SN: 60001-UP

1шт.

14

01220-40410

SCREW

SN: 60001-UP

5шт.

15

01601-20410

WASHER,SPRING

SN: 60001-UP

5шт.

16

08160-22400

HORN

SN: 60001-UP

1шт.

17

01010-50816

BOLT

SN: 60001-UP

2шт.

18

01602-20825

WASHER,SPRING

SN: 60001-UP

2шт.

19

103-06-33190

WIRE

SN: 60001-UP

1шт.

20

01010-51016

BOLT

SN: 60001-UP

2шт.

21

01602-21030

WASHER,SPRING

SN: 60001-UP

2шт.

22

08038-04030

CAP

SN: 60001-UP

3шт.

23

01640-20816

WASHER

SN: 60001-UP

4шт.

24

08038-06031

CAP

SN: 60001-UP

1шт.

25

08038-00519

CAP

SN: 60001-UP

1шт.

26

08036-01814

CLIP

SN: 60001-UP

4шт.

27

08036-01214

CLIP

SN: 60001-UP

1шт.

28

140-06-18440

CLIP

SN: 60001-UP

1шт.

29

08036-01414

CLIP

SN: 60001-UP

2шт.

30

01010-51016

BOLT

SN: 60001-UP

8шт.

31

01602-21030

WASHER,SPRING

SN: 60001-UP

8шт.

32

203-06-21150

CLIP

SN: 60001-UP

1шт.

33

130-802-5110

CLIP

SN: 60001-UP

2шт.

34

08036-10614

CLIP

SN: 60001-UP

2шт.

35

103-21-21260

BOSS

SN: 60001-UP

1шт.

36

08036-00814

CLIP

SN: 60001-UP

1шт.

37

01010-50820

BOLT

SN: 60001-UP

1шт.

38

01602-20825

WASHER,SPRING

SN: 60001-UP

1шт.

39

08034-00414

BAND

SN: 60001-UP

3шт.

40

104-06-23140

PLATE

SN: 60001-UP

1шт.

41

101-Y69-1140

WIRE

SN: 60001-UP

1шт.

42

01010-51025

BOLT

SN: 60001-UP

1шт.

43

01643-31032

WASHER

SN: 60001-UP

1шт.

44

01580-11008

NUT

SN: 60001-UP

1шт.

45

01602-21030

WASHER,SPRING

SN: 60001-UP

1шт.

Выбрано товаров: 48