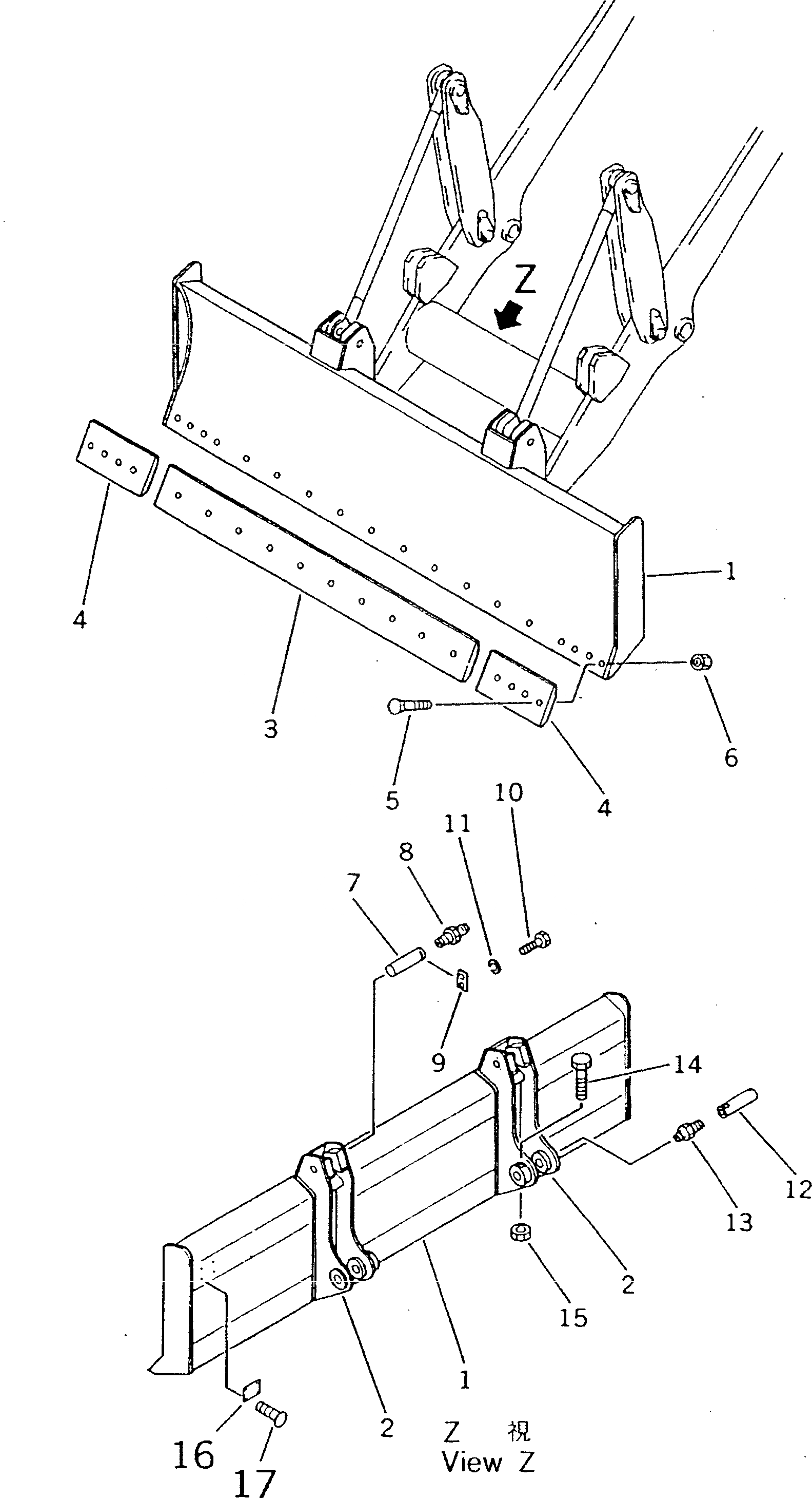
Запчасти Komatsu D20Q-7 ПРЯМ. DOZER РАБОЧЕЕ ОБОРУДОВАНИЕ

Схема запчастей Komatsu D20Q-7 - ПРЯМ. DOZER РАБОЧЕЕ ОБОРУДОВАНИЕ
FIT
1:1
100%

Артикул

Название

Примечание

Количество

1

10K-Y27-1110

BLADE

SN: 61001-UP

1шт.

2

10K-Y27-1120

BRACKET,L.H. (WELDED)

SN: 61001-UP

1шт.

|2

10K-Y27-1130

BRACKET,R.H. (WELDED)

SN: 61001-UP

1шт.

3

104-72-21140

EDGE

SN: 61001-UP

1шт.

4

12F-929-2170

BIT,END

SN: 61001-UP

2шт.

5

02090-10840

BOLT

SN: 61001-UP

18шт.

6

02290-10813

NUT

SN: 61001-UP

18шт.

7

103-70-32180

PIN

SN: 61001-UP

2шт.

8

07020-00000

FITTING,GREASE

SN: 61001-UP

2шт.

9

04082-00110

LOCK

SN: 61001-UP

2шт.

10

01010-51030

BOLT

SN: 61001-UP

4шт.

11

01602-21030

WASHER,SPRING

SN: 61001-UP

4шт.

12

103-70-22170

PIN

SN: 61001-UP

2шт.

13

07020-00000

FITTING,GREASE

SN: 61001-UP

2шт.

14

01011-51000

BOLT

SN: 61001-UP

2шт.

15

01598-01011

NUT

SN: 61001-UP

2шт.

16

09601-00835

PLATE¤ NAME,(LIMITED SUPPLY)

SN: 61001-UP

1шт.

17

04418-13060

SCREW

SN: 61001-UP

4шт.

Выбрано товаров: 18