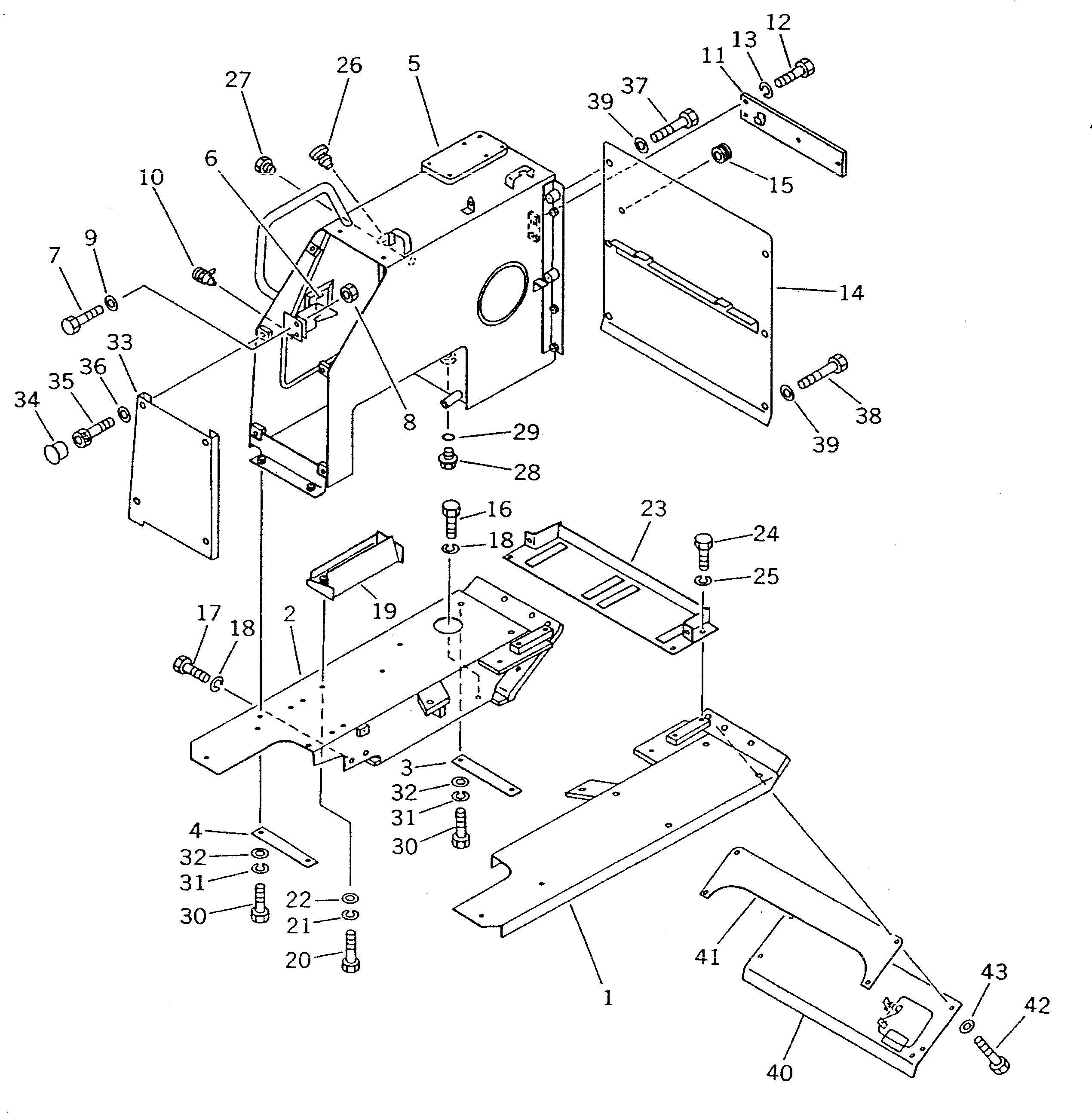
Запчасти Komatsu D20Q-7 ЗАДН. КРЫШКА И ГИДР. БАК. (ДЛЯ SHAKEN BUHIN) ЧАСТИ КОРПУСА

Схема запчастей Komatsu D20Q-7 - ЗАДН. КРЫШКА И ГИДР. БАК. (ДЛЯ SHAKEN BUHIN) ЧАСТИ КОРПУСА
FIT
1:1
100%

Артикул

Название

Примечание

Количество

1

104-54-39340

FENDER,L.H.

SN: 61001-@

1шт.

2

103-54-39141

FENDER,R.H.

SN: 61001-@

1шт.

3

103-54-34450

PLATE

SN: 61001-@

1шт.

4

103-54-34460

PLATE

SN: 61001-@

1шт.

5

104-54-39410

CASE

SN: 61001-61131

1шт.

6

09461-00020

LEVER ASS'Y (WELDED)

SN: 61001-@

1шт.

7

01010-51025

BOLT

SN: 61001-@

2шт.

8

01580-01008

NUT

SN: 61001-@

2шт.

9

01643-31032

WASHER

SN: 61001-@

2шт.

10

205-60-71220

LOCK ASS'Y

SN: 61001-@

1шт.

11

113-C60-1160

PLATE

SN: 61001-@

1шт.

12

01010-50825

BOLT

SN: 61001-@

2шт.

13

01602-20825

WASHER,SPRING

SN: 61001-@

2шт.

14

104-54-34170

COVER

SN: 61001-61131

1шт.

15

20G-54-19950

CAP

SN: 61001-@

1шт.

16

01010-51435

BOLT

SN: 61001-@

8шт.

17

01010-51440

BOLT

SN: 61001-@

4шт.

18

01602-21442

WASHER,SPRING

SN: 61001-@

12шт.

19

103-54-34440

BOX

SN: 61001-@

1шт.

20

01010-50820

BOLT

SN: 61001-@

3шт.

21

01602-20825

WASHER,SPRING

SN: 61001-@

3шт.

22

01643-30823

WASHER

SN: 61001-@

3шт.

23

103-54-34430

PLATE

SN: 61001-61131

1шт.

|23

103-54-39510

PLATE,(FOR ADDITIONAL FUEL STRAINER)

SN: 61001-61131

1шт.

24

01010-51020

BOLT

SN: 61001-@

4шт.

25

01602-21030

WASHER,SPRING

SN: 61001-@

4шт.

26

10E-03-11130

CAP

SN: 61001-@

1шт.

27

20N-60-11142

GAUGE

SN: 61076-@

1шт.

|27

0

GAUGE

SN: 61001-61075

1шт.

|27

20N-60-11181

GASKET

SN: 61076-@

1шт.

|27

0

GASKET

SN: 61001-61075

1шт.

28

07044-12412

PLUG

SN: 61001-@

1шт.

29

07002-02434

O-RING

SN: 61001-@

1шт.

30

01010-51240

BOLT

SN: 61001-@

4шт.

31

01602-21236

WASHER,SPRING

SN: 61001-@

4шт.

32

01643-31232

WASHER

SN: 61001-@

4шт.

33

104-54-34340

COVER,R.H.

SN: 61001-@

1шт.

34

114-54-43260

PLUG

SN: 61001-@

4шт.

35

01252-30825

BOLT

SN: 61001-@

4шт.

36

01643-30823

WASHER

SN: 61001-@

4шт.

37

01010-51450

BOLT

SN: 61001-@

4шт.

38

01010-51430

BOLT

SN: 61001-@

2шт.

39

01643-31445

WASHER

SN: 61001-@

6шт.

40

103-54-34151

COVER

SN: 61001-@

1шт.

41

103-54-34160

BRACKET

SN: 61001-@

1шт.

42

01010-51435

BOLT

SN: 61001-@

4шт.

43

01643-31445

WASHER

SN: 61001-@

4шт.

Выбрано товаров: 47