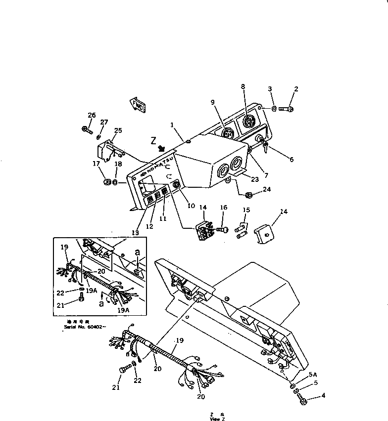
Запчасти Komatsu D20QG-6 ПАНЕЛЬ ПРИБОРОВ (ДЛЯ РЫЧАГ РУЛЕВ. УПРАВЛЕНИЕ) КОМПОНЕНТЫ ДВИГАТЕЛЯ И ЭЛЕКТРИКА

Схема запчастей Komatsu D20QG-6 - ПАНЕЛЬ ПРИБОРОВ (ДЛЯ РЫЧАГ РУЛЕВ. УПРАВЛЕНИЕ) КОМПОНЕНТЫ ДВИГАТЕЛЯ И ЭЛЕКТРИКА
FIT
1:1
100%

Артикул

Название

Примечание

Количество

1

103-06-32211

PANEL

SN: 60402-UP

1шт.

|1

103-06-32210

PANEL

SN: 60001-60401

1шт.

2

23S-06-14990

SCREW

SN: 60001-UP

2шт.

3

362-06-21140

WASHER

SN: 60001-UP

2шт.

4

01010-51035

BOLT

SN: 60001-UP

3шт.

5

01602-21030

WASHER,SPRING

SN: 60001-UP

3шт.

5A

01643-31032

WASHER

SN: 60001-UP

3шт.

6

08086-10000

SWITCH,STARTING

SN: 60001-UP

1шт.

7

08061-60011

SWITCH,LAMP

SN: 60001-UP

1шт.

8

103-06-32280

GAUGE,WATER TEMPERATURE

SN: 60001-UP

1шт.

9

08687-22403

METER,SERVICE

SN: 60001-UP

1шт.

10

600-815-1361

SIGNAL,GLOW

SN: 60001-UP

1шт.

11

103-06-32260

LAMP¤ INDICATOR,FUEL

SN: 60001-UP

1шт.

|11

08111-01230

BULB¤ 4W

SN: 60001-UP

1шт.

12

103-06-32250

LAMP¤ INDICATOR,ENGINE OIL PRESSURE

SN: 60001-UP

1шт.

|12

08111-12430

BULB¤ 3W

SN: 60001-UP

1шт.

13

103-06-32240

LAMP¤ INDICATOR,CHARGE

SN: 60001-UP

1шт.

|13

08111-12430

BULB¤ 3W

SN: 60001-UP

1шт.

14

08043-04000

BOX,FUSE

SN: 60001-UP

1шт.

15

08040-01000

FUSE¤ 10A

SN: 60001-UP

2шт.

|15

08040-02000

FUSE¤ 20A

SN: 60001-UP

1шт.

16

01220-40520

SCREW

SN: 60001-UP

2шт.

17

01580-10504

NUT

SN: 60001-UP

2шт.

18

01601-20513

WASHER,SPRING

SN: 60001-UP

2шт.

19

103-06-32221

WIRE ASS'Y

SN: 60233-UP

1шт.

|19

103-06-32220

WIRE ASS'Y

SN: 60001-60232

1шт.

19A

203-06-56510

CLIP

SN: 60402-UP

2шт.

20

08034-00310

BAND

SN: 60402-UP

2шт.

|20

08036-01814

CLIP

SN: 60001-60401

2шт.

21

01010-51020

BOLT

SN: 60402-UP

1шт.

|21

01010-51020

BOLT

SN: 60001-60401

2шт.

22

01602-21030

WASHER,SPRING

SN: 60402-UP

1шт.

|22

01602-21030

WASHER,SPRING

SN: 60001-60401

2шт.

23

130-54-61270

GUIDE

SN: 60001-UP

2шт.

24

08037-01008

GROMMET

SN: 60001-UP

1шт.

25

103-06-32270

REGULATOR

SN: 60001-UP

1шт.

26

01220-40408

SCREW

SN: 60001-UP

2шт.

27

01601-20410

WASHER,SPRING

SN: 60001-UP

2шт.

Выбрано товаров: 38