Запчасти Komatsu D20QG-6 ТОПЛ. БАК И ТОПЛИВОПРОВОД (КАБИНА ROPS) КОМПОНЕНТЫ ДВИГАТЕЛЯ И ЭЛЕКТРИКА

Схема запчастей Komatsu D20QG-6 - ТОПЛ. БАК И ТОПЛИВОПРОВОД (КАБИНА ROPS) КОМПОНЕНТЫ ДВИГАТЕЛЯ И ЭЛЕКТРИКА
FIT
1:1
100%

Артикул

Название

Примечание

Количество

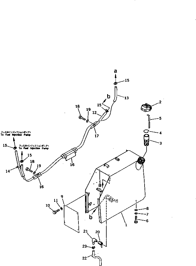
1

103-04-39161

TANK

SN: 60233-UP

1шт.

|1

103-04-39160

TANK

SN: 60001-60232

1шт.

2

07050-20920

CAP ASS'Y

SN: 60001-UP

1шт.

|2

07050-20922

GASKET

SN: 60001-UP

1шт.

3

07056-16415

STRAINER

SN: 60001-UP

1шт.

4

07057-03266

RING,SNAP

SN: 60001-UP

1шт.

5

103-04-31120

GAUGE

SN: 60001-UP

1шт.

6

01010-51230

BOLT

SN: 60001-UP

4шт.

7

01602-21236

WASHER,SPRING

SN: 60001-UP

4шт.

8

01643-31232

WASHER

SN: 60001-UP

4шт.

9

103-54-34320

PLATE

SN: 60001-UP

1шт.

10

01010-51020

BOLT

SN: 60001-UP

4шт.

11

01643-31032

WASHER

SN: 60001-UP

4шт.

12

07288-01016

HOSE

SN: 60001-UP

1шт.

13

07288-01022

HOSE

SN: 60001-UP

1шт.

14

08034-00414

BAND

SN: 60001-UP

1шт.

15

07281-00197

CLAMP

SN: 60001-UP

4шт.

16

08036-03014

CLIP

SN: 60001-UP

3шт.

17

08036-02514

CLIP

SN: 60001-UP

1шт.

18

01010-51016

BOLT

SN: 60001-UP

4шт.

19

01602-21030

WASHER,SPRING

SN: 60001-UP

4шт.

20

07700-40240

VALVE

SN: 60001-UP

1шт.

21

124-04-21250

ELBOW

SN: 60001-UP

1шт.

22

07270-01235

TUBE

SN: 60133-UP

1шт.

|22

07270-01225

TUBE

SN: 60001-60132

1шт.

23

07285-00150

CLIP

SN: 60001-UP

1шт.

Выбрано товаров: 26