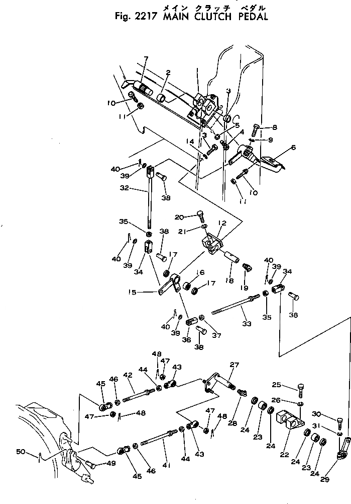
Запчасти Komatsu D20S-5 ОСНОВН. МУФТА ПЕДАЛЬ ОСНОВН. МУФТА И ТРАНСМИССИЯ

Схема запчастей Komatsu D20S-5 - ОСНОВН. МУФТА ПЕДАЛЬ ОСНОВН. МУФТА И ТРАНСМИССИЯ
FIT
1:1
100%

Артикул

Название

Примечание

Количество

|$0

103-43-00050

BRACKET ASS'Y

SN: 45001-UP

1шт.

1

0

BRACKET

SN: 45001-UP

1шт.

2

09350-03020

BUSHING

SN: 45001-UP

1шт.

3

09350-02520

BUSHING

SN: 45001-UP

1шт.

4

01010-31030

BOLT

SN: 45001-UP

2шт.

5

01602-01030

WASHER,SPRING

SN: 45001-UP

2шт.

6

102-43-43210

PEDAL

SN: 45001-UP

1шт.

7

102-43-43112

LEVER

SN: 51668-UP

1шт.

7

0

LEVER

SN: 45001-51667

1шт.

8

01010-31030

BOLT

SN: 45001-UP

1шт.

9

01602-01030

WASHER,SPRING

SN: 45001-UP

1шт.

10

113-43-21340

BUMPER

SN: 45001-UP

2шт.

11

01580-01008

NUT

SN: 45001-UP

2шт.

12

102-43-43240

BRACKET

SN: 45001-UP

1шт.

13

01010-31025

BOLT

SN: 45001-UP

2шт.

14

01602-01030

WASHER,SPRING

SN: 45001-UP

2шт.

15

102-43-43290

LEVER

SN: 45001-UP

1шт.

16

06120-02016

BEARING,NEEDLE

SN: 45001-UP

1шт.

17

06122-02004

SEAL,BEARING

SN: 45001-UP

2шт.

18

102-43-43251

SHAFT

SN: 45001-UP

1шт.

19

07020-00900

FITTING,GREASE

SN: 45001-UP

1шт.

20

01010-31035

BOLT

SN: 45001-UP

1шт.

21

01602-01030

WASHER,SPRING

SN: 45001-UP

1шт.

22

102-43-43310

BRACKET

SN: 45001-UP

1шт.

23

06120-02016

BEARING,NEEDLE

SN: 45001-UP

2шт.

24

06122-02004

SEAL,BEARING

SN: 45001-UP

4шт.

25

01010-31040

BOLT

SN: 45001-UP

2шт.

26

01602-01030

WASHER,SPRING

SN: 45001-UP

2шт.

27

102-43-43260

LEVER

SN: 45001-UP

1шт.

28

07020-00900

FITTING,GREASE

SN: 45001-UP

1шт.

29

102-43-43270

LEVER

SN: 45001-UP

1шт.

30

01010-30830

BOLT

SN: 45001-UP

1шт.

31

01602-00825

WASHER,SPRING

SN: 45001-UP

1шт.

32

04244-41032

ROD

SN: 45001-UP

1шт.

33

04248-31029

ROD

SN: 45001-UP

1шт.

34

04210-21040

YOKE

SN: 45001-UP

2шт.

35

01582-01008

NUT

SN: 45001-UP

2шт.

36

04220-21040

YOKE,L.H. THREAD

SN: 45001-UP

1шт.

37

01508-11006

NUT, L.H. THREAD,L.H. THREAD

SN: 45001-UP

1шт.

38

04205-01030

PIN

SN: 45001-UP

4шт.

39

01641-21016

WASHER

SN: 45001-UP

4шт.

40

04050-03015

PIN,COTTER

SN: 45001-UP

4шт.

41

04248-31018

ROD

SN: 45001-UP

1шт.

42

04248-31017

ROD

SN: 45001-UP

1шт.

43

04250-41056

END,ROD

SN: 45001-UP

2шт.

44

01582-01008

NUT

SN: 45001-UP

2шт.

45

04250-61056

END,ROD, L.H. THREAD

SN: 45001-UP

2шт.

46

01508-11006

NUT, L.H. THREAD,L.H. THREAD

SN: 45001-UP

2шт.

47

01593-01008

NUT

SN: 45001-UP

3шт.

48

04050-02018

PIN,COTTER

SN: 45001-UP

3шт.

49

04205-01032

PIN

SN: 45001-UP

1шт.

50

04050-03015

PIN,COTTER

SN: 45001-UP

1шт.

Выбрано товаров: 52