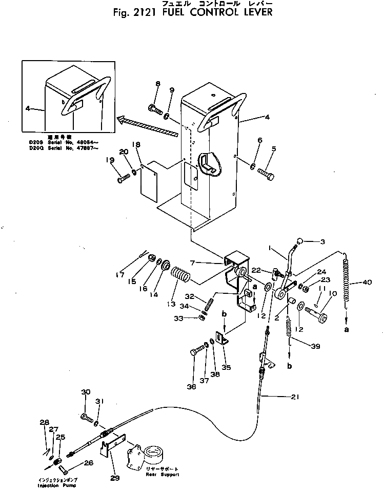
Запчасти Komatsu D20S-5 РЫЧАГ УПРАВЛ-Я ПОДАЧЕЙ ТОПЛИВА КОМПОНЕНТЫ ДВИГАТЕЛЯ И ЭЛЕКТРИКА

Схема запчастей Komatsu D20S-5 - РЫЧАГ УПРАВЛ-Я ПОДАЧЕЙ ТОПЛИВА КОМПОНЕНТЫ ДВИГАТЕЛЯ И ЭЛЕКТРИКА
FIT
1:1
100%

Артикул

Название

Примечание

Количество

|$0

103-43-00062

LEVER ASS'Y

SN: 50991-UP

1шт.

|$1

0

LEVER ASS'Y

SN: 48420-50990

1шт.

|$2

0

LEVER ASS'Y

SN: 45001-48419

1шт.

1

0

LEVER

SN: 50991-UP

1шт.

1

0

LEVER

SN: 48420-50990

1шт.

1

0

LEVER

SN: 45001-48419

1шт.

2

09350-01420

BUSHING

SN: 45001-UP

1шт.

3

09304-00835

KNOB

SN: 45001-UP

1шт.

4

102-43-45211

COVER

SN: 48054-UP

1шт.

4

0

COVER

SN: 45001-48053

1шт.

|$$11

(102-43-45211,113-06-23231)

-1шт.

5

01010-31020

BOLT

SN: 45001-UP

5шт.

6

01602-01030

WASHER,SPRING

SN: 45001-UP

5шт.

7

102-43-45110

BRACKET

SN: 45001-UP

1шт.

8

01010-31020

BOLT

SN: 45001-UP

3шт.

9

01602-01030

WASHER,SPRING

SN: 45001-UP

3шт.

10

103-43-25220

SHAFT

SN: 51668-UP

1шт.

10

0

SHAFT

SN: 50991-51667

1шт.

10

0

SHAFT

SN: 45001-50990

1шт.

11

04010-00516

KEY

SN: 45001-UP

1шт.

12

10E-43-11160

FACING

SN: 45001-UP

2шт.

13

10E-43-11190

SPRING

SN: 45001-UP

1шт.

14

10E-43-11180

RETAINER

SN: 45001-UP

1шт.

15

01590-01215

NUT

SN: 45001-UP

1шт.

16

01641-21223

WASHER

SN: 45001-UP

1шт.

17

04050-03022

PIN,COTTER

SN: 45001-UP

1шт.

18

103-43-12241

PLATE

SN: 45001-UP

1шт.

19

01220-40816

SCREW

SN: 45001-UP

2шт.

20

01602-00825

WASHER,SPRING

SN: 45001-UP

2шт.

21

103-43-25270

CABLE

SN: 45001-UP

1шт.

22

103-43-25160

END,ROD

SN: 45001-UP

1шт.

23

01580-00504

NUT

SN: 45001-UP

1шт.

24

01601-00513

WASHER,SPRING

SN: 45001-UP

1шт.

25

04211-20500

YOKE

SN: 45001-UP

1шт.

26

04205-00516

PIN

SN: 45001-UP

1шт.

27

01641-20508

WASHER

SN: 45001-UP

1шт.

28

04050-01208

PIN,COTTER

SN: 45001-UP

1шт.

29

103-43-25180

BRACKET

SN: 45001-UP

1шт.

30

01010-31020

BOLT

SN: 45001-UP

2шт.

31

01602-01030

WASHER,SPRING

SN: 45001-UP

2шт.

32

103-43-25150

SCREW

SN: 45001-UP

1шт.

33

01580-01008

NUT

SN: 45001-UP

1шт.

34

01602-01030

WASHER,SPRING

SN: 45001-UP

1шт.

35

103-43-25140

PLATE

SN: 45001-UP

1шт.

36

01010-31025

BOLT

SN: 45001-UP

1шт.

37

01602-01030

WASHER,SPRING

SN: 45001-UP

1шт.

38

01643-31032

WASHER

SN: 45001-UP

1шт.

39

10E-43-11330

SPRING

SN: 45001-UP

1шт.

40

113-43-11180

SPRING

SN: 45001-UP

1шт.

Выбрано товаров: 49