Запчасти Komatsu D20S-5 ЗАЩИТА РАДИАТОРА AND КАПОТ(№-) ЧАСТИ КОРПУСА

Схема запчастей Komatsu D20S-5 - ЗАЩИТА РАДИАТОРА AND КАПОТ(№-) ЧАСТИ КОРПУСА
FIT
1:1
100%

Артикул

Название

Примечание

Количество

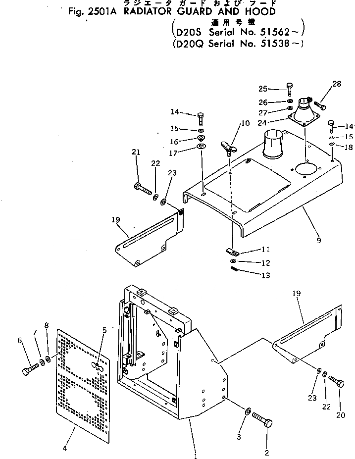
1

103-54-21114

GUARD,RADIATOR

SN: 51102-UP

1шт.

1

103-54-29320

GUARD,RADIATOR (STRENGTHENED)

SN: 45001-UP

1шт.

2

01010-31630

BOLT

SN: 45001-UP

12шт.

3

01643-31645

WASHER

SN: 45001-UP

12шт.

4

103-54-21320

GRILL

SN: .-UP

1шт.

4

103-54-21330

GRILL,(STRENGTHENED)

SN: .-UP

1шт.

5

10E-54-21120

MARK

SN: 45001-UP

1шт.

6

01010-31435

BOLT

SN: 45001-UP

4шт.

7

01602-01442

WASHER,SPRING

SN: 45001-UP

4шт.

8

01643-31445

WASHER

SN: 45001-UP

4шт.

9

103-54-21143

HOOD

SN: 51562-UP

1шт.

10

135-54-31290

HANDLE

SN: 51562-UP

1шт.

11

135-54-31310

STOPPER

SN: 51562-UP

1шт.

12

01643-31032

WASHER

SN: 51562-UP

1шт.

13

04025-00316

PIN

SN: 51562-UP

1шт.

14

01010-31025

BOLT

SN: 45001-UP

5шт.

15

01602-01030

WASHER,SPRING

SN: 45001-UP

5шт.

16

113-54-31340

COLLAR

SN: 51562-UP

2шт.

17

113-54-31350

SEAT

SN: 51562-UP

2шт.

18

01643-31032

WASHER

SN: 45001-UP

3шт.

19

103-54-21270

COVER,L.H.

SN: 45001-UP

1шт.

19

103-54-21280

COVER,R.H.

SN: 45001-UP

1шт.

20

01010-31025

BOLT

SN: 45001-UP

6шт.

21

01010-31035

BOLT

SN: 45001-UP

2шт.

22

01602-01030

WASHER,SPRING

SN: 45001-UP

8шт.

23

01643-31032

WASHER

SN: 45001-UP

8шт.

24

103-54-21210

BRACKET

SN: 51562-UP

1шт.

25

01010-51025

BOLT

SN: 51562-UP

4шт.

26

01602-21030

WASHER,SPRING

SN: 51562-UP

4шт.

27

01643-31032

WASHER

SN: 51562-UP

4шт.

28

01010-50820

BOLT

SN: 51562-UP

1шт.

Выбрано товаров: 31