Запчасти Komatsu D20S-6 ОТВАЛ С ИЗМ. УГЛОМ ПОВОРОТА РАБОЧЕЕ ОБОРУДОВАНИЕ

Схема запчастей Komatsu D20S-6 - ОТВАЛ С ИЗМ. УГЛОМ ПОВОРОТА РАБОЧЕЕ ОБОРУДОВАНИЕ
FIT
1:1
100%

Артикул

Название

Примечание

Количество

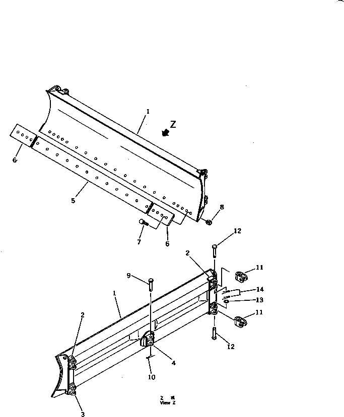
1

104-Z40-1100

BLADE ASS'Y

SN: 60001-UP

1шт.

2

104-Z40-1120

BRACKET,UPPER, L.H. (WELDED)

SN: 60001-UP

1шт.

2

104-Z40-1130

BRACKET,UPPER, R.H. (WELDED)

SN: 60001-UP

1шт.

3

101-71-12650

BRACKET,LOWER, L.H. (WELDED)

SN: 60001-UP

1шт.

3

101-71-12640

BRACKET,LOWER, R.H. (WELDED)

SN: 60001-UP

1шт.

4

101-71-12630

BRACKET,CENTER (WELDED)

SN: 60001-UP

1шт.

5

104-Z40-1160

EDGE

SN: 60001-UP

1шт.

6

12F-929-2170

BIT,END

SN: 60001-UP

2шт.

7

02090-10840

BOLT

SN: 60001-UP

20шт.

8

02290-10813

NUT

SN: 60001-UP

20шт.

9

101-71-12340

PIN

SN: 60001-UP

1шт.

10

04050-06050

PIN,COTTER

SN: 60001-UP

1шт.

11

101-71-12280

JOINT

SN: 60001-UP

4шт.

12

101-71-12310

PIN

SN: 60001-UP

4шт.

13

01640-22845

WASHER

SN: 60001-UP

2шт.

14

04050-06045

PIN,COTTER

SN: 60001-UP

4шт.

Выбрано товаров: 16