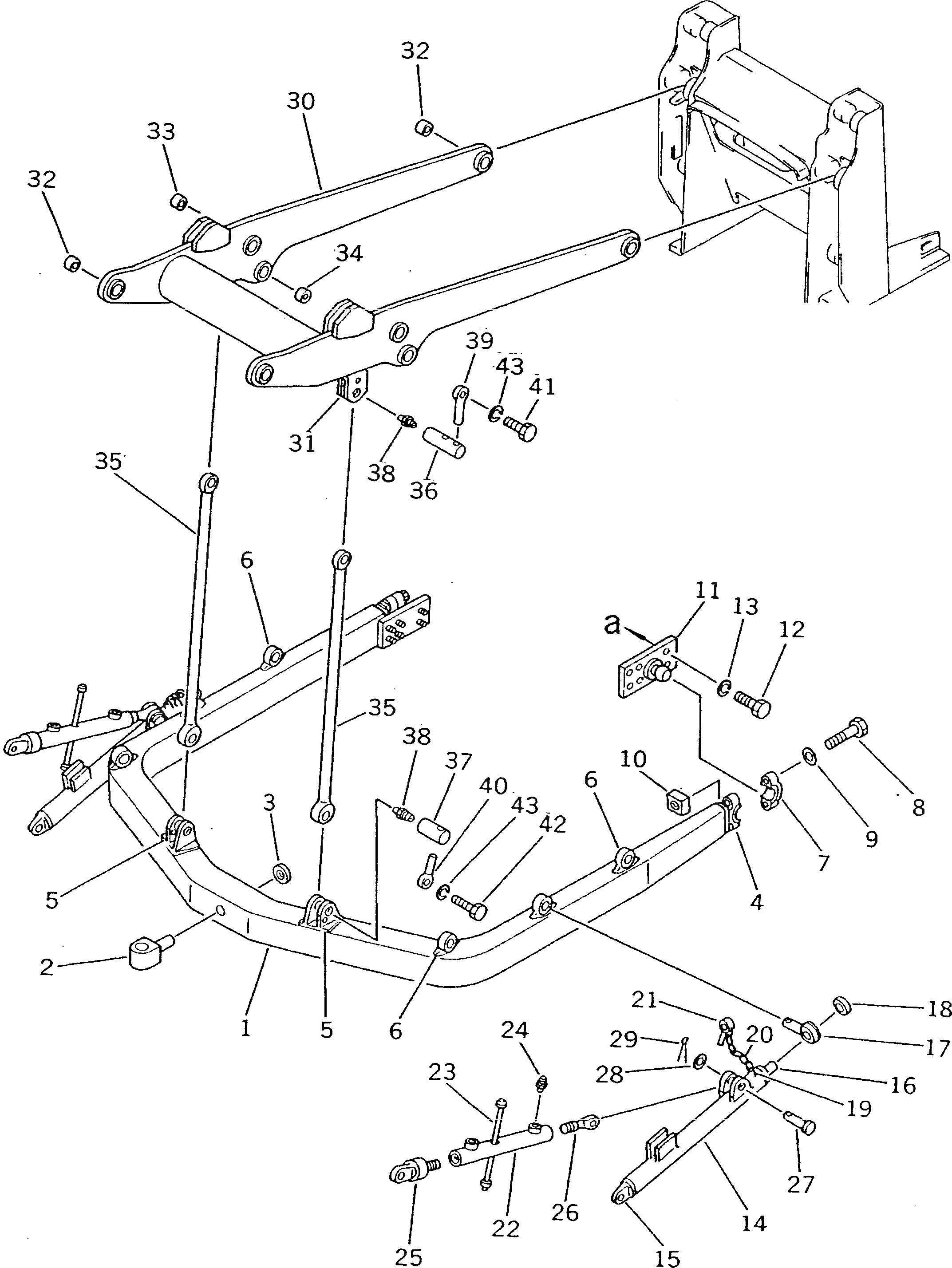
Запчасти Komatsu D20S-6 РУКОЯТЬ И С-ОБРАЗН. РАМА (ДЛЯ ОТВАЛ С ИЗМ. УГЛОМ ПОВОРОТА) РАБОЧЕЕ ОБОРУДОВАНИЕ

Схема запчастей Komatsu D20S-6 - РУКОЯТЬ И С-ОБРАЗН. РАМА (ДЛЯ ОТВАЛ С ИЗМ. УГЛОМ ПОВОРОТА) РАБОЧЕЕ ОБОРУДОВАНИЕ
FIT
1:1
100%

Артикул

Название

Примечание

Количество

|$0

104-Z40-2100

C-FRAME ASS'Y

SN: 60001-UP

1шт.

1

0

C-FRAME

SN: 60001-UP

1шт.

2

101-71-12140

PIN (WELDED)

SN: 60001-UP

1шт.

3

101-71-12150

COLLAR (WELDED)

SN: 60001-UP

1шт.

4

0

BEARING,(WELDED) (KIT)

SN: 60001-UP

2шт.

5

104-Z40-2120

BRACKET,L.H. (WELDED)

SN: 60001-UP

1шт.

5

104-Z40-2130

BRACKET,R.H. (WELDED)

SN: 60001-UP

1шт.

6

101-71-12120

BRACKET,L.H. (WELDED)

SN: 60001-UP

3шт.

6

101-71-12130

BRACKET,R.H. (WELDED)

SN: 60001-UP

3шт.

7

100-93-21170

CAP (KIT)

SN: 60001-UP

2шт.

8

01011-52015

BOLT (KIT)

SN: 60001-UP

4шт.

9

01643-32060

WASHER (KIT)

SN: 60001-UP

4шт.

10

101-904-1240

NUT (KIT)

SN: 60001-UP

4шт.

11

104-Z40-3111

TRUNNION

SN: 60001-UP

2шт.

12

01010-31445

BOLT

SN: 60001-UP

12шт.

13

01602-01442

WASHER,SPRING

SN: 60001-UP

12шт.

14

101-71-12190

ARM,ANGLE

SN: 60001-UP

2шт.

15

101-71-12420

BOSS

SN: 60001-UP

1шт.

16

101-71-12220

BOSS

SN: 60001-UP

1шт.

17

101-71-12210

PIN

SN: 60001-UP

1шт.

18

101-71-12230

COLLAR

SN: 60001-UP

1шт.

19

09245-50060

HOOK

SN: 60001-UP

2шт.

20

09245-04815

CHAIN

SN: 60001-UP

1шт.

21

101-71-12410

PIN

SN: 60001-UP

1шт.

22

101-71-31171

BRACE,TILT

SN: 60001-UP

2шт.

23

101-71-12250

LEVER

SN: 60001-UP

1шт.

24

07020-00000

FITTING,GREASE

SN: 60001-UP

4шт.

25

101-71-31151

SCREW

SN: 60001-UP

2шт.

26

101-71-31160

SCREW

SN: 60001-UP

2шт.

27

101-71-12260

PIN

SN: 60001-UP

6шт.

28

01640-22845

WASHER

SN: 60001-UP

6шт.

29

04050-06045

PIN,COTTER

SN: 60001-UP

6шт.

|$32

103-Z40-0011

LIFT ARM ASS'Y

SN: 60001-UP

1шт.

30

0

ARM,LIFT

SN: 60001-UP

1шт.

31

111-92-11260

SUPPORT

SN: 60001-UP

2шт.

32

102-70-11170

BUSHING

SN: 60001-UP

4шт.

33

07143-10303

BUSHING

SN: 60001-UP

2шт.

34

07143-10404

BUSHING

SN: 60001-UP

2шт.

35

103-Y40-1120

ROD

SN: 60001-UP

2шт.

36

112-70-11521

PIN

SN: 60001-UP

2шт.

37

10G-Z16-1440

PIN

SN: 60001-UP

2шт.

38

07020-00000

FITTING,GREASE

SN: 60001-UP

4шт.

39

112-70-11531

PIN

SN: 60001-UP

2шт.

40

114-72-21970

PIN

SN: 60001-UP

2шт.

41

01010-31030

BOLT

SN: 60001-UP

2шт.

42

01010-51025

BOLT

SN: 60001-UP

2шт.

43

01602-21030

WASHER,SPRING

SN: 60001-UP

4шт.

|$$48

SERVICE KIT

-1шт.

4

101-71-00072

PIVOT ASS'Y

SN: 60001-UP

2шт.

4

0

BEARING

SN: 60001-UP

1шт.

7

100-93-21170

CAP

SN: 60001-UP

1шт.

8

01011-52015

BOLT

SN: 60001-UP

2шт.

9

01643-32060

WASHER

SN: 60001-UP

2шт.

10

101-904-1240

NUT

SN: 60001-UP

2шт.

Выбрано товаров: 0