Запчасти Komatsu D20S-6 ТРАНСМИССИЯ (/) (SHIFT РЫЧАГ И ВИЛЫ) (ДЛЯ ЛЕСОЗАГОТОВИТЕЛЬНАЯ ТЕХНИКА) ОСНОВН. МУФТА¤ТРАНСМИССИЯ¤ РУЛЕВ. УПРАВЛЕНИЕ И КОНЕЧНАЯ ПЕРЕДАЧА

Схема запчастей Komatsu D20S-6 - ТРАНСМИССИЯ (/) (SHIFT РЫЧАГ И ВИЛЫ) (ДЛЯ ЛЕСОЗАГОТОВИТЕЛЬНАЯ ТЕХНИКА) ОСНОВН. МУФТА¤ТРАНСМИССИЯ¤ РУЛЕВ. УПРАВЛЕНИЕ И КОНЕЧНАЯ ПЕРЕДАЧА
FIT
1:1
100%

Артикул

Название

Примечание

Количество

|$0

102-14-00120

TRANSMISSION ASS'Y

SN: 60001-UP

1шт.

|$$2

THIS ASSEMBLY CONSISTS OF ALL PARTS SHOWN IN FIGS.2421 TO 2425.

-1шт.

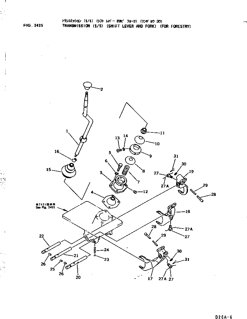
1

102-14-52240

LEVER

SN: 60001-UP

1шт.

2

09304-01250

KNOB

SN: 60001-UP

1шт.

3

101-14-11250

SEAT

SN: 60001-UP

1шт.

4

101-14-11260

COVER

SN: 60001-UP

1шт.

5

01010-51025

BOLT

SN: 60001-UP

4шт.

6

01602-21030

WASHER,SPRING

SN: 60001-UP

4шт.

7

100-14-15160

SPRING

SN: 60001-UP

1шт.

8

100-14-15220

COVER

SN: 60001-UP

1шт.

9

100-14-15150

COVER

SN: 60001-UP

1шт.

10

100-14-15140

COVER

SN: 60001-UP

1шт.

11

102-14-18190

STOPPER

SN: 60001-UP

1шт.

12

100-14-15191

PIN

SN: 60001-UP

2шт.

13

01220-40612

SCREW

SN: 60001-UP

4шт.

14

01602-20619

WASHER,SPRING

SN: 60001-UP

4шт.

15

101-14-11240

BELLOWS

SN: 60001-UP

1шт.

16

110-14-13250

CLAMP

SN: 60001-UP

1шт.

17

102-14-18113

FORK,1ST

SN: 60001-UP

1шт.

18

102-14-18133

FORK,2ND

SN: 60001-UP

1шт.

19

102-14-18122

FORK,3RD

SN: 60001-UP

1шт.

20

102-14-16131

SHAFT,1ST

SN: 60001-UP

1шт.

21

100-14-16170

SHAFT,2ND

SN: 60001-UP

1шт.

22

102-14-16220

SHAFT,3RD

SN: 60001-UP

1шт.

23

04260-00952

BALL

SN: 60001-UP

3шт.

24

102-14-18210

SPRING

SN: 60001-UP

3шт.

25

100-14-16210

PIN

SN: 60001-UP

1шт.

26

100-14-16190

PIN

SN: 60001-UP

2шт.

27

01306-00820

SCREW

SN: 60001-UP

3шт.

27A

04059-01010

WIRE

SN: 60001-UP

3шт.

28

102-14-16151

BOLT

SN: 60001-UP

2шт.

29

102-14-16160

SPRING

SN: 60001-UP

2шт.

30

01640-20816

WASHER

SN: 60001-UP

2шт.

31

04050-02012

PIN,COTTER

SN: 60001-UP

2шт.

Выбрано товаров: 34