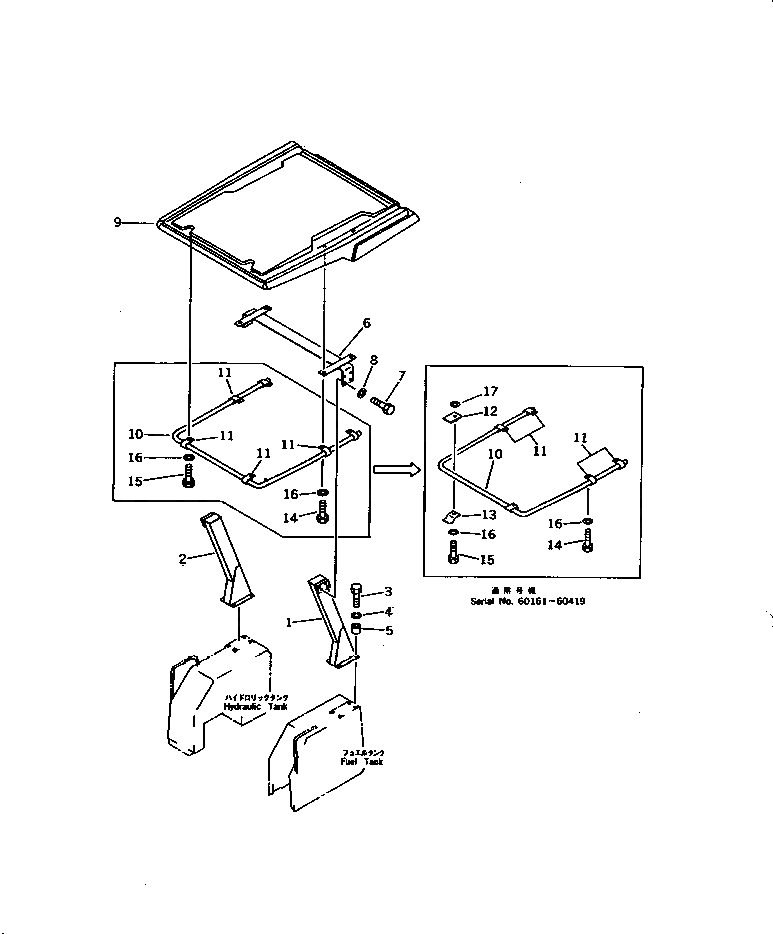
Запчасти Komatsu D20S-6 НАВЕС(№8-9) ЧАСТИ КОРПУСА

Схема запчастей Komatsu D20S-6 - НАВЕС(№8-9) ЧАСТИ КОРПУСА
FIT
1:1
100%

Артикул

Название

Примечание

Количество

1

103-Y06-1115

POLE,L.H.

SN: 60258-60419

1шт.

1

103-Y06-1112

POLE,L.H.

SN: 60127-60257

1шт.

1

0

POLE,L.H.

SN: 60085-60126

1шт.

2

103-Y06-1125

POLE,R.H.

SN: 60258-60419

1шт.

2

103-Y06-1122

POLE,R.H.

SN: 60127-60257

1шт.

2

0

POLE,R.H.

SN: 60085-60126

1шт.

3

01010-51045

BOLT

SN: 60258-@

12шт.

3

01010-51045

BOLT

SN: 60001-60257

8шт.

4

01602-21030

WASHER,SPRING

SN: 60258-@

12шт.

4

01602-21030

WASHER,SPRING

SN: 60001-60257

8шт.

5

103-Y06-1140

BOSS

SN: 60258-@

12шт.

5

103-Y06-1140

BOSS

SN: 60001-60257

8шт.

6

103-Y06-1131

BRACKET

SN: 60085-60419

1шт.

7

01010-51030

BOLT

SN: 60085-60419

8шт.

8

01643-31032

WASHER

SN: 60085-60419

8шт.

9

113-X06-1111

ROOF

SN: 60319-60419

1шт.

9

0

ROOF

SN: 60085-60318

1шт.

10

113-X06-1171

PIPE

SN: 60161-60419

1шт.

10

113-X06-1170

PIPE

SN: 60085-60160

1шт.

11

113-X06-1181

CLIP

SN: 60161-60419

4шт.

11

113-X06-1180

CLIP

SN: 60085-60160

6шт.

12

103-Y06-1160

CLIP

SN: 60161-60419

2шт.

13

103-Y06-1170

CLIP

SN: 60161-60419

2шт.

14

01010-51055

BOLT

SN: 60161-60419

4шт.

14

01010-51050

BOLT

SN: 60085-60160

4шт.

15

01010-51050

BOLT

SN: 60161-60419

2шт.

15

01010-51020

BOLT

SN: 60085-60160

2шт.

16

01643-31032

WASHER

SN: 60085-60419

6шт.

17

01643-31445

WASHER

SN: 60161-60419

2шт.

Выбрано товаров: 29