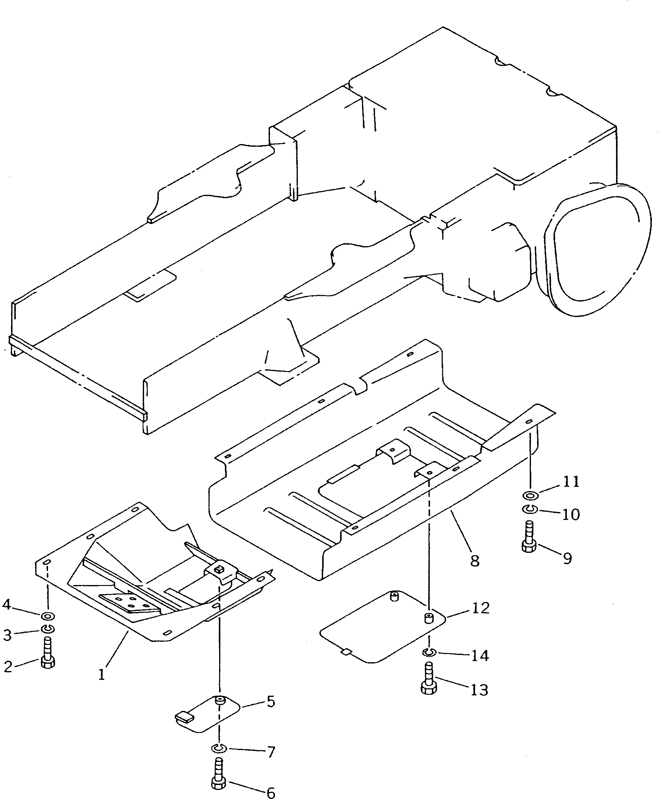
Запчасти Komatsu D20S-7 НИЖН. ЗАЩИТА (УСИЛЕНН.) (AVAILABLE ДЛЯ КРЕПЛЕНИЕ КРЮК) ЧАСТИ КОРПУСА

Схема запчастей Komatsu D20S-7 - НИЖН. ЗАЩИТА (УСИЛЕНН.) (AVAILABLE ДЛЯ КРЕПЛЕНИЕ КРЮК) ЧАСТИ КОРПУСА
FIT
1:1
100%

Артикул

Название

Примечание

Количество

1

103-54-25310

GUARD,FRONT

SN: 61001-61131

1шт.

2

01010-51430

BOLT

SN: 61001-@

6шт.

3

01602-21442

WASHER,SPRING

SN: 61001-@

6шт.

4

01643-31445

WASHER

SN: 61001-@

6шт.

5

103-54-25320

COVER

SN: 61001-61131

1шт.

6

01010-51025

BOLT

SN: 61001-@

1шт.

7

01602-21030

WASHER,SPRING

SN: 61001-@

1шт.

8

102-54-55320

GUARD,REAR

SN: 61001-@

1шт.

9

01010-51430

BOLT

SN: 61001-@

6шт.

10

01602-21442

WASHER,SPRING

SN: 61001-@

6шт.

11

01643-31445

WASHER

SN: 61001-@

6шт.

12

113-54-25140

COVER

SN: 61001-@

1шт.

13

01010-51025

BOLT

SN: 61001-@

2шт.

14

01602-21030

WASHER,SPRING

SN: 61001-@

2шт.

Выбрано товаров: 0