Запчасти Komatsu D20S-7 ПАНЕЛЬ ПРИБОРОВ КОМПОНЕНТЫ ДВИГАТЕЛЯ И ЭЛЕКТРИКА

Схема запчастей Komatsu D20S-7 - ПАНЕЛЬ ПРИБОРОВ КОМПОНЕНТЫ ДВИГАТЕЛЯ И ЭЛЕКТРИКА
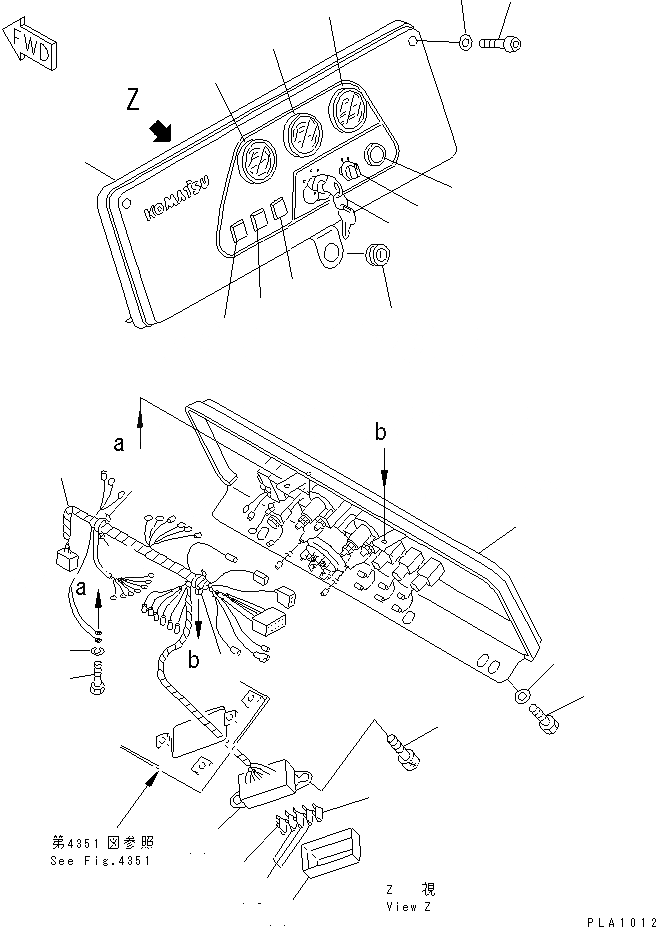
1
1
2
3
4
5
6
7
8
9
10
11
12
13
14
15
16
17
17
18
19
20
21
21
22
23
24
25
FIT
1:1
100%

Артикул

Название

Примечание

Количество

1

114-06-42211

PANEL

SN: 61001-UP

1шт.

2

08037-01610

GROMMET

SN: 61001-UP

1шт.

3

23S-06-14990

SCREW

SN: 61001-UP

2шт.

4

362-06-21140

WASHER

SN: 61001-UP

2шт.

5

01010-51035

BOLT

SN: 61001-UP

3шт.

6

01643-31032

WASHER

SN: 61001-UP

3шт.

7

08086-20000

SWITCH,STARTING

SN: 61001-UP

1шт.

8

114-06-42310

SWITCH,LAMP

SN: 61001-UP

1шт.

9

104-06-41180

GAUGE,FUEL

SN: 61132-UP

1шт.

|9

08652-10000

GAUGE,FUEL

SN: 61131-61131

1шт.

|9

0

GAUGE,FUEL

SN: 61001-61130

1шт.

|9

08111-01230

BULB¤ 4W

SN: 61132-UP

1шт.

|9

08111-12430

BULB¤ 3W

SN: 61001-61131

1шт.

10

104-06-41190

GAUGE,WATER TEMPERATURE

SN: 61132-UP

1шт.

|10

103-06-32280

GAUGE,WATER TEMPERATURE

SN: 61001-61131

1шт.

|10

08111-01230

BULB¤ 4W

SN: 61132-UP

1шт.

|10

08111-12430

BULB¤ 3W

SN: 61001-61131

1шт.

11

08687-21203

METER,SERVICE

SN: 61132-UP

1шт.

|11

08687-22403

METER,SERVICE

SN: 61001-61131

1шт.

12

104-06-41210

SIGNAL,HEATER

SN: 61132-UP

1шт.

|12

600-815-1361

SIGNAL,GLOW

SN: 61001-61131

1шт.

13

104-06-41170

LAMP¤ INDICATOR,AIR CLEANER DUST

SN: 61132-UP

1шт.

|13

120-06-42110

LAMP¤ INDICATOR,AIR CLEANER DUST

SN: 61001-61131

1шт.

|13

08111-01230

BULB¤ 4W

SN: 61132-UP

1шт.

|13

08111-12430

BULB¤ 3W

SN: 61001-61131

1шт.

14

104-06-41150

LAMP¤ INDICATOR,ENGINE OIL PRESSURE

SN: 61132-UP

1шт.

|14

103-06-32250

LAMP¤ INDICATOR,ENGINE OIL PRESSURE

SN: 61001-61131

1шт.

|14

08111-01230

BULB¤ 4W

SN: 61132-UP

1шт.

|14

08111-12430

BULB¤ 3W

SN: 61001-61131

1шт.

15

104-06-41160

LAMP¤ INDICATOR,CHARGE

SN: 61132-UP

1шт.

|15

103-06-32240

LAMP¤ INDICATOR,CHARGE

SN: 61001-61131

1шт.

|15

08111-01230

BULB¤ 4W

SN: 61132-UP

1шт.

|15

08111-12430

BULB¤ 3W

SN: 61001-61131

1шт.

16

104-06-41260

WIRE ASS'Y

SN: 61132-UP

1шт.

|16

104-06-32221

WIRE ASS'Y

SN: 61001-61131

1шт.

17

20T-06-71560

FUSE BOX

SN: 61001-UP

1шт.

18

22W-06-13160

FUSE¤ 20A

SN: 61001-UP

1шт.

19

283-06-16190

FUSE¤ 10A

SN: 61001-UP

3шт.

20

201-06-61240

FUSE¤ 30A

SN: 61001-UP

1шт.

21

203-06-56510

CLIP

SN: 61001-UP

2шт.

22

08034-00310

BAND

SN: 61001-UP

2шт.

23

01010-51020

BOLT

SN: 61001-UP

1шт.

24

01602-21030

WASHER,SPRING

SN: 61001-UP

1шт.

25

01252-40825

BOLT

SN: 61001-UP

2шт.

Выбрано товаров: 44