Запчасти Komatsu D20S-7 ТОПЛ. БАК И ТОПЛИВОПРОВОД КОМПОНЕНТЫ ДВИГАТЕЛЯ И ЭЛЕКТРИКА

Схема запчастей Komatsu D20S-7 - ТОПЛ. БАК И ТОПЛИВОПРОВОД КОМПОНЕНТЫ ДВИГАТЕЛЯ И ЭЛЕКТРИКА
FIT
1:1
100%

Артикул

Название

Примечание

Количество

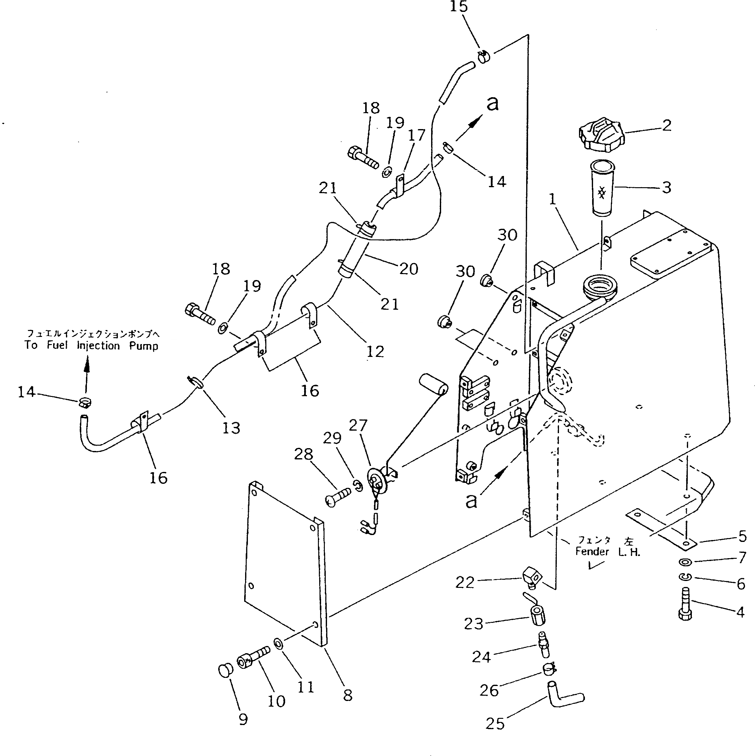
1

104-04-38111

TANK

SN: 61001-61131

1шт.

2

07050-20900

CAP

SN: 61001-@

1шт.

|2

07050-20902

GASKET

SN: 61001-@

1шт.

3

07056-16415

STRAINER

SN: 61001-@

1шт.

4

01010-51240

BOLT

SN: 61001-@

4шт.

5

103-54-34450

PLATE

SN: 61001-@

2шт.

6

01602-21236

WASHER,SPRING

SN: 61001-@

4шт.

7

01643-31232

WASHER

SN: 61001-@

4шт.

8

104-54-34330

COVER,L.H.

SN: 61001-@

1шт.

9

114-54-43260

PLUG

SN: 61001-@

4шт.

10

01252-30825

BOLT

SN: 61001-@

4шт.

11

01643-30823

WASHER

SN: 61001-@

4шт.

12

07288-01016

HOSE

SN: 61001-61131

1шт.

|12

07288-01017

HOSE,(FOR ADDITIONAL FUEL STRAINER)

SN: 61001-61131

1шт.

13

08034-00414

BAND

SN: 61001-@

1шт.

|13

08034-00414

BAND,(FOR ADDITIONAL FUEL STRAINER)

SN: 61001-@

2шт.

14

07281-00197

CLAMP

SN: 61001-@

2шт.

15

07285-00100

CLIP

SN: 61001-61131

1шт.

16

08036-02514

CLIP

SN: 61001-61131

3шт.

17

08035-02508

CLIP

SN: 61001-@

1шт.

18

01010-51016

BOLT

SN: 61001-@

4шт.

19

01643-31032

WASHER

SN: 61001-@

4шт.

20

203-62-41160

COVER

SN: 61001-@

1шт.

21

08034-00519

BAND

SN: 61001-@

2шт.

22

565-44-13270

ELBOW

SN: 61001-@

1шт.

23

07700-40240

VALVE

SN: 61001-@

1шт.

24

113-04-22150

NIPPLE

SN: 61001-@

1шт.

25

07270-01235

TUBE

SN: 61001-@

1шт.

26

07285-00150

CLIP

SN: 61001-@

1шт.

27

20T-06-71381

SENSOR,FUEL LEVEL

SN: 61001-@

1шт.

28

01220-40510

SCREW

SN: 61001-@

5шт.

29

01601-20513

WASHER,SPRING

SN: 61001-@

5шт.

30

20G-54-19950

CAP

SN: 61001-@

3шт.

Выбрано товаров: 33