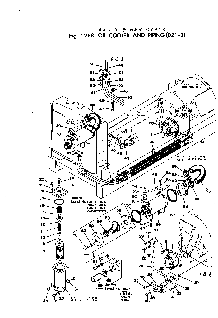
Запчасти Komatsu D21A-3 МАСЛООХЛАДИТЕЛЬ И ТРУБЫ ДЕМПФЕР И ТРАНСМИССИЯ

Схема запчастей Komatsu D21A-3 - МАСЛООХЛАДИТЕЛЬ И ТРУБЫ ДЕМПФЕР И ТРАНСМИССИЯ
FIT
1:1
100%

Артикул

Название

Примечание

Количество

1

07425-72400

PUMP ASS'Y

SN: 20013-UP

1шт.

2

07000-02055

O-RING (KIT)

SN: 20013-UP

1шт.

3

07000-03028

O-RING (KIT)

SN: 20013-UP

1шт.

4

07000-03022

O-RING (KIT)

SN: 20013-UP

1шт.

5

01010-31025

BOLT

SN: 20013-UP

4шт.

6

01602-01030

WASHER

SN: 20013-UP

4шт.

|$6

103-49-00010

OIL FILTER ASS'Y

SN: 20013-UP

1шт.

7

125-49-12110

BODY

SN: 20013-UP

1шт.

8

101-60-15171

ELEMENT

SN: .-UP

1шт.

8

0

ELEMENT

SN: 20013-.

1шт.

|$10

103-49-00020

VALVE ASS'Y

SN: 20013-UP

1шт.

9

102-60-15180

SHAFT

SN: 20013-UP

1шт.

10

102-60-15240

SEAT

SN: 20013-UP

1шт.

11

102-60-15230

SPRING

SN: 20013-UP

1шт.

12

102-60-15220

VALVE

SN: 20013-UP

1шт.

13

102-60-15210

SEAT

SN: 20013-UP

1шт.

14

102-60-15190

PIN

SN: 20013-UP

1шт.

15

102-60-15170

SPRING

SN: 20013-UP

1шт.

16

125-49-12130

COVER

SN: 20013-UP

1шт.

17

07000-02075

O-RING (KIT)

SN: 20013-UP

1шт.

18

145-60-17130

BOLT

SN: 20013-UP

1шт.

19

07000-02010

O-RING (KIT)

SN: 20013-UP

1шт.

20

01010-31030

BOLT

SN: 20013-UP

4шт.

21

01602-01030

WASHER

SN: 20013-UP

4шт.

22

01010-31030

BOLT

SN: 20013-UP

3шт.

23

01602-01030

WASHER

SN: 20013-UP

3шт.

24

07042-00312

PLUG

SN: 20013-UP

1шт.

25

07000-03028

O-RING (KIT)

SN: 20013-UP

2шт.

26

103-49-14110

TUBE

SN: 20013-UP

1шт.

27

07000-03028

O-RING (KIT)

SN: 20013-UP

1шт.

28

01010-30835

BOLT

SN: 20013-UP

1шт.

29

01010-30825

BOLT

SN: 20013-UP

1шт.

30

01602-00825

WASHER

SN: 20013-UP

2шт.

31

07000-02021

O-RING (KIT)

SN: 20013-UP

1шт.

32

01010-30835

BOLT

SN: 20013-UP

1шт.

33

01602-00825

WASHER

SN: 20013-UP

1шт.

34

103-49-14131

TUBE

SN: .-UP

1шт.

34

0

TUBE

SN: (20013-.)

1шт.

34

04260-01270

BALL

SN: .-UP

1шт.

34

103-49-14270

SPRING

SN: .-UP

1шт.

34

103-49-14280

PLUG

SN: .-UP

1шт.

34

07000-02014

O-RING

SN: .-UP

1шт.

35

07000-02018

O-RING (KIT)

SN: 20013-UP

2шт.

36

01010-30825

BOLT

SN: 20013-UP

1шт.

37

01010-30845

BOLT

SN: 20013-UP

2шт.

38

01602-00825

WASHER

SN: 20013-UP

3шт.

39

103-49-14140

HOSE

SN: 20013-UP

2шт.

40

103-49-14150

TUBE

SN: 20013-UP

1шт.

41

103-49-14160

TUBE

SN: 20013-UP

1шт.

42

103-49-14190

CLIP

SN: 20013-UP

1шт.

43

103-49-14210

CLIP

SN: 20013-UP

1шт.

44

01010-31240

BOLT

SN: 20013-UP

1шт.

45

01602-01236

WASHER

SN: 20013-UP

1шт.

46

103-49-14220

CLIP

SN: 20013-UP

1шт.

47

01010-31245

BOLT

SN: 20013-UP

1шт.

48

01602-01236

WASHER

SN: 20013-UP

1шт.

49

103-49-14320

TUBE

SN: 30396-UP

1шт.

49

103-49-14230

TUBE

SN: 20013-30395

1шт.

50

103-49-14240

TUBE

SN: 20013-UP

1шт.

51

07000-02018

O-RING (KIT)

SN: 20013-UP

4шт.

52

01010-30825

BOLT

SN: 20013-UP

4шт.

53

01602-00825

WASHER

SN: 20013-UP

4шт.

54

01010-30820

BOLT

SN: 20013-UP

4шт.

55

01602-00825

WASHER

SN: 20013-UP

4шт.

|$64

103-49-13102

OIL COOLER ASS'Y

SN: 30396-UP

1шт.

|$65

103-49-13101

OIL COOLER ASS'Y

SN: 30238-30395

1шт.

|$66

103-49-13100

OIL COOLER ASS'Y

SN: 20013-30237

1шт.

56

103-49-13110

ELEMENT

SN: 20013-UP

1шт.

57

103-49-13120

GASKET (KIT)

SN: 20013-UP

2шт.

58

103-49-13131

COVER

SN: 30238-UP

1шт.

58

103-49-13130

COVER

SN: 20013-30237

1шт.

59

103-49-13151

HOSE

SN: 30238-UP

1шт.

59

103-49-13150

HOSE

SN: 20013-30237

1шт.

60

103-49-13160

COVER

SN: 20013-UP

1шт.

61

01010-31235

BOLT

SN: 30238-UP

2шт.

61

01010-31245

BOLT

SN: 20013-30237

2шт.

62

01010-31230

BOLT

SN: 20013-UP

2шт.

63

01602-01236

WASHER

SN: 20013-UP

4шт.

64

103-49-13141

COVER

SN: 30396-UP

1шт.

64

103-49-13140

COVER

SN: 20013-30395

1шт.

65

103-49-13171

HOSE

SN: 30396-UP

1шт.

65

103-49-13170

HOSE

SN: 20013-30395

1шт.

66

07281-00489

CLAMP

SN: 30454-UP

6шт.

66

07281-00549

CLAMP

SN: 30396-30453

6шт.

66

07281-00549

CLAMP

SN: 30238-30395

4шт.

66

07280-04726

CLAMP

SN: 20013-30237

3шт.

67

01010-31025

BOLT

SN: 30396-UP

3шт.

67

01010-31022

BOLT

SN: 20013-30395

3шт.

68

01602-01030

WASHER

SN: 20013-UP

3шт.

69

01643-31032

WASHER

SN: 30396-UP

3шт.

Выбрано товаров: 90