Запчасти Komatsu D21A-5 АККУМУЛЯТОР (СПЕЦ-Я TBG)(№78-) ОПЦИОННЫЕ КОМПОНЕНТЫ (СПЕЦ. APPLICATION ЧАСТИ)

Схема запчастей Komatsu D21A-5 - АККУМУЛЯТОР (СПЕЦ-Я TBG)(№78-) ОПЦИОННЫЕ КОМПОНЕНТЫ (СПЕЦ. APPLICATION ЧАСТИ)
FIT
1:1
100%

Артикул

Название

Примечание

Количество

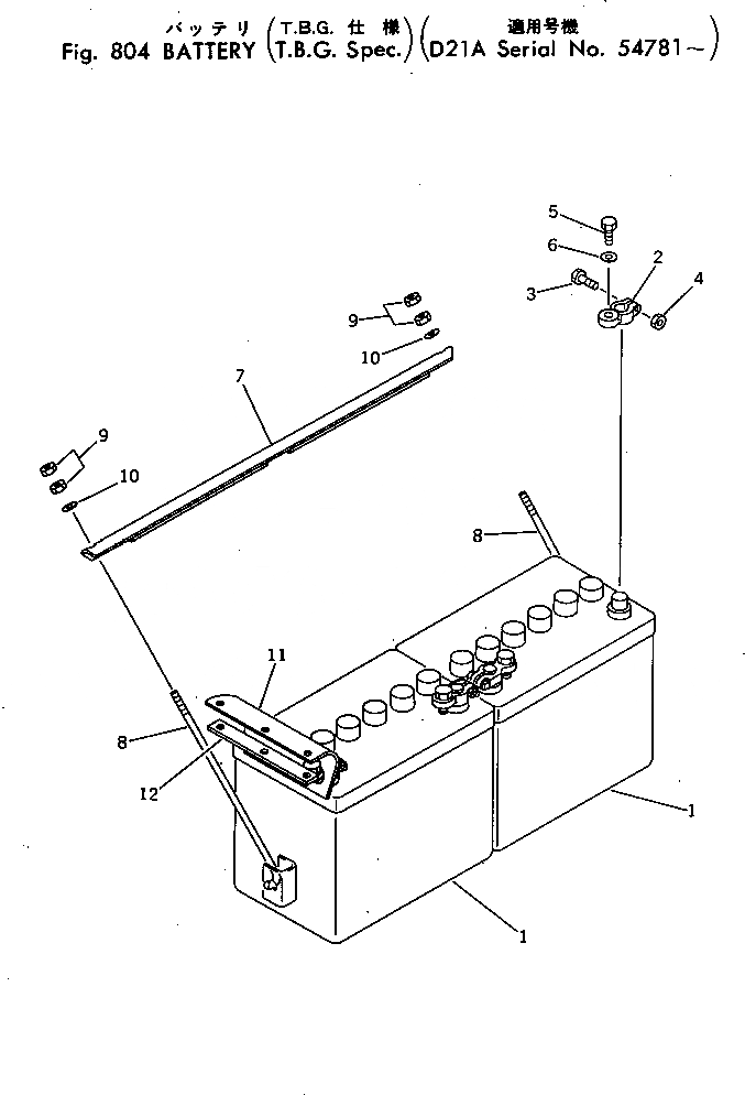
1

08000-12206

BATTERY (55D26R)

SN: 54781-UP

2шт.

2

08000-00000

TERMINAL, (+)

SN: 54781-UP

1шт.

2

08000-00001

TERMINAL, (-)

SN: 54781-UP

1шт.

3

01010-30830

BOLT

SN: 54781-UP

2шт.

4

01580-00806

NUT

SN: 54781-UP

2шт.

5

01050-31018

BOLT

SN: 54781-UP

2шт.

6

01640-01016

WASHER

SN: 54781-UP

2шт.

7

103-06-21114

HOLDER

SN: 54781-UP

1шт.

8

103-06-21120

BOLT

SN: 54781-UP

2шт.

9

01580-00806

NUT

SN: 54781-UP

4шт.

10

01643-30823

WASHER

SN: 54781-UP

2шт.

11

103-06-21140

RUBBER

SN: 54781-UP

1шт.

12

103-06-21130

PLATE

SN: 54781-UP

1шт.

Выбрано товаров: 13