Запчасти Komatsu D21A-5 ЗАЩИТА РАДИАТОРА AND КАПОТ(№-) ЧАСТИ КОРПУСА

Схема запчастей Komatsu D21A-5 - ЗАЩИТА РАДИАТОРА AND КАПОТ(№-) ЧАСТИ КОРПУСА
FIT
1:1
100%

Артикул

Название

Примечание

Количество

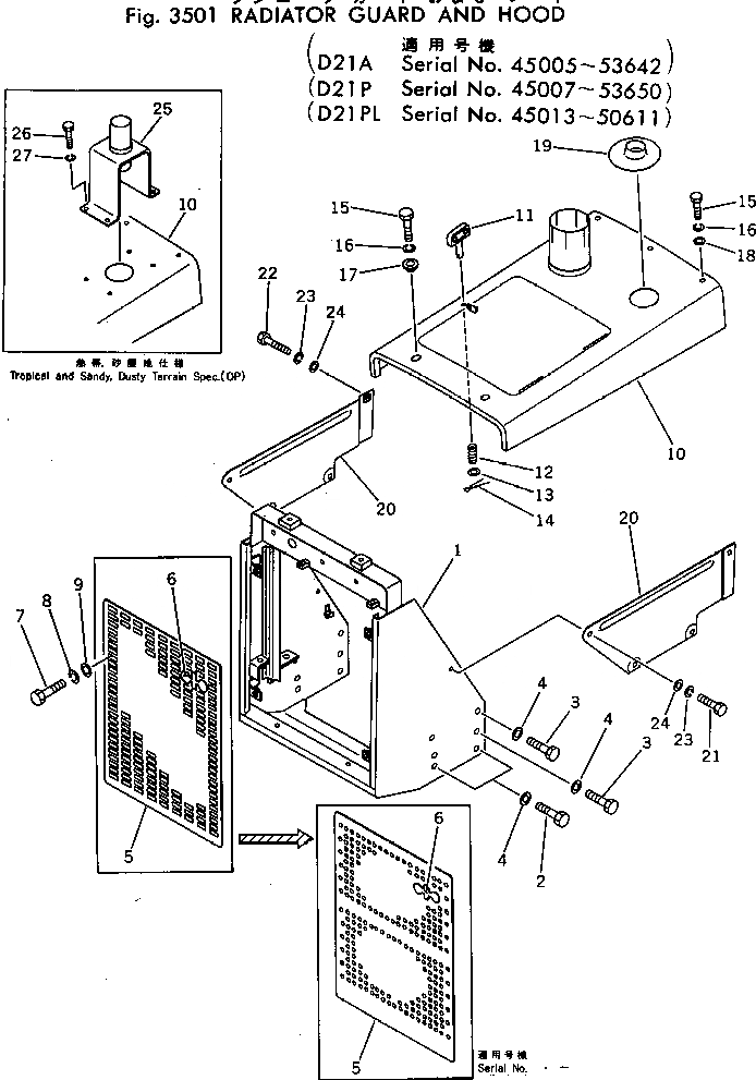
1

103-54-21114

GUARD

SN: 52521-@

1шт.

1

0

GUARD

SN: 45005-52520

1шт.

|$$3

(103-54-21114,01580-11008(2))

-1шт.

1

103-54-29321

GUARD,(FOR STRENGTHENED GRILL)

SN: 52521-@

1шт.

1

103-54-29320

GUARD,(FOR STRENGTHENED GRILL)

SN: 45005-52520

1шт.

2

01010-31630

BOLT

SN: 45005-@

4шт.

3

01010-31630

BOLT

SN: 45005-@

8шт.

4

01643-31645

WASHER

SN: 45005-@

12шт.

5

103-54-21320

GRILL

SN: .-@

1шт.

5

0

GRILL

SN: 45005-.

1шт.

5

103-54-21330

GRILL,(STRENGTHENED)

SN: .-@

1шт.

5

0

GRILL,(STRENGTHENED)

SN: 45005-.

1шт.

6

10E-54-21120

MARK

SN: 45005-@

1шт.

7

01010-31435

BOLT

SN: 45005-@

4шт.

8

01602-01442

WASHER

SN: 45005-@

4шт.

9

01643-31445

WASHER

SN: 45005-@

4шт.

10

103-54-21142

HOOD

SN: 45005-53642

1шт.

10

103-54-29250

HOOD,(SANDY, DUSTY TERRAIN SPEC.)

SN: 48155-53642

1шт.

11

101-57-31210

LOCK

SN: 45005-53642

1шт.

12

09459-01614

SPRING

SN: 45005-53642

1шт.

13

01642-01016

WASHER

SN: 45005-53642

1шт.

14

04050-03015

PIN

SN: 45005-53642

1шт.

15

01010-31025

BOLT

SN: 45005-@

5шт.

16

01602-01030

WASHER

SN: 45005-@

5шт.

17

103-54-21160

COLLAR

SN: 45005-53642

2шт.

18

01643-31032

WASHER

SN: 45005-@

3шт.

19

103-54-21240

COVER

SN: 45005-53642

1шт.

20

103-54-21270

COVER,L.H.

SN: 45005-@

1шт.

20

103-54-21280

COVER,R.H.

SN: 45005-@

1шт.

21

01010-31025

BOLT

SN: 45005-@

6шт.

22

01010-31035

BOLT

SN: 45005-@

2шт.

23

01602-01030

WASHER

SN: 45005-@

8шт.

24

01643-31032

WASHER

SN: 45005-@

8шт.

25

103-54-21510

BRACKET,(SANDY, DUSTY TERRAIN SPEC.)

SN: 48155-53642

1шт.

26

01010-31025

BOLT,(SANDY, DUSTY TERRAIN SPEC.)

SN: 48155-53642

4шт.

27

01602-01030

WASHER,(SANDY, DUSTY TERRAIN SPEC.)

SN: 48155-53642

4шт.

Выбрано товаров: 36