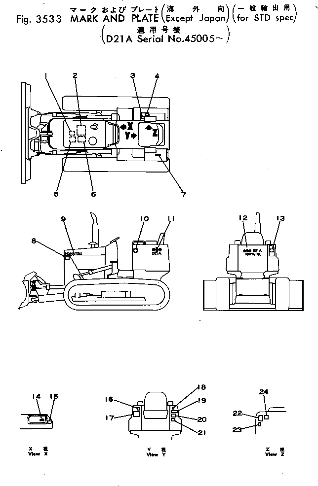
Запчасти Komatsu D21A-5 МАРКИРОВКА (КРОМЕ ЯПОН.) (ДЛЯ STD СПЕЦ-Я.) ЧАСТИ КОРПУСА

Схема запчастей Komatsu D21A-5 - МАРКИРОВКА (КРОМЕ ЯПОН.) (ДЛЯ STD СПЕЦ-Я.) ЧАСТИ КОРПУСА
FIT
1:1
100%

Артикул

Название

Примечание

Количество

1

09650-00103

PLATE, INSTRUCTION

SN: 45005-UP

1шт.

2

104-98-22340

CHART, OIL

SN: 45005-UP

1шт.

3

09670-38070

PLATE, OPERATING

SN: 45005-UP

1шт.

4

114-98-21150

PLATE, OPERATING

SN: 45005-UP

1шт.

5

09668-00000

PLATE, SAFETY

SN: 45005-UP

1шт.

6

09637-00160

PLATE, INSTRUCTION

SN: 45005-UP

1шт.

7

09652-00101

PLATE, CAUTION

SN: 45005-UP

1шт.

8

09667-00000

PLATE, SAFETY

SN: 45005-UP

1шт.

9

09690-00355

PLATE, MARK

SN: 45005-UP

2шт.

10

09601-00835

PLATE, NAME

SN: 45005-UP

1шт.

10

04418-13060

SCREW

SN: 45005-UP

4шт.

11

09691-02212

PLATE, MARK

SN: 45005-UP

2шт.

12

09692-02212

PLATE, MARK

SN: 45005-UP

1шт.

13

09653-00000

PLATE, SAFETY

SN: 45005-UP

1шт.

14

09683-00060

PLATE, OPERATING

SN: 45005-UP

1шт.

15

09651-00000

PLATE, SAFETY

SN: 45005-UP

1шт.

16

09685-01116

PLATE, OPERATING

SN: 45005-UP

1шт.

17

103-98-21150

PLATE, CAUTION

SN: 45005-UP

1шт.

18

09685-01116

PLATE, OPERATING

SN: 45005-UP

1шт.

19

09657-00010

PLATE, SAFETY

SN: 45005-UP

1шт.

20

113-98-21180

PLATE, INSTRUCTION

SN: 45005-UP

1шт.

21

09656-00080

PLATE, INSTRUCTION

SN: 45005-UP

1шт.

22

09654-00000

PLATE, SAFETY

SN: 45005-UP

1шт.

23

09685-01016

PLATE, OPERATING

SN: 45005-UP

1шт.

24

09173-00000

PLATE, SAFETY

SN: 45005-UP

1шт.

Выбрано товаров: 25