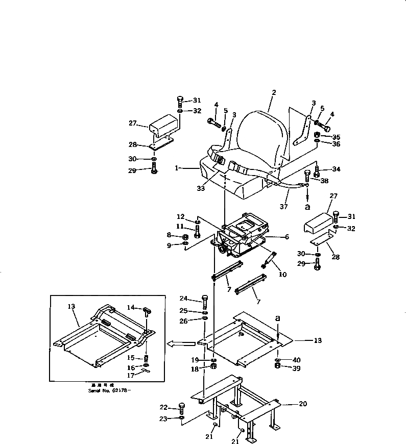
Запчасти Komatsu D21A-6 СИДЕНЬЕ ОПЕРАТОРА (С МАСЛ. ДЕМПФЕР) ЧАСТИ КОРПУСА

Схема запчастей Komatsu D21A-6 - СИДЕНЬЕ ОПЕРАТОРА (С МАСЛ. ДЕМПФЕР) ЧАСТИ КОРПУСА
FIT
1:1
100%

Артикул

Название

Примечание

Количество

1

103-57-31430

CUSHION,SEAT

SN: 60001-UP

1шт.

2

103-57-31420

CUSHION,BACK

SN: 60001-UP

1шт.

3

120-57-31461

PLATE

SN: 60001-UP

2шт.

4

01010-51020

BOLT

SN: 60001-UP

8шт.

5

01602-21030

WASHER,SPRING

SN: 60001-UP

8шт.

6

103-57-39130

SUSPENSION ASS'Y

SN: 60001-UP

1шт.

7

155-57-12150

ADJUSTER

SN: 60001-UP

2шт.

8

01580-11210

NUT

SN: 60001-UP

4шт.

9

01602-21236

WASHER,SPRING

SN: 60001-UP

4шт.

10

120-57-31411

DAMPER,OIL

SN: 60001-UP

1шт.

11

01010-51020

BOLT

SN: 60001-UP

4шт.

12

01602-21030

WASHER,SPRING

SN: 60001-UP

4шт.

13

103-57-31162

PLATE

SN: 65484-UP

1шт.

13

103-57-31161

PLATE

SN: 62178-65483

1шт.

13

113-54-24190

HINGE (WELDED)

SN: 62178-UP

2шт.

13

\4\103-57-31160

PLATE

SN: 60001-62177

1шт.

14

09459-11033

LOCK

SN: 62178-UP

1шт.

15

09459-01614

SPRING

SN: 62178-UP

1шт.

16

01642-01016

WASHER

SN: 62178-UP

1шт.

17

04050-13015

PIN,COTTER

SN: 62178-UP

1шт.

18

01580-11210

NUT

SN: 60001-UP

4шт.

19

01602-21236

WASHER,SPRING

SN: 60001-UP

4шт.

|$22

103-57-00120

FRAME ASS'Y

SN: 60001-UP

1шт.

20

0

FRAME

SN: 60001-UP

1шт.

21

09350-03020

BUSHING

SN: 60001-UP

2шт.

22

01010-51435

BOLT

SN: 60001-UP

4шт.

23

01602-21442

WASHER,SPRING

SN: 60001-UP

4шт.

24

01010-51025

BOLT

SN: 60001-UP

4шт.

25

01602-21030

WASHER,SPRING

SN: 60001-UP

4шт.

26

01643-31032

WASHER

SN: 60001-UP

4шт.

27

09402-00000

REST,ARM

SN: 60001-UP

2шт.

28

103-57-31131

PLATE

SN: 65861-UP

2шт.

28

103-57-31130

PLATE

SN: 60001-65860

2шт.

29

01010-50825

BOLT

SN: 60001-UP

4шт.

30

01602-20825

WASHER,SPRING

SN: 60001-UP

4шт.

31

01010-51020

BOLT

SN: 60001-UP

4шт.

32

01602-21030

WASHER,SPRING

SN: 60001-UP

4шт.

33

09409-10001

BELT, LAP

SN: 60001-UP

1шт.

34

09409-00001

BOLT

SN: 60001-UP

2шт.

35

09409-00003

NUT

SN: 60001-UP

2шт.

36

09409-00002

WASHER,SPRING

SN: 60001-UP

2шт.

37

09409-20000

BELT, TETHER

SN: 60001-UP

2шт.

38

09409-00001

BOLT

SN: 60001-UP

1шт.

39

09409-00003

NUT

SN: 60001-UP

1шт.

40

09409-00002

WASHER,SPRING

SN: 60001-UP

1шт.

Выбрано товаров: 45