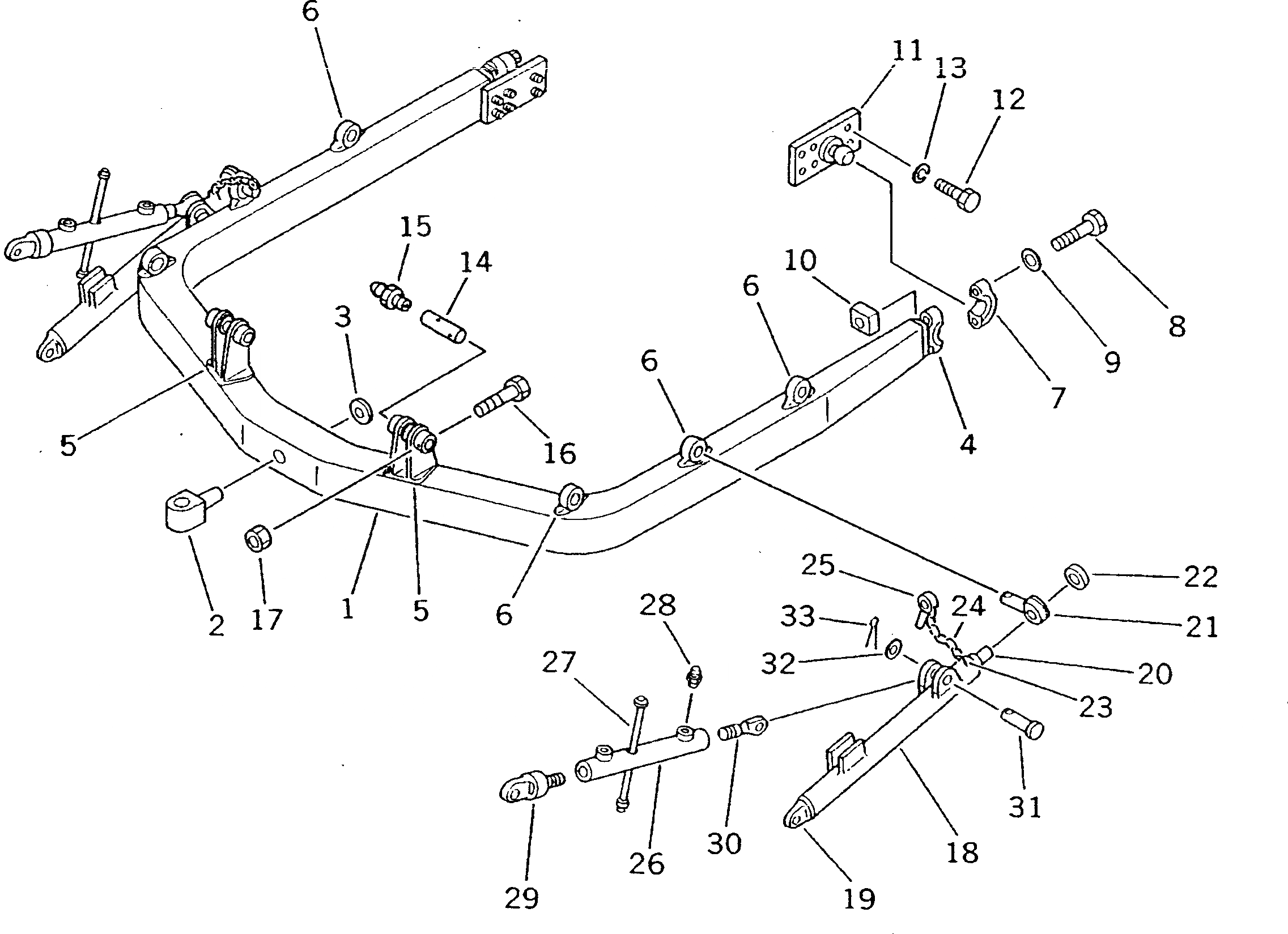
Запчасти Komatsu D21A-6 С-ОБРАЗН. РАМА РАБОЧЕЕ ОБОРУДОВАНИЕ

Схема запчастей Komatsu D21A-6 - С-ОБРАЗН. РАМА РАБОЧЕЕ ОБОРУДОВАНИЕ
FIT
1:1
100%

Артикул

Название

Примечание

Количество

|$0

104-Y40-2100

C-FRAME ASS'Y

SN: 60001-UP

1шт.

1

0

C-FRAME

SN: 60001-UP

1шт.

2

101-71-12140

PIN (WELDED)

SN: 60001-UP

1шт.

3

101-71-12150

COLLAR (WELDED)

SN: 60001-UP

1шт.

4

0

BEARING,(WELDED) (KIT)

SN: 60001-UP

2шт.

5

104-Y40-2120

BRACKET,L.H. (WELDED)

SN: 60001-UP

1шт.

5

104-Y40-2130

BRACKET,R.H. (WELDED)

SN: 60001-UP

1шт.

6

101-71-12120

BRACKET,L.H. (WELDED)

SN: 60001-UP

3шт.

6

101-71-12130

BRACKET,R.H. (WELDED)

SN: 60001-UP

3шт.

7

100-93-21170

CAP (KIT)

SN: 60001-UP

2шт.

8

01011-52015

BOLT (KIT)

SN: 60001-UP

4шт.

9

01643-32060

WASHER (KIT)

SN: 60001-UP

4шт.

10

101-904-1240

NUT (KIT)

SN: 60001-UP

4шт.

11

104-Z40-3110

TRUNNION

SN: 60001-UP

2шт.

12

01010-51445

BOLT

SN: 60001-UP

12шт.

13

01602-21442

WASHER,SPRING

SN: 60001-UP

12шт.

14

10G-71-22350

SHAFT

SN: 60001-UP

2шт.

15

07020-00000

FITTING,GREASE

SN: 60001-UP

2шт.

16

01010-50855

BOLT

SN: 60001-UP

2шт.

17

01598-00809

NUT

SN: 60001-UP

2шт.

18

101-71-12190

ARM,ANGLE

SN: 60001-UP

2шт.

19

101-71-12420

BOSS (WELDED)

SN: 60001-UP

1шт.

20

101-71-12220

BOSS (WELDED)

SN: 60001-UP

1шт.

21

101-71-12210

PIN

SN: 60001-UP

1шт.

22

101-71-12230

COLLAR

SN: 60001-UP

1шт.

23

09245-50060

HOOK (WELDED)

SN: 60001-UP

2шт.

24

09245-04815

CHAIN

SN: 60001-UP

1шт.

25

101-71-12410

PIN

SN: 60001-UP

1шт.

26

101-71-31171

BRACE,TILT

SN: 60001-UP

2шт.

27

101-71-12250

LEVER

SN: 60001-UP

1шт.

28

07020-00000

FITTING,GREASE

SN: 60001-UP

4шт.

29

101-71-31151

SCREW

SN: 60001-UP

2шт.

30

101-71-31160

SCREW

SN: 60001-UP

2шт.

31

101-71-12260

PIN

SN: 60001-UP

6шт.

32

01640-22845

WASHER

SN: 60001-UP

6шт.

33

04050-06045

PIN,COTTER

SN: 60001-UP

6шт.

|$$37

SERVICE KIT

-1шт.

4

101-71-00072

PIVOT ASS'Y

SN: 60001-UP

2шт.

4

0

BEARING

SN: 60001-UP

1шт.

7

100-93-21170

CAP

SN: 60001-UP

1шт.

8

01011-52015

BOLT

SN: 60001-UP

2шт.

9

01643-32060

WASHER

SN: 60001-UP

2шт.

10

101-904-1240

NUT

SN: 60001-UP

2шт.

Выбрано товаров: 43