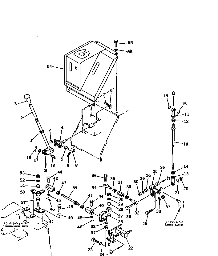
Запчасти Komatsu D21A-6 РЫЧАГ УПРАВЛ-Я ТРАНСМИССИЕЙ (ДЛЯ F-R) СИСТЕМА УПРАВЛЕНИЯ

Схема запчастей Komatsu D21A-6 - РЫЧАГ УПРАВЛ-Я ТРАНСМИССИЕЙ (ДЛЯ F-R) СИСТЕМА УПРАВЛЕНИЯ
FIT
1:1
100%

Артикул

Название

Примечание

Количество

1

103-43-34110

LEVER

SN: 60001-UP

1шт.

2

104-43-24130

BUSHING

SN: 60001-UP

1шт.

3

113-43-23420

KNOB

SN: 60001-UP

1шт.

|$3

103-43-00490

YOKE ASS'Y

SN: 60001-UP

1шт.

4

0

YOKE

SN: 60001-UP

1шт.

5

203-43-31420

BUSHING

SN: 60001-UP

2шт.

6

103-43-34550

LEVER

SN: 60001-UP

1шт.

7

04025-00320

PIN,SPRING

SN: 60001-UP

1шт.

8

103-43-36140

PIN

SN: 60001-UP

1шт.

9

04025-00324

PIN,SPRING

SN: 60001-UP

1шт.

10

04248-30834

ROD

SN: 60001-UP

1шт.

11

04250-80847

END,ROD

SN: 60001-UP

1шт.

12

01580-10806

NUT

SN: 60001-UP

1шт.

13

04250-90847

END,ROD, L.H. THREAD

SN: 60001-UP

1шт.

14

01508-40805

NUT,L.H. THREAD

SN: 63764-UP

1шт.

14

0

NUT,L.H. THREAD

SN: 60001-63763

1шт.

15

04254-00823

SPACER

SN: 60001-UP

2шт.

16

04205-10835

PIN

SN: 60001-UP

1шт.

17

01641-20812

WASHER

SN: 60001-UP

1шт.

18

04050-12015

PIN,COTTER

SN: 60001-UP

1шт.

19

01010-50830

BOLT

SN: 60001-UP

1шт.

20

01580-10806

NUT

SN: 60001-UP

1шт.

21

01602-20825

WASHER,SPRING

SN: 60001-UP

1шт.

22

103-43-34410

BRACKET

SN: 60001-UP

1шт.

23

01010-51025

BOLT

SN: 60001-UP

2шт.

24

01602-21030

WASHER,SPRING

SN: 60001-UP

2шт.

|$26

103-43-00510

LEVER ASS'Y

SN: 60001-UP

1шт.

25

0

LEVER

SN: 60001-UP

1шт.

26

203-43-31420

BUSHING

SN: 60001-UP

2шт.

|$29

103-43-00520

LEVER ASS'Y

SN: 60001-UP

1шт.

27

0

LEVER

SN: 60001-UP

1шт.

28

203-43-31420

BUSHING

SN: 60001-UP

2шт.

29

22W-43-17330

WASHER

SN: 60001-UP

2шт.

30

01598-00809

NUT

SN: 60001-UP

2шт.

31

103-43-34440

BUCKLE,TURN

SN: 60001-UP

1шт.

32

04252-20853

END,ROD

SN: 60001-UP

1шт.

33

01580-10806

NUT

SN: 60001-UP

1шт.

34

04252-30853

END,ROD, L.H. THREAD

SN: 60001-UP

1шт.

35

01508-40805

NUT,L.H. THREAD

SN: 63764-UP

1шт.

35

0

NUT,L.H. THREAD

SN: 60001-63763

1шт.

36

01010-50830

BOLT

SN: 60001-UP

2шт.

37

01580-10806

NUT

SN: 60001-UP

2шт.

38

01602-20825

WASHER,SPRING

SN: 60001-UP

2шт.

39

04248-30810

ROD,(D21A)

SN: 60001-UP

1шт.

39

04248-30809

ROD,(D21E)

SN: 60001-UP

1шт.

40

04211-20844

YOKE

SN: 60001-UP

1шт.

41

01580-10806

NUT

SN: 60001-UP

1шт.

42

04221-20844

YOKE,L.H. THREAD

SN: 60001-UP

1шт.

43

01508-40805

NUT,L.H. THREAD

SN: 63764-UP

1шт.

43

0

NUT,L.H. THREAD

SN: 60001-63763

1шт.

44

04205-10825

PIN

SN: 60001-UP

2шт.

45

01641-20812

WASHER

SN: 60001-UP

2шт.

46

04050-12015

PIN,COTTER

SN: 60001-UP

2шт.

47

103-43-34470

SHAFT

SN: 60001-UP

1шт.

48

01010-51025

BOLT

SN: 60001-UP

2шт.

49

01602-21030

WASHER,SPRING

SN: 60001-UP

2шт.

|$56

103-43-00530

LEVER ASS'Y

SN: 60001-UP

1шт.

50

0

LEVER

SN: 60001-UP

1шт.

51

203-43-31420

BUSHING

SN: 60001-UP

2шт.

52

22W-43-17330

WASHER

SN: 60001-UP

1шт.

53

01598-00809

NUT

SN: 60001-UP

1шт.

54

103-43-34510

COVER

SN: 60001-UP

1шт.

55

01010-51025

BOLT

SN: 60001-UP

2шт.

56

01643-31032

WASHER

SN: 60001-UP

2шт.

Выбрано товаров: 64