Запчасти Komatsu D21A-7-M РАБОЧЕЕ ОБОРУДОВАНИЕ УПРАВЛ-Е (РЫЧАГ¤ /) (ДЛЯ ПОВОРОТНОГО ОТВАЛА) КАБИНА ОПЕРАТОРА И СИСТЕМА УПРАВЛЕНИЯ

Схема запчастей Komatsu D21A-7-M - РАБОЧЕЕ ОБОРУДОВАНИЕ УПРАВЛ-Е (РЫЧАГ¤ /) (ДЛЯ ПОВОРОТНОГО ОТВАЛА) КАБИНА ОПЕРАТОРА И СИСТЕМА УПРАВЛЕНИЯ
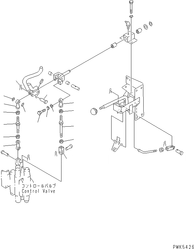
1
2
3
4
5
6
7
8
9
10
11
12
12
13
14
15
16
FIT
1:1
100%

Артикул

Название

Примечание

Количество

1

04248-30813

ROD

SN: 78604-UP

1шт.

2

04250-80847

END,ROD

SN: 78604-UP

1шт.

3

01580-10806

NUT

SN: 78604-UP

1шт.

4

01010-80830

BOLT

SN: 78604-UP

1шт.

5

01602-20825

WASHER,SPRING

SN: 78604-UP

1шт.

6

01641-20812

WASHER

SN: 78604-UP

1шт.

7

1B0-43-16130

YOKE,L.H. THREAD

SN: 78604-UP

1шт.

8

01508-40805

NUT,L.H. THREAD

SN: 78604-UP

1шт.

9

04248-30810

ROD

SN: 78604-UP

1шт.

10

04250-80847

END,ROD

SN: 78604-UP

1шт.

11

01580-10806

NUT

SN: 78604-UP

1шт.

12

04254-00823

SPACER

SN: 78604-UP

2шт.

13

04205-10832

PIN

SN: 78604-UP

1шт.

14

04050-12015

PIN,COTTER

SN: 78604-UP

1шт.

15

04250-90847

END,ROD¤ L.H. THREAD

SN: 78604-UP

1шт.

16

01508-40805

NUT,L.H. THREAD

SN: 78604-UP

1шт.

Выбрано товаров: 0